服务热线
180-5003-0233

1.本实用新型涉及薄膜分切机技术领域,尤其涉及一种修正带分切机收卷轴旋转驱动装置。
背景技术:
2.薄膜分切机用于对大尺寸的薄膜状产品分切成小尺寸的产品,薄膜状产品有诸如:卷纸、包装膜、胶带、修正带、塑料薄膜、橡胶膜、无纺布、皮具等等,薄膜分切机广泛应用于造纸、包装、印刷、胶带、塑料薄膜、橡胶制品、化纤无纺布、皮具等行业。修正带分切机便是薄膜分切机的一种。
3.薄膜分切机都具有一个用于放置大尺寸产品的中心转轴以及用于收纳小尺寸的收卷轴,中心转轴和收卷轴都需要转动,从而可以保证收卷的正常进行。行业内的传统分切机,对于收卷轴驱动与传动如下不足:1、采用磁粉离合器与减速电机组合,响应滞后,结构复杂;2、齿轮啮合,存在打齿、卡死现象,噪音大,易损坏。
4.因此,现有技术存在缺陷,需要改进。
技术实现要素:
5.本实用新型要解决的技术问题是:提供一种修正带分切机收卷轴旋转驱动装置,降低结构复杂度,及时响应,减少打齿、卡死的现象,降低噪音,减少损坏的概率。
6.本实用新型的技术方案如下:提供一种修正带分切机收卷轴旋转驱动装置,包括:收卷轴,支撑板,安装在所述支撑板上的气缸,与所述气缸的输出端连接的移动件,分别安装在所述移动件上的轴承、电机,穿在所述轴承上的驱动杆,与所述驱动杆连接的主动摩擦轮;所述电机的输出轴与所述驱动杆连接,所述收卷轴的一端为被动摩擦轮,所述主动摩擦轮与所述被动摩擦轮配合。
7.当收卷轴需要转动时,气缸的输出端推动移动件,也即带动轴承、电机、驱动杆移动,使得主动摩擦轮与被动摩擦轮啮合,电机运行,带动驱动杆转动,由于驱动杆与所述主动摩擦轮连接,主动摩擦轮也会转动,从而可以实现主动摩擦轮带动被动摩擦轮转动,也即实现了收卷轴转动。
8.当需要收卷轴停止转动时,先停止电机工作,待收卷轴完全停止后,然后气缸将输出端拉回,移动件以及移动件上的轴承、电机、驱动杆也便拉回,使得主动摩擦盘与所述被动摩擦盘脱离接触,便实现了收卷轴停止转动,方便取出收卷轴。在本方案中,传动结构十分简单,能够及时响应,采用主动摩擦盘与被动摩擦盘配合的方式,有效减少了打齿、卡死现象,噪音小,不易损坏。
9.进一步地,修正带分切机收卷轴旋转驱动装置还包括:联轴器,所述电机的输出轴通过联轴器与驱动杆连接。所述联轴器用于连接驱动杆与电机的输出轴。
10.进一步地,修正带分切机收卷轴旋转驱动装置还包括:与所述移动件的前端连接的第一阻尼件,安装在卷轴板上的第二阻尼件,所述第一阻尼件与所述第二阻尼件配合,所
述收卷轴放置在所述卷轴板上;所述第一阻尼件为阻尼板,所述第二阻尼件包括:阻尼安装件、活动阻尼、弹簧、转轴,所述转轴穿过所述阻尼安装件和活动阻尼,所述弹簧的两端分别与所述活动阻尼的一端、阻尼安装件抵接;所述活动阻尼的另一端朝向所述被动摩擦轮,所述阻尼板朝向活动阻尼中未接触弹簧的一端。在阻尼板未接触到活动阻尼时,活动阻尼的一端在弹簧的作用下会抵接被动摩擦轮,此时,限制收卷轴轻易转动。在主动摩擦轮与被动摩擦轮啮合后,阻尼板将抵接活动阻尼,将活动阻尼与被动摩擦轮的抵接推开,从而可以方便收卷轴自由转动。
11.进一步地,修正带分切机收卷轴旋转驱动装置还包括:安装在支撑板上的支架,所述移动件通过导向结构安装在所述支架上。所述导向结构为滑块和导轨,所述移动件安装在滑块上,所述导轨安装在支架上。滑块与导轨的配合,可以方便气缸推动移动件。
12.进一步地,所述气缸通过气缸安装件安装在支撑板上,所述支架和气缸安装件分别安装在支撑板的两侧,所述支撑板设置有工作孔,所述联轴器穿过所述工作孔。
13.采用上述方案,本实用新型提供一种修正带分切机收卷轴旋转驱动装置,当收卷轴需要转动时,气缸的输出端推动移动件,也即带动轴承、电机、驱动杆移动,使得主动摩擦轮与被动摩擦轮啮合,电机运行,带动驱动杆转动,由于驱动杆与所述主动摩擦轮连接,主动摩擦轮也会转动,从而可以实现主动摩擦轮带动被动摩擦轮转动,也即实现了收卷轴转动。当需要收卷轴停止转动时,先停止电机工作,待收卷轴完全停止后,然后气缸将输出端拉回,移动件以及移动件上的轴承、电机、驱动杆也便拉回,使得主动摩擦盘与所述被动摩擦盘脱离接触,便实现了收卷轴停止转动,方便取出收卷轴。在本方案中,传动结构十分简单,能够及时响应,采用主动摩擦盘与被动摩擦盘配合的方式,有效减少了打齿、卡死现象,噪音小,不易损坏。
附图说明
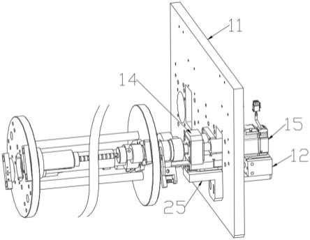
14.图1为本实用新型的一实施例的结构示意图;
15.图2为气缸、轴承、驱动杆、移动件、主动摩擦轮的结构示意图;
16.图3为收卷轴的结构示意图;
17.图4为第一阻尼件、第二阻尼件抵接时的状态图。
具体实施方式
18.以下结合附图和具体实施例,对本实用新型进行详细说明。
19.请参阅图1-图4,本实施例提供一种修正带分切机收卷轴旋转驱动装置,包括:收卷轴10,支撑板11,安装在所述支撑板11上的气缸12,与所述气缸12的输出端连接的移动件13,分别安装在所述移动件13上的轴承14、电机15,穿在所述轴承14上的驱动杆16,与所述驱动杆16连接的主动摩擦轮17;所述电机15的输出轴与所述驱动杆16连接,所述收卷轴10的一端为被动摩擦轮18,所述主动摩擦轮17与所述被动摩擦轮18配合。
20.当收卷轴10需要转动时,气缸12的输出端推动移动件13,也即带动轴承14、电机15、驱动杆16移动,使得主动摩擦轮17与被动摩擦轮18啮合,电机15运行,带动驱动杆16转动,由于驱动杆16与所述主动摩擦轮17连接,主动摩擦轮17也会转动,从而可以实现主动摩擦轮17带动被动摩擦轮18转动,也即实现了收卷轴10转动。
21.当需要收卷轴10停止转动时,先停止电机15工作,待收卷轴10完全停止后,然后气缸12将输出端拉回,移动件13以及移动件13上的轴承14、电机15、驱动杆16也便拉回,使得主动摩擦盘与所述被动摩擦盘脱离接触,便实现了收卷轴10停止转动,方便取出收卷轴10。在本方案中,传动结构十分简单,能够及时响应,采用主动摩擦盘与被动摩擦盘配合的方式,有效减少了打齿、卡死现象,噪音小,不易损坏。
22.在本实施例中,修正带分切机收卷轴旋转驱动装置还包括:联轴器19,所述电机15的输出轴通过联轴器19与驱动杆16连接。所述联轴器19用于连接驱动杆16与电机15的输出轴。
23.在本实施例中,修正带分切机收卷轴旋转驱动装置还包括:与所述移动件13的前端连接的第一阻尼件20,安装在卷轴板上的第二阻尼件,所述第一阻尼件20与所述第二阻尼件配合,所述收卷轴10放置在所述卷轴板30上;所述第一阻尼件20为阻尼板,所述第二阻尼件包括:阻尼安装件21、活动阻尼22、弹簧23、转轴24,所述转轴24穿过所述阻尼安装件21和活动阻尼22,所述弹簧23的两端分别与所述活动阻尼22的一端、阻尼安装件21抵接;所述活动阻尼22的另一端朝向所述被动摩擦轮18,所述阻尼板朝向活动阻尼22中未接触弹簧23的一端。在阻尼板未接触到活动阻尼22时,活动阻尼22的一端在弹簧23的作用下会抵接被动摩擦轮18,此时,限制收卷轴10轻易转动。在主动摩擦轮17与被动摩擦轮18啮合后,阻尼板将抵接活动阻尼22,将活动阻尼22与被动摩擦轮18的抵接推开,从而可以方便收卷轴10自由转动。
24.在本实施例中,修正带分切机收卷轴旋转驱动装置还包括:安装在支撑板11上的支架25,所述移动件13通过导向结构安装在所述支架25上。所述导向结构为滑块26和导轨27,所述移动件13安装在滑块26上,所述导轨27安装在支架25上。滑块26与导轨27的配合,可以方便气缸12推动移动件13。
25.在本实施例中,所述气缸12通过气缸安装件28安装在支撑板11上,所述支架25和气缸安装件28分别安装在支撑板11的两侧,所述支撑板11设置有工作孔,所述联轴器19穿过所述工作孔。
26.采用上述方案,本实用新型提供一种修正带分切机收卷轴旋转驱动装置,当收卷轴需要转动时,气缸的输出端推动移动件,也即带动轴承、电机、驱动杆移动,使得主动摩擦轮与被动摩擦轮啮合,电机运行,带动驱动杆转动,由于驱动杆与所述主动摩擦轮连接,主动摩擦轮也会转动,从而可以实现主动摩擦轮带动被动摩擦轮转动,也即实现了收卷轴转动。当需要收卷轴停止转动时,先停止电机工作,待收卷轴完全停止后,然后气缸将输出端拉回,移动件以及移动件上的轴承、电机、驱动杆也便拉回,使得主动摩擦盘与所述被动摩擦盘脱离接触,便实现了收卷轴停止转动,方便取出收卷轴。在本方案中,传动结构十分简单,能够及时响应,采用主动摩擦盘与被动摩擦盘配合的方式,有效减少了打齿、卡死现象,噪音小,不易损坏。
27.以上仅为本实用新型的较佳实施例而已,并不用于限制本实用新型,凡在本实用新型的精神和原则之内所作的任何修改、等同替换和改进等,均应包含在本实用新型的保护范围之内。
技术特征:
1.一种修正带分切机收卷轴旋转驱动装置,其特征在于,包括:收卷轴,支撑板,安装在所述支撑板上的气缸,与所述气缸的输出端连接的移动件,分别安装在所述移动件上的轴承、电机,穿在所述轴承上的驱动杆,与所述驱动杆连接的主动摩擦轮;所述电机的输出轴与所述驱动杆连接,所述收卷轴的一端为被动摩擦轮,所述主动摩擦轮与所述被动摩擦轮配合。2.根据权利要求1所述的一种修正带分切机收卷轴旋转驱动装置,其特征在于,还包括:联轴器,所述电机的输出轴通过联轴器与驱动杆连接。3.根据权利要求1所述的一种修正带分切机收卷轴旋转驱动装置,其特征在于,还包括:与所述移动件的前端连接的第一阻尼件,安装在卷轴板上的第二阻尼件,所述第一阻尼件与所述第二阻尼件配合,所述收卷轴放置在所述卷轴板上;所述第一阻尼件为阻尼板,所述第二阻尼件包括:阻尼安装件、活动阻尼、弹簧、转轴,所述转轴穿过所述阻尼安装件和活动阻尼,所述弹簧的两端分别与所述活动阻尼的一端、阻尼安装件抵接;所述活动阻尼的另一端朝向所述被动摩擦轮,所述阻尼板朝向活动阻尼中未接触弹簧的一端。4.根据权利要求2所述的一种修正带分切机收卷轴旋转驱动装置,其特征在于,还包括:安装在支撑板上的支架,所述移动件通过导向结构安装在所述支架上。5.根据权利要求4所述的一种修正带分切机收卷轴旋转驱动装置,其特征在于,所述导向结构为滑块和导轨,所述移动件安装在滑块上,所述导轨安装在支架上。6.根据权利要求4所述的一种修正带分切机收卷轴旋转驱动装置,其特征在于,所述气缸通过气缸安装件安装在支撑板上,所述支架和气缸安装件分别安装在支撑板的两侧,所述支撑板设置有工作孔,所述联轴器穿过所述工作孔。
技术总结
本实用新型公开一种修正带分切机收卷轴旋转驱动装置,包括:收卷轴,支撑板,安装在所述支撑板上的气缸,与所述气缸的输出端连接的移动件,分别安装在所述移动件上的轴承、电机,穿在所述轴承上的驱动杆,与所述驱动杆连接的主动摩擦轮;所述电机的输出轴与所述驱动杆连接,所述收卷轴的一端为被动摩擦轮,所述主动摩擦轮与所述被动摩擦轮配合。本实用新型的传动结构十分简单,能够及时响应,采用主动摩擦盘与被动摩擦盘配合的方式,有效减少了打齿、卡死现象,噪音小,不易损坏。不易损坏。不易损坏。
技术研发人员:张景宏
受保护的技术使用者:深圳市英诺维信自动化设备有限公司
技术研发日:2022.12.05
技术公布日:2023/3/21