服务热线
180-5003-0233

本实用新型涉及除尘装置技术领域,具体为一种锂电池分切机极片除尘装置。
背景技术:
锂电池大致可分为两类:锂金属电池和锂离子电池。锂离子电池不含有金属态的锂,并且是可以充电的。可充电电池的第五代产品锂金属电池在1996年诞生,其安全性、比容量、自放电率和性能价格比均优于锂离子电池。由于其自身的高技术要求限制,现在只有少数几个国家的公司在生产这种锂金属电池,一般在锂电池的生产制作中,需要用到极片。
现有的锂离子极片分切过程中,极片表面易产生粉尘、铜屑、铝屑等异物,降低了锂离子电池极片表面的洁净度,制造电池成本高,为了能够提高锂电池极片表面的清洁程度,因此需要一种锂电池分切机极片除尘装置对上述问题做出改善。
技术实现要素:
本实用新型的目的在于提供一种锂电池分切机极片除尘装置,以解决上述背景技术中提出的问题。
为实现上述目的,本实用新型提供如下技术方案:
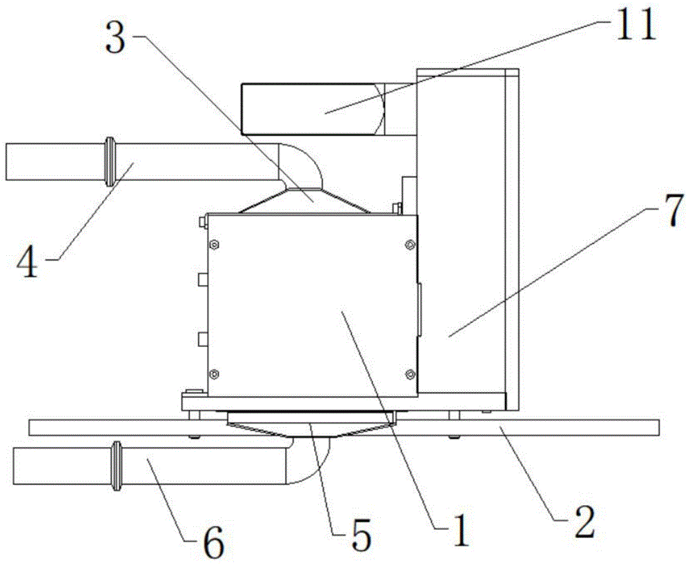
一种锂电池分切机极片除尘装置,包括除尘箱,所述除尘箱的下侧固定设置有安装底座,所述除尘箱的上侧中间处固定设置有第一吸尘盒,所述第一吸尘盒的上侧中间处固定设置有第一吸尘管道,所述除尘箱的下侧中间处固定设置有第二吸尘盒,所述第二吸尘盒的下侧中间处固定设置有第二吸尘管道,所述除尘箱的右侧固定设置有工作箱,所述除尘箱的左侧正面的上侧固定设置有第一可调节轴承,所述除尘箱的左侧正面位于第一可调节轴承的下侧固定设置有第二可调节轴承,所述除尘箱的左侧正面位于第一可调节轴承和第二可调节轴承之间开设有观察缺口,所述工作箱的上侧固定设置有驱动电机,所述驱动电机的右侧中间处设置有电机主轴,所述电机主轴的右侧固定设置有第一皮带轮,所述工作箱的内部与除尘箱的连接处设置有固定支撑板,所述固定支撑板的正面右侧设置有第一转轴,所述第一转轴的右侧固定设置有第二皮带轮,所述第一转轴位于第二皮带轮的左侧固定设置有第三皮带轮,所述固定支撑板位于第一转轴的下侧固定设置有第二转轴,所述第二转轴的右侧固定设置有第四皮带轮,所述第二转轴位于第四皮带轮的左侧固定设置有第五皮带轮,所述除尘箱的内部通过第一可调节轴承连接有第一除尘毛刷,所述除尘箱的内部通过第二可调节轴承连接有第二除尘毛刷,所述第一除尘毛刷通过第一固定轴与第一可调节轴承连接,所述第二除尘毛刷通过第二固定轴与第二可调节轴承连接,所述第一固定轴的右侧固定设置有第六皮带轮,所述第二固定轴的右侧固定设置有第七皮带轮,所述第一除尘毛刷与第二除尘毛刷的上侧固定设置有输送板。
优选的,所述输送板通过固定螺钉与除尘箱连接。
优选的,所述第一可调节轴承和第二可调节轴承均左右对称设置。
优选的,所述驱动电机采用ye2-315s-4b3规格型号。
优选的,所述第一皮带轮通过长驱动皮带与第四皮带轮套接,并且长驱动皮带的外壁与第二皮带轮相切连接。
优选的,所述第三皮带轮与第六皮带轮、第五皮带轮与第七皮带轮均通过短驱动皮带套接。
优选的,所述第一除尘毛刷与第二除尘毛刷呈圆柱体结构设置。
与现有技术相比,本实用新型的有益效果是:
1、本实用新型中,通过设置的该装置能够对极片表面产生的粉尘、铜屑、铝屑等异物,进行清理,能够提高锂离子电池极片表面的洁净度和降低制造电池成本高,大大提高锂电池极片表面的清洁程度和清洁的效率。
附图说明
图1为本实用新型整体主视图;
图2为本实用新型整体左侧视图;
图3为本实用新型整体结构图;
图4为本实用新型整体右侧视结构图。
图中:1-除尘箱、2-安装底座、3-第一吸尘盒、4-第一吸尘管道、5-第二吸尘盒、6-第二吸尘管道、7-工作箱、8-第一可调节轴承、9-第二可调节轴承、10-观察缺口、11-驱动电机、12-电机主轴、13-第一皮带轮、14-固定支撑板、15-第一转轴、16-第二皮带轮、17-第三皮带轮、18-第二转轴、19-第四皮带轮、20-第五皮带轮、21-第一除尘毛刷、22-第二除尘毛刷、23-第一固定轴、24-第二固定轴、25-第六皮带轮、26-第七皮带轮、27-输送板。
具体实施方式
下面将结合本实用新型实施例中的附图,对本实用新型实施例中的技术方案进行清楚、完整地描述,显然,所描述的实施例仅仅是本实用新型一部分实施例,而不是全部的实施例,基于本实用新型中的实施例,本领域普通技术人员在没有做出创造性劳动前提下所获得的所有其他实施例,都属于本实用新型保护的范围。
请参阅图1-4,本实用新型提供一种技术方案:
一种锂电池分切机极片除尘装置,包括除尘箱1,除尘箱1的下侧固定设置有安装底座2,除尘箱1的上侧中间处固定设置有第一吸尘盒3,第一吸尘盒3的上侧中间处固定设置有第一吸尘管道4,除尘箱1的下侧中间处固定设置有第二吸尘盒5,第二吸尘盒5的下侧中间处固定设置有第二吸尘管道6,除尘箱1的右侧固定设置有工作箱7,除尘箱1的左侧正面的上侧固定设置有第一可调节轴承8,除尘箱1的左侧正面位于第一可调节轴承8的下侧固定设置有第二可调节轴承9,除尘箱1的左侧正面位于第一可调节轴承8和第二可调节轴承9之间开设有观察缺口10,工作箱7的上侧固定设置有驱动电机11,驱动电机11的右侧中间处设置有电机主轴12,电机主轴12的右侧固定设置有第一皮带轮13,工作箱7的内部与除尘箱1的连接处设置有固定支撑板14,固定支撑板14的正面右侧设置有第一转轴15,第一转轴15的右侧固定设置有第二皮带轮16,第一转轴15位于第二皮带轮16的左侧固定设置有第三皮带轮17,固定支撑板14位于第一转轴15的下侧固定设置有第二转轴18,第二转轴18的右侧固定设置有第四皮带轮19,第二转轴18位于第四皮带轮19的左侧固定设置有第五皮带轮20,除尘箱1的内部通过第一可调节轴承8连接有第一除尘毛刷21,除尘箱1的内部通过第二可调节轴承9连接有第二除尘毛刷22,第一除尘毛刷21通过第一固定轴23与第一可调节轴承8连接,第二除尘毛刷22通过第二固定轴24与第二可调节轴承9连接,第一固定轴23的右侧固定设置有第六皮带轮25,第二固定轴24的右侧固定设置有第七皮带轮26,第一除尘毛刷21与第二除尘毛刷22的上侧固定设置有输送板27,通过设置的该装置能够对极片表面产生的粉尘、铜屑、铝屑等异物,进行清理,能够提高锂离子电池极片表面的洁净度和降低制造电池成本高,大大提高锂电池极片表面的清洁程度和清洁的效率。
本实用新型工作流程:使用时,通过第一吸尘管道4和第二吸尘管道6连接外部吸尘装置,通过第一可调节轴承8和第二可调节轴承9对第一除尘毛刷21和第二除尘毛刷22进行位置调节,通过观察缺口10进行观察,通过驱动电机12带动第一皮带轮13转动,第一皮带轮13通过长驱动皮带带动第二皮带轮16和第四皮带轮19进行转动,第三皮带轮17和第五皮带轮20在第二皮带轮16和第四皮带轮19的作用下进行转动,第三皮带轮17和第五皮带轮20通过短驱动皮带分别别带动第六皮带轮25和第七皮带轮26转动,锂电池极片在输送版27上通过,通过第六皮带轮25和第七皮带轮26转动带动第一固定轴23和第二固定轴24进行转动,第一除尘毛刷21和第二除尘毛刷22转动进行除尘,通过第一吸尘管道4和第二吸尘管道6连接外部吸尘装置进行收集,通过设置的该装置能够对极片表面产生的粉尘、铜屑、铝屑等异物,进行清理,能够提高锂离子电池极片表面的洁净度和降低制造电池成本高,大大提高锂电池极片表面的清洁程度和清洁的效率。
尽管已经示出和描述了本实用新型的实施例,对于本领域的普通技术人员而言,可以理解在不脱离本实用新型的原理和精神的情况下可以对这些实施例进行多种变化、修改、替换和变型,本实用新型的范围由所附权利要求及其等同物限定。
技术特征:
1.一种锂电池分切机极片除尘装置,包括除尘箱(1),其特征在于:所述除尘箱(1)的下侧固定设置有安装底座(2),所述除尘箱(1)的上侧中间处固定设置有第一吸尘盒(3),所述第一吸尘盒(3)的上侧中间处固定设置有第一吸尘管道(4),所述除尘箱(1)的下侧中间处固定设置有第二吸尘盒(5),所述第二吸尘盒(5)的下侧中间处固定设置有第二吸尘管道(6),所述除尘箱(1)的右侧固定设置有工作箱(7),所述除尘箱(1)的左侧正面的上侧固定设置有第一可调节轴承(8),所述除尘箱(1)的左侧正面位于第一可调节轴承(8)的下侧固定设置有第二可调节轴承(9),所述除尘箱(1)的左侧正面位于第一可调节轴承(8)和第二可调节轴承(9)之间开设有观察缺口(10),所述工作箱(7)的上侧固定设置有驱动电机(11),所述驱动电机(11)的右侧中间处设置有电机主轴(12),所述电机主轴(12)的右侧固定设置有第一皮带轮(13),所述工作箱(7)的内部与除尘箱(1)的连接处设置有固定支撑板(14),所述固定支撑板(14)的正面右侧设置有第一转轴(15),所述第一转轴(15)的右侧固定设置有第二皮带轮(16),所述第一转轴(15)位于第二皮带轮(16)的左侧固定设置有第三皮带轮(17),所述固定支撑板(14)位于第一转轴(15)的下侧固定设置有第二转轴(18),所述第二转轴(18)的右侧固定设置有第四皮带轮(19),所述第二转轴(18)位于第四皮带轮(19)的左侧固定设置有第五皮带轮(20),所述除尘箱(1)的内部通过第一可调节轴承(8)连接有第一除尘毛刷(21),所述除尘箱(1)的内部通过第二可调节轴承(9)连接有第二除尘毛刷(22),所述第一除尘毛刷(21)通过第一固定轴(23)与第一可调节轴承(8)连接,所述第二除尘毛刷(22)通过第二固定轴(24)与第二可调节轴承(9)连接,所述第一固定轴(23)的右侧固定设置有第六皮带轮(25),所述第二固定轴(24)的右侧固定设置有第七皮带轮(26),所述第一除尘毛刷(21)与第二除尘毛刷(22)的上侧固定设置有输送板(27)。
2.根据权利要求1所述的一种锂电池分切机极片除尘装置,其特征在于:所述输送板(27)通过固定螺钉与除尘箱(1)连接。
3.根据权利要求1所述的一种锂电池分切机极片除尘装置,其特征在于:所述第一可调节轴承(8)和第二可调节轴承(9)均左右对称设置。
4.根据权利要求1所述的一种锂电池分切机极片除尘装置,其特征在于:所述驱动电机(11)采用ye2-315s-4b3规格型号。
5.根据权利要求1所述的一种锂电池分切机极片除尘装置,其特征在于:所述第一皮带轮(13)通过长驱动皮带与第四皮带轮(19)套接,并且长驱动皮带的外壁与第二皮带轮(16)相切连接。
6.根据权利要求1所述的一种锂电池分切机极片除尘装置,其特征在于:所述第三皮带轮(17)与第六皮带轮(25)、第五皮带轮(20)与第七皮带轮(26)均通过短驱动皮带套接。
7.根据权利要求1所述的一种锂电池分切机极片除尘装置,其特征在于:所述第一除尘毛刷(21)与第二除尘毛刷(22)呈圆柱体结构设置。
技术总结
本实用新型涉及除尘装置技术领域,尤其为一种锂电池分切机极片除尘装置,包括除尘箱,所述第一吸尘盒的上侧中间处固定设置有第一吸尘管道,所述第二吸尘盒的下侧中间处固定设置有第二吸尘管道,所述除尘箱的右侧固定设置有工作箱,所述固定支撑板位于第一转轴下侧固定设置有第二转轴,所述第一除尘毛刷通过第一固定轴与第一可调节轴承连接,所述第二除尘毛刷通过第二固定轴与第二可调节轴承,所述第一除尘毛刷与第二除尘毛刷的上侧固定设置有输送板,通过设置的该装置能够对极片表面产生的粉尘、铜屑、铝屑等异物,进行清理,能够提高锂离子电池极片表面的洁净度和降低制造电池成本高,大大提高锂电池极片表面的清洁程度和清洁的效率。
技术研发人员:王兴荣
受保护的技术使用者:湖南鑫和美新能源科技有限公司
技术研发日:2019.05.06
技术公布日:2020.04.03