服务热线
180-5003-0233
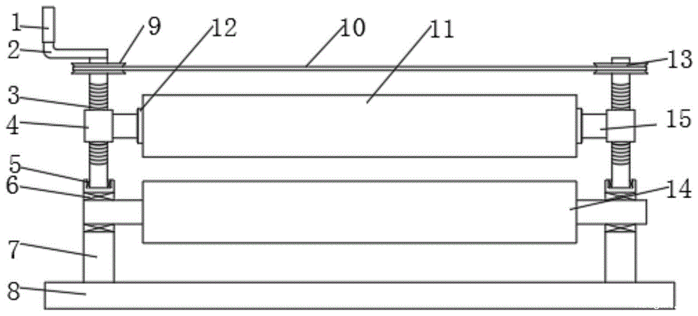
设计是集众多优秀复卷机的特点于一身,巧妙的结合起来,能大大提高生产效率,是普通复卷机的1.2倍。不管是任何型号的复卷机经过长期使用以后,都难免会出现一些小问题,给生产带来不便。只要我们注意好平时的保养,就能避免一些小问题的出现。

1、复卷机的传动装置,比如链条和齿轮要每过短时间加注黄油。
2、复卷机一般是打印刀容易断,所以平时我们在使用前一定要检查好。
3、复卷机的羊毛辊每当使用一年之后就会变细,我们要及时更换。
4、复卷机在电源不稳时,一定要立即断电,否则容易把电机烧坏。
5、多注意卫生,不要让杂物落在刚辊和毛辊之间。
平时只要做好以上几点,就能避免一些不必要的小问题,延长复卷机使用寿命。