行业新闻

当前位置:首页/新闻中心/行业新闻

分条机使用规范及操作说明

2023年07月07日分条设备浏览量:0

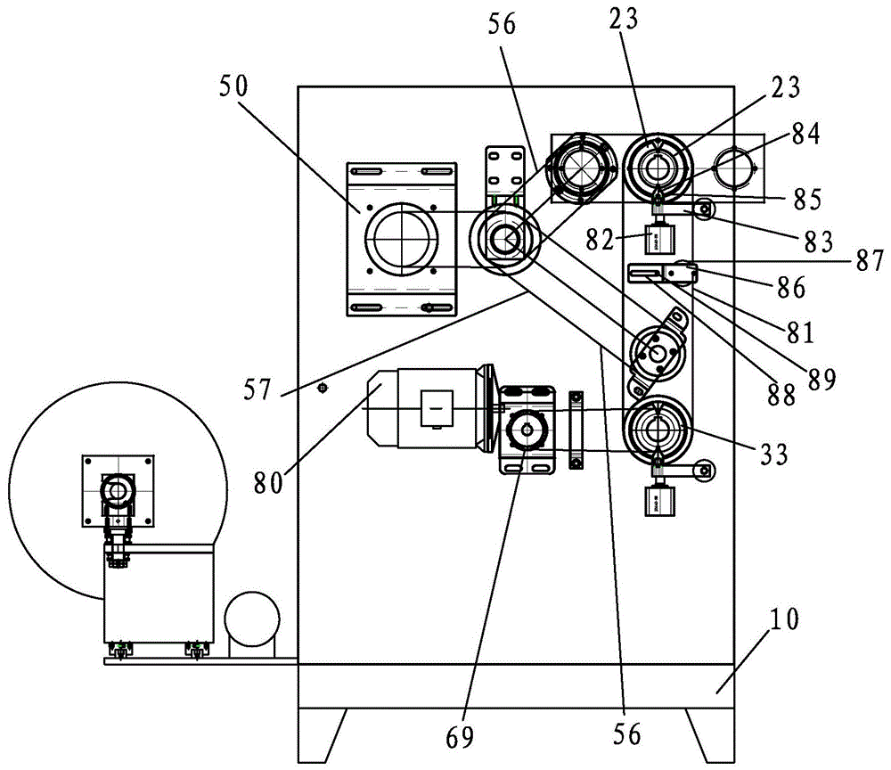
1、先将上刀折出,调整到所需要尺寸调整完后放回下刀,然后 将上刀调整按钮调整中间位置。

2、将上刀座轻放至适当位置锁紧固定把手,把上刀推至下刀靠住为止,然后锁紧,上刀再调整上刀压力旋钮使之有压力。

3、将要分条的材料放入送料轴并固定(松紧要适宜)将材料穿过传动轴,压轮,通过上下到,转动手转轮将之带出,同时可调整左右调整按钮使之准确,再贴至卷出轴至纸管,特别注意纸筒的规格一定要一致。

4、打开电源及计数器开关,将卷轴电压调至5V(正常保持在5v,也可根据,需要可适情况调节)

5、计量,按下清除键,使计数器归零,计量表上的P1为快速,P2为慢速,设定时P1比P2值少5,数值设定后,LED开始闪烁,大约3秒左右不再闪烁,表示设定完成。

6、起动分条按钮,调整分条速度旋钮。

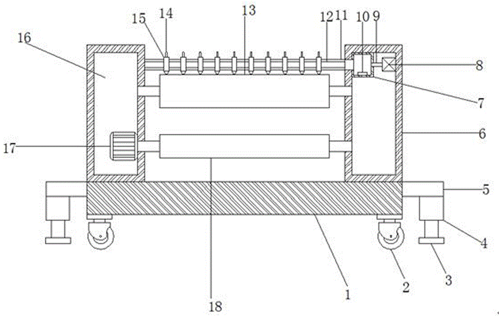
7、分条完毕后,及时清理上,下刀及传动轮上的残胶,保持设备的干净。

Baidu
ac米兰APP软件下载