
pvc膜主要成分为聚氯乙烯,为微黄色半透明状,有光泽。透明度胜于聚乙烯、聚丙烯,差于聚苯乙烯,随助剂用量不同,分为软、硬聚氯乙烯,软制品柔而韧,手感粘,硬制品的硬度高于低密度聚乙烯,而低于聚丙烯,在屈

本实用新型涉及一种复卷机,具体是一种复卷机底刀辊平辊装置。背景技术:复卷机一般用于云母带、纸张、薄膜的复卷分切,起到一切为二的作用,常用于将宽幅的卷材分切,更为后续的再次分切起到了重要的作用,是一种用

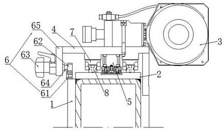
1.本实用新型涉及复卷机设备领域,特别是涉及一种复卷机的圆刀锁紧装置。背景技术:2.复卷机的运行是将纸幅由放纸纸卷沿导纸辊引入纵切机构,通过圆刀进行纵切。圆刀固定在移动托板上,在分切纸卷前,先要将移动

1.本实用新型涉及机械技术领域,具体为一种造纸机械的复卷机除尘装置。背景技术:2.复卷机一般用于:云母带、纸张、薄膜的复卷分切,起到一切为二的作用,常用于将宽幅的卷材分切,更为后续的再次分切起到了重要

在金属板材加工业中,分切机的应用主要是为了将大卷的或大尺寸的金属板材精确地切割成适合下游加工或最终使用的小尺寸板料。具体应用细节包括:定尺裁剪分切机可以对不锈钢板、冷轧钢板、热轧钢板、铝板等各类金属板

分切机是一种广泛应用于各种材料切割作业的设备,其应用领域多样且遍布多个行业。主要应用包括但不限于以下几个方面:造纸与印刷业:切割各类纸张、卡纸、纸板等,适用于印刷前对原纸进行尺寸裁切,满足不同印品规格

本申请属于复卷机,尤其涉及一种复卷机控制系统及复卷机控制系统的控制方法。背景技术:1、隔膜生产过程,需要对隔膜信息切分检测和复卷剔除,在进行复卷时,需要人工寻找复卷开始位置和结束位置,再人工操作复卷机

本实用新型用于纸张分切机或者复卷机制动张力系统的稳定控制技术领域,尤其涉及一种分切机张力稳定系统。背景技术:现在大部分纸厂使用的分切机或者复卷机一般采用可控硅控制磁粉张力器或者启动减压阀调节气压控制胶

1.本实用新型涉及薄材分切复卷设备的分切机构技术领域,尤其指一种应用于分切刀机构并能实现高质量、高精度、快速地安装分切圆刀片的刀轴。背景技术:2.分切复卷机是将金属箔(铝箔、铜箔和钢箔等箔材)、塑料薄

1.本实用新型涉及绝缘纸制造领域,尤其涉及一种双轴切换式复卷机。背景技术:2.绝缘纸是电绝缘用纸的总称, 用作电缆、线圈等各项电器设备的绝缘材料,具有良好的绝缘性能和机械强度。绝缘纸一般由多层纸质和薄