
【专利摘要】本发明公开了一种自动上料分切机,该自动上料分切机包括供料切断机构、取料搬运压装机构、工件输送机构和双道切断机构,所述供料切断机构固定在地面上,工件输送机构固定在供料切断机构上方,取料搬运压

专利名称:用于高速分切机张力调节的控制装置的制作方法技术领域:本实用新型涉及高速分切机技术领域,尤其是一种用于高速分切机张力调节的控制装置。背景技术:高速分切机是一种高效率,高精度的加工设备,目前在造

本技术涉及机械设备制造领域,具体涉及一种用于分切机上的收卷装置。背景技术:1、目前,很多卷状类的产品如透明胶带、生料带、运动胶带、打印机用的碳带、保险膜等产品,这些产品的原材料从厂家发出时皆为1米、2

1.本发明涉及薄膜卷径测量领域,特别涉及一种基于实时张力的高速收放卷设备的薄膜卷径计算方法。背景技术:2.收放卷设备,包括薄膜印刷、复卷、复合、分切、制袋等一系列设备产品,设备的加工生产效率、精度,关

本技术涉及铝箔加工的,特别是涉及一种分切机的张力控制机构。背景技术:1、铝箔分切机主要是用于将宽度较大的铝箔卷材按照需求进行裁切分成宽度较小的铝箔卷材。张力控制是指能够持久地控制铝箔保值绷直的运行。张

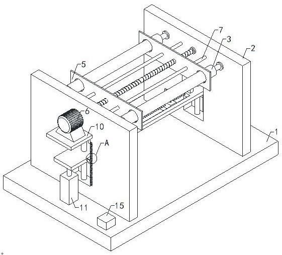
本实用新型涉及生料带加工技术领域,尤其涉及一种生料带分切机用对边机构。背景技术:在对生料带的加工过程中,需要使用到分切机对生料带进行分切处理。而目前的分切机在对生料带的分切过程中,由于机械振动或者生料

本实用新型涉及一种切纸机。背景技术:切纸机是一种用于处理印刷后期纸张裁切的传统产品,可有效降低生产准备时间、提高裁切精度、降低劳动强度。然而,现有的切纸机需对裁切好后的纸依靠人工进行叠纸和卸纸,工人的

本实用新型是一种防静电薄膜分切机,属于机械设备技术领域。背景技术:薄膜分切机可将:聚酯薄膜、镀铝薄膜、BOPP LDPE、HDPE、LLDPE、PP等薄膜。也可将云母带、PE分切成不同尺寸,广泛运用于

1.本实用新型涉及生料带加工设备技术领域,具体为一种自动纠偏的生料带分切机。背景技术:2.生料带是液体管道安装中常用的一种辅助用品,用于管件连接处,增强管道连接处的密闭性,由于其无毒、无味、优良的密封

PVC膜主要成分为聚氯乙烯,为微黄色半透明状,有光泽。透明度胜于聚乙烯、聚丙烯,差于聚苯乙烯,随助剂用量不同,分为软、硬聚氯乙烯,软制品柔而韧,手感粘,硬制品的硬度高于低密度聚乙烯,而低于聚丙烯,在屈