
本技术涉及玻璃纤维毡生产设备的,尤其是涉及一种用于玻璃纤维毡的纵向分切机。
背景技术:
1、玻璃纤维毡是由连续原丝或短切原丝不定向地通过化学粘结剂或机械作用结合在一起制成的薄片状制品。
2、在玻璃纤维毡的生产过程中,从沉降室中形成的玻璃纤维毡胚,经过添加粘结剂及一系列工艺处理烘干后得到的产品幅宽一般在3米以上,需要使用分切机按照预设的宽度尺寸将整块玻璃纤维毡分切成最终产品。
3、相关技术中,分切机包括工作台、固定于工作台顶面上的垫板、转动设置于工作台上的刀片,工作台的两端设置有安装板,安装板之间转动设置有转动轴,转动轴在电机的驱动下转动,刀片呈圆形且沿转动轴的轴向设置多片,刀片的中心开设有供转动轴穿过的安装孔,刀片固定于转动轴上,从而刀片随转动轴的转动而转动,刀片的外周壁和垫板的顶面抵接,玻璃纤维毡在收卷机的作用下从刀片和垫板之间通过,玻璃纤维毡在通过转动的刀片时被刀片分切成指定宽度。
4、针对上述相关技术,发明人认为,由于刀片固定于转动轴上,因此一款分切机仅能分切出一种宽度的玻璃纤维毡条,分切成不同宽度的玻璃纤维毡条时则需要更换分切机,从而分切机的适用性有待提高。
技术实现思路
1、为了提高分切机的适用性,本申请提供一种用于玻璃纤维毡的纵向分切机。
2、本申请提供的一种用于玻璃纤维毡的纵向分切机采用如下的技术方案:
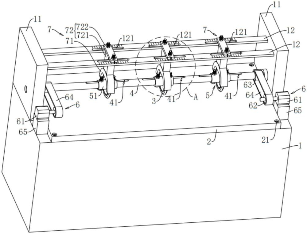
3、一种用于玻璃纤维毡的纵向分切机,包括工作台、固定于工作台顶面上的垫板、转动设置于工作台上的刀片,工作台的两端设置有安装板,安装板之间转动设置有转动轴,刀片呈圆形且沿转动轴的轴向设置多片,所述刀片和转动轴滑动连接,所述刀片和转动轴通过固定组件固定,所述转动轴在驱动组件的驱动下转动;
4、所述固定组件包括固定环、固定螺栓、固定螺母,所述固定环套设于转动轴上并与转动轴滑动连接,所述刀片的中心开设有供固定环穿过的安装孔,所述固定环的外周壁和安装孔的内壁固定连接,所述固定环的长度大于刀片的厚度,所述固定螺栓穿过固定环、转动轴后与固定螺母螺纹连接,所述转动轴上沿自身轴向开设有供固定螺栓的螺杆穿过的条形孔,所述固定螺栓的螺帽和固定螺母分别与固定环径向的两侧抵接。
5、优选的,所述刀片固定于固定环轴向的中部,一个所述固定环对应两根固定螺栓,一个所述固定环上的两根固定螺栓分别位于固定环轴向的两端。
6、优选的,所述工作台上设置有用于移动刀片的辅助组件,所述辅助组件位于刀片的上方,一个所述刀片对应一组辅助组件;
7、所述辅助组件包括保护壳和操作板,所述保护壳罩设于刀片上并与刀片转动连接,所述操作板固定连接于保护壳的顶部,所述安装板之间固定有支撑板,所述操作板和支撑板滑动连接,所述操作板和支撑板通过锁紧组件固定。
8、优选的,所述保护壳呈弧形设置,所述保护壳相对的两个平面内壁上对称设置有限位柱,所述刀片厚度方向的两面上开设有供限位柱滑动的限位环槽,所述刀片转动时,所述限位柱于限位环槽内滑动。
9、优选的,所述操作板呈t型,所述操作板的竖直段和保护壳的顶端固定连接,所述支撑板设置于保护壳长度方向的两端,所述操作板水平段的两端搭设于相邻的支撑板上。
10、优选的,所述锁紧组件包括锁紧螺栓和锁紧螺母,所述锁紧螺栓穿过支撑板、操作板水平段后与锁紧螺母螺纹连接,所述锁紧螺栓的螺帽和支撑板抵接,所述锁紧螺母和操作板水平段抵接,所述支撑板上沿自身长度方向开设有供锁紧螺栓的螺杆穿过的腰型孔。
11、优选的,每块所述支撑板的顶面上设置有测量区,一组所述辅助组件对应两处测量区,每处所述测量区内包括等距设置的多条刻度线,所述操作板水平段长度方向的两端设置有指针,所述指针和测量区配合使用。
12、优选的,所述驱动组件设置两组,两组所述驱动组件同步运动,两组所述驱动组件分别位于转动轴轴向的两端,所述驱动组件包括驱动电机、主动轮、从动轮、同步带,所述驱动电机的输出轴和主动轮同轴连接,所述从动轮同轴套设于转动轴上并与转动轴固定,所述同步带同时套设于主动轮和从动轮上且同步带保持张紧。
13、综上所述,本申请包括以下至少一种有益技术效果:
14、1.需要分切宽度不同的玻璃纤维毡时,将锁紧螺母和固定螺母均拧松,沿着支撑板的长度方向滑动对应的操作板,确定位置后再将对应的锁紧螺母和固定螺母拧紧,从而使一款分切机能够满足不同宽度的分切需求,提高了分切机的适应性;
15、2.通过设置辅助组件,在调节对应刀片的位置时,移动操作板即可,操作板位于刀片的上方且远离刀片部位,不仅便于操作,还降低了工作人员直接移动固定环而不小心被刀片伤害的可能性,提高了分切机的安全性;
16、3.通过设置测量区和指针,便于工作人员在移动刀片时更为精准的确定刀片的位置,便于保持多个刀片的位移一致性,并且提高了刀片位置调整后的定位精度。
技术特征:
1.一种用于玻璃纤维毡的纵向分切机,包括工作台(1)、固定于工作台(1)顶面上的垫板(2)、转动设置于工作台(1)上的刀片(3),工作台(1)的两端设置有安装板(11),安装板(11)之间转动设置有转动轴(4),刀片(3)呈圆形且沿转动轴(4)的轴向设置多片,其特征在于:所述刀片(3)和转动轴(4)滑动连接,所述刀片(3)和转动轴(4)通过固定组件(5)固定,所述转动轴(4)在驱动组件(6)的驱动下转动;
2.根据权利要求1所述的用于玻璃纤维毡的纵向分切机,其特征在于:所述刀片(3)固定于固定环(51)轴向的中部,一个所述固定环(51)对应两根固定螺栓(52),一个所述固定环(51)上的两根固定螺栓(52)分别位于固定环(51)轴向的两端。
3.根据权利要求1所述的用于玻璃纤维毡的纵向分切机,其特征在于:所述工作台(1)上设置有用于移动刀片(3)的辅助组件(7),所述辅助组件(7)位于刀片(3)的上方,一个所述刀片(3)对应一组辅助组件(7);
4.根据权利要求3所述的用于玻璃纤维毡的纵向分切机,其特征在于:所述保护壳(71)呈弧形设置,所述保护壳(71)相对的两个平面内壁上对称设置有限位柱(711),所述刀片(3)厚度方向的两面上开设有供限位柱(711)滑动的限位环槽(32),所述刀片(3)转动时,所述限位柱(711)于限位环槽(32)内滑动。
5.根据权利要求3所述的用于玻璃纤维毡的纵向分切机,其特征在于:所述操作板(72)呈t型,所述操作板(72)的竖直段(721)和保护壳(71)的顶端固定连接,所述支撑板(12)设置于保护壳(71)长度方向的两端,所述操作板(72)水平段(722)的两端搭设于相邻的支撑板(12)上。
6.根据权利要求5所述的用于玻璃纤维毡的纵向分切机,其特征在于:所述锁紧组件(8)包括锁紧螺栓(81)和锁紧螺母(82),所述锁紧螺栓(81)穿过支撑板(12)、操作板(72)水平段(722)后与锁紧螺母(82)螺纹连接,所述锁紧螺栓(81)的螺帽和支撑板(12)抵接,所述锁紧螺母(82)和操作板(72)水平段(722)抵接,所述支撑板(12)上沿自身长度方向开设有供锁紧螺栓(81)的螺杆穿过的腰型孔(121)。
7.根据权利要求5所述的用于玻璃纤维毡的纵向分切机,其特征在于:每块所述支撑板(12)的顶面上设置有测量区(9),一组所述辅助组件(7)对应两处测量区(9),每处所述测量区(9)内包括等距设置的多条刻度线,所述操作板(72)水平段(722)长度方向的两端设置有指针(91),所述指针(91)和测量区(9)配合使用。
8.根据权利要求1所述的用于玻璃纤维毡的纵向分切机,其特征在于:所述驱动组件(6)设置两组,两组所述驱动组件(6)同步运动,两组所述驱动组件(6)分别位于转动轴(4)轴向的两端,所述驱动组件(6)包括驱动电机(61)、主动轮(62)、从动轮(63)、同步带(64),所述驱动电机(61)的输出轴和主动轮(62)同轴连接,所述从动轮(63)同轴套设于转动轴(4)上并与转动轴(4)固定,所述同步带(64)同时套设于主动轮(62)和从动轮(63)上且同步带(64)保持张紧。
技术总结
本技术涉及一种用于玻璃纤维毡的纵向分切机,其包括工作台、固定于工作台顶面上的垫板、转动设置于工作台上的刀片,工作台的两端设置有安装板,安装板之间转动设置有转动轴,刀片呈圆形且沿转动轴的轴向设置多片,刀片和转动轴滑动连接,刀片和转动轴通过固定组件固定;固定组件包括固定环、固定螺栓、固定螺母,固定环套设于转动轴上并与转动轴滑动连接,刀片的中心开设有供固定环穿过的安装孔,固定环的外周壁和安装孔的内壁固定连接,固定螺栓穿过固定环、转动轴后与固定螺母螺纹连接,转动轴上沿自身轴向开设有供固定螺栓的螺杆穿过的条形孔,固定螺栓的螺帽和固定螺母分别与固定环径向的两侧抵接。本申请具有提高分切机适用性的效果。
技术研发人员:刘岳君,鲍红林
受保护的技术使用者:常州联洋玻璃纤维有限公司
技术研发日:20231030
技术公布日:2024/7/29

一.薄膜分切机毛边毛边大部分原因是分切切刀太钝而造成,更换切刀可解决问题。不同型号的薄膜因厚度,对切刀的磨损程度也不同,厚度越厚,对切刀的磨损越大,因此必须根据不同的分切对象,适时调整刀片刀槽位置或更
分条机厂家哪家强2023-09-15
PET薄膜的表面是十分光滑的,表面张力很小,对水和油墨的亲和力很弱,因此需要增加表面的张力,最常用的处理方法就是电晕处理。
薄膜复卷分切机哪家好2024-07-16
分切机在收、放卷过程中,收卷和放卷直径是不断变化的,直径的变化必然会引起原料张力的变化。分切机放卷在制动力矩不变的情况下,直径减少,张力将随之增大。而分切机收卷则相反,如果收卷力矩不变时,随着收卷直径
分切机生产厂家2023-07-31
这可能会影响后续的加工和使用。本文将会分析收卷不齐的原因,并且介绍解决这个问题的办法。
精选问答2024-07-24
如何维护分切机?在日常的生产过程中,分切机会出现一些问题,那么主要有哪些问题呢?会有什么影响?让我们来看一看。1. 底部的皱纹这种问题只发生在卷绕长度开始时,主要表现为起皱和条纹较深,其原因是由多种因
分切机哪家好2023-09-05