
本实用新型涉及一种锂电池分切机多功能刀组。
背景技术:
锂电池,是一类由锂金属或锂合金为负极材料、使用非水电解质溶液的电池;1912年锂金属电池最早由gilbertn.lewis提出并研究;20世纪70年代时,m.s.whittingham提出并开始研究锂离子电池;由于锂金属的化学特性非常活泼,使得锂金属的加工、保存、使用,对环境要求非常高;随着科学技术的发展,现在锂电池已经成为了主流;
目前市面上的存在如下问题:本实用新型是在现有锂电池分切机基础上发展而成;现在市场上锂电分条机普遍使用的仍然是老式的开环伺服电机或机械式无极调速器,配置安装结构复杂,加工要求精度高,加工难度大;装配精度高,安装调试繁杂;占用空间大。
技术实现要素:
本实用新型为克服上述情况不足,旨在提供一种能解决上述问题的技术方案。
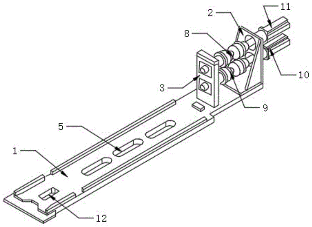
一种锂电池分切机多功能刀组,其包括水平设置的基板;所述基板上右端竖直设有电机安装座;所述电机安装座的左侧竖直设有联轴器安装座;所述联轴器安装座的底部与基板的顶部固定连接,联轴器安装座和电机安装座之间设有与其转动配合的刀组动力传动件;所述电机安装座的右端水平悬挂固定有刀组电机;所述基板上间隔设有若干个吸尘孔;所述基板的底部固定安装有吸尘罩;所述吸尘罩的底部成型有与其连通的吸尘接口。
优选的,所述刀组动力传动件包括水平设置的上联轴器和下联轴器;所述刀组电机包括第一电机和第二电机;所述第一电机与下联轴器连接;所述第二电机与上联轴器连接。
优选的,所述第一电机和第二电机为伺服电机。
优选的,所述基板的左端成型有刀组上刀连接孔。
与现有技术相比,本实用新型的有益效果是:本实用新型锂电池分切机多功能刀组将刀组上刀组件、支承定位组件、刀组传动组件、电机固定组件、吸尘接口五组功能于一体,五组功能组件统一安装在一款基板上,加工工艺简单,加工精度高;因为基准统一,安装调试方便,刀组的刀轴与传动电机的同心度,位置度及球笼的两端偏差度能保证最小;因为传动电机采用悬挂安装方式,且调节行程大,特别适合固定刀架与悬切刀架通配使用;传动接口间距调试方便,球笼联轴器两端偏差度小,大大提高了刀轴运转的稳定性;新型闭环伺服电机(编码器内置)的使用,减小由于编码器外置的安装所采用的配件,大大节约了安装空间。锂电池分条机刀组上刀、支撑、定位、传动、吸尘一体模块的设计与现有相同功能的装置相比:减少了配件的数量,节约了成本,提高了加工精度、装配效率和装配精度,增强刀组通配性能,节约了使用空间。
本实用新型的附加方面和优点将在下面的描述中部分给出,部分将从下面的描述中变得明显,或通过本实用新型的实践了解到。
附图说明
为了更清楚地说明本实用新型实施例或现有技术中的技术方案,下面将对实施例或现有技术描述中所需要使用的附图作简单地介绍,显而易见地,下面描述中的附图仅仅是本实用新型的一些实施例,对于本领域普通技术人员来讲,在不付出创造性劳动性的前提下,还可以根据这些附图获得其他的附图。
图1是本实用新型的结构示意图。
图2是本实用新型的吸尘罩结构示意图。
图3是本实用新型的基板结构示意图。
图中:基板1;电机安装座2;联轴器安装座3;吸尘孔5;吸尘罩6;吸尘接口7;上联轴器8;下联轴器9;第一电机10;第二电机11;刀组上刀连接孔12。
具体实施方式
下面将对本实用新型实施例中的技术方案进行清楚、完整地描述,显然,所描述的实施例仅仅是本实用新型一部分实施例,而不是全部的实施例。基于本实用新型中的实施例,本领域普通技术人员在没有做出创造性劳动前提下所获得的所有其他实施例,都属于本实用新型保护的范围。
请参阅图1~3,本实用新型实施例中,一种锂电池分切机多功能刀组,其包括水平设置的基板1;所述基板1上右端竖直设有电机安装座2;所述电机安装座2的左侧竖直设有联轴器安装座3;所述联轴器安装座3的底部与基板1的顶部固定连接,联轴器安装座3和电机安装座2之间设有与其转动配合的刀组动力传动件;所述电机安装座2的右端水平悬挂固定有刀组电机;所述基板1上间隔设有若干个吸尘孔5;所述基板1的底部固定安装有吸尘罩6;所述吸尘罩6的底部成型有与其连通的吸尘接口7。
优选的,所述刀组动力传动件包括水平设置的上联轴器8和下联轴器9;所述刀组电机包括第一电机10和第二电机11;所述第一电机10与下联轴器9连接;所述第二电机11与上联轴器8连接。
优选的,所述第一电机10和第二电机11为伺服电机。
优选的,所述基板1的左端成型有刀组上刀连接孔12。
对于本领域技术人员而言,显然本实用新型不限于上述示范性实施例的细节,而且在不背离本实用新型的精神或基本特征的情况下,能够以其他的具体形式实现本实用新型。因此,无论从哪一点来看,均应将实施例看作是示范性的,而且是非限制性的,本实用新型的范围由所附权利要求而不是上述说明限定,因此旨在将落在权利要求的等同要件的含义和范围内的所有变化囊括在本实用新型内。
技术特征:
1.一种锂电池分切机多功能刀组,其特征在于,其包括水平设置的基板;所述基板上右端竖直设有电机安装座;所述电机安装座的左侧竖直设有联轴器安装座;所述联轴器安装座的底部与基板的顶部固定连接,联轴器安装座和电机安装座之间设有与其转动配合的刀组动力传动件;所述电机安装座的右端水平悬挂固定有刀组电机;所述基板上间隔设有若干个吸尘孔;所述基板的底部固定安装有吸尘罩;所述吸尘罩的底部成型有与其连通的吸尘接口。
2.根据权利要求1所述的一种锂电池分切机多功能刀组,其特征在于,所述刀组动力传动件包括水平设置的上联轴器和下联轴器;所述刀组电机包括第一电机和第二电机;所述第一电机与下联轴器连接;所述第二电机与上联轴器连接。
3.根据权利要求2所述的一种锂电池分切机多功能刀组,其特征在于,所述第一电机和第二电机为伺服电机。
4.根据权利要求1所述的一种锂电池分切机多功能刀组,其特征在于,所述基板的左端成型有刀组上刀连接孔。
技术总结
本实用新型公开了一种锂电池分切机多功能刀组,其包括水平设置的基板;所述基板上右端竖直设有电机安装座;所述电机安装座的左侧竖直设有联轴器安装座;所述联轴器安装座的底部与基板的顶部固定连接,联轴器安装座和电机安装座之间设有与其转动配合的刀组动力传动件;所述电机安装座的右端水平悬挂固定有刀组电机;所述基板上间隔设有若干个吸尘孔;所述基板的底部固定安装有吸尘罩;所述吸尘罩的底部成型有与其连通的吸尘接口;所述刀组动力传动件包括水平设置的上联轴器和下联轴器;所述刀组电机包括第一电机和第二电机;所述第一电机与下联轴器连接;所述第二电机与上联轴器连接。
技术研发人员:曾展华
受保护的技术使用者:东莞市维萨娜电子科技有限公司
技术研发日:2019.08.06
技术公布日:2020.05.22