
本实用新型涉及锂电池电芯切割技术领域,具体为一种锂电池电芯的分切机。
背景技术:
锂电池,是一类由锂金属或锂合金为负极材料、使用非水电解质溶液的电池由于锂金属的化学特性非常活泼,使得锂金属的加工、保存、使用,对环境要求非常高,随着科学技术的发展,现在锂电池已经成为了主流;锂电池大致可分为两类:锂金属电池和锂离子电池。锂离子电池不含有金属态的锂,并且是可以充电的。
锂离子二次充电电池的组成是电芯和保护电路板。充电电池去除保护电路板就是电芯了。他是充电电池中的蓄电部分。电芯的质量直接决定了充电电池的质量,电芯分为铝壳电芯、软包电芯、圆柱电芯三种。
但是,传统的锂电池电芯分切机在使用过程中存在一些弊端,比如:
1、传统的锂电池电芯分切机在切割过程中有可能会造成电芯受力过大而溅射的可能性,有可能会伤害到工作人员,具有安全隐患,并且造成了切割好的电芯不能方便的收集。
2、传统的锂电池电芯分切机切割较为费时,且切割方式较为麻烦。
技术实现要素:
本实用新型的目的在于提供一种锂电池电芯的分切机,以解决上述背景技术中提出的问题。
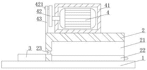
为实现上述目的,本实用新型提供如下技术方案:一种锂电池电芯的分切机,包括底板、主体、切割板和电机,所述底板上表面一侧固定焊接有切割板,所述切割板上表面中部开设有固定槽,所述固定槽内部放置有电芯,所述底板上表面靠近切割板一侧固定焊接有主体,所述主体内部开设有空腔,所述空腔靠近切割板一侧开设有通孔,所述空腔底部内壁放置有放置盒,所述通孔与切割板位于同一水平面,所述通孔的水平面高度高于放置盒的水平高度,所述主体位于通孔上部外壁开设有定向轨道,所述主体上表面通过螺栓安装有电机腔,所述电机腔内部通过螺栓安装有电机,所述电机的转动轴端部固定焊接有偏心轮,所述偏心轮远离电机的一侧面顶部焊接有销钉,所述偏心轮通过销钉转动连接有连接杆,所述连接杆另一端活动插接在定向轨道内部,所述连接杆位于定向轨道内部的一端端部通过螺栓安装有切割刀,所述切割刀与切割板相配合。
进一步的,所述连接杆与定向轨道滑动连接。
进一步的,所述切割板上表面靠近固定槽一侧开设有刻度纹。
进一步的,所述放置盒远离通孔一侧端部通过螺栓安装有把手。
进一步的,所述电机的型号为Y-160M1-2式电机。
与现有技术相比,本实用新型的有益效果是:
1、本实用新型由于通孔的设置,将电芯通过通孔插在主体内部,通过刻度纹的测量,决定插进主体内部的电芯长度,通过偏心轮的特质,实现对电芯的切割,由于被切掉的一端位于主体内部,所以减少了电芯溅射的问题,电芯被切掉后,会落在低于通孔水平高度的放置盒内部,完成了对电芯切割成品的收集,简单快捷有效。
2、本实用新型电机一端焊接的偏心轮,偏心轮通过销钉转动连接有连接杆,在电机转动工作时,偏心轮转动且带动连接杆以及切割刀的工作,完成了力的传导,实现了方便简单的对电芯的切割,便于推广使用。
附图说明
图1为本实用新型主视部分剖视结构示意图;
图2为本实用新型部分剖面结构示意图;
图3为本实用新型切割板俯视结构示意图。
图中:1-底板;2-主体;21-空腔;22-放置盒;23-通孔;24-定向轨道;3-切割板;31-固定槽;32-刻度纹;4-电机;41-电机腔;42-偏心轮;421-销钉;43-连接杆;44-切割刀。
具体实施方式
下面将结合本实用新型实施例中的附图,对本实用新型实施例中的技术方案进行清楚、完整地描述,显然,所描述的实施例仅仅是本实用新型一部分实施例,而不是全部的实施例。基于本实用新型中的实施例,本领域普通技术人员在没有做出创造性劳动前提下所获得的所有其他实施例,都属于本实用新型保护的范围。
请参阅图1-图3,本实用新型提供一种技术方案:一种锂电池电芯的分切机,包括底板1、主体2、切割板3和电机4,所述底板1上表面一侧固定焊接有切割板3,所述切割板3上表面中部开设有固定槽31,所述固定槽31内部放置有电芯,所述底板1上表面靠近切割板3一侧固定焊接有主体2,所述主体2内部开设有空腔21,所述空腔21靠近切割板3一侧开设有通孔23,所述空腔21底部内壁放置有放置盒22,所述通孔23与切割板3位于同一水平面,所述通孔23的水平面高度高于放置盒22的水平高度,所述主体2位于通孔23上部外壁开设有定向轨道24,所述主体2上表面通过螺栓安装有电机腔41,所述电机腔41内部通过螺栓安装有电机4,所述电机4的转动轴端部固定焊接有偏心轮42,所述偏心轮42远离电机4的一侧面顶部焊接有销钉421,所述偏心轮42通过销钉421转动连接有连接杆43,所述连接杆43另一端活动插接在定向轨道24内部,所述连接杆43位于定向轨道24内部的一端端部通过螺栓安装有切割刀44,所述切割刀44与切割板3相配合。
为了方便连接杆43的准确移动,所述连接杆43与定向轨道24滑动连接;为了方便量取电芯的长度,所述切割板3上表面靠近固定槽31一侧开设有刻度纹32;为了方便放置盒22的抽出,所述放置盒22远离通孔23一侧端部通过螺栓安装有把手;为了装置稳定运行,所述电机4的型号为Y-160M1-2式电机。
工作原理:由于通孔23的设置,将电芯通过通孔23插在主体2内部,通过刻度纹32的测量,决定插进主体2内部的电芯长度,通过偏心轮42的特质,偏心轮42通过销钉421转动连接有连接杆43,在电机4转动工作时,偏心轮42转动且带动连接杆43以及切割刀44的工作,完成了力的传导,实现对电芯的切割,由于被切掉的一端位于主体2内部,所以减少了电芯溅射的问题,电芯被切掉后,会落在低于通孔23水平高度的放置盒22内部,完成了对电芯切割成品的收集,简单快捷有效;本装置实现了方便简单的对电芯的切割,便于推广使用。
需要说明的是,在本文中,诸如第一和第二等之类的关系术语仅仅用来将一个实体或者操作与另一个实体或操作区分开来,而不一定要求或者暗示这些实体或操作之间存在任何这种实际的关系或者顺序。而且,术语“包括”、“包含”或者其任何其他变体意在涵盖非排他性的包含,从而使得包括一系列要素的过程、方法、物品或者设备不仅包括那些要素,而且还包括没有明确列出的其他要素,或者是还包括为这种过程、方法、物品或者设备所固有的要素。
尽管已经示出和描述了本实用新型的实施例,对于本领域的普通技术人员而言,可以理解在不脱离本实用新型的原理和精神的情况下可以对这些实施例进行多种变化、修改、替换和变型,本实用新型的范围由所附权利要求及其等同物限定。
技术特征:
1.一种锂电池电芯的分切机,包括底板(1)、主体(2)、切割板(3)和电机(4),其特征在于:所述底板(1)上表面一侧固定焊接有切割板(3),所述切割板(3)上表面中部开设有固定槽(31),所述固定槽(31)内部放置有电芯,所述底板(1)上表面靠近切割板(3)一侧固定焊接有主体(2),所述主体(2)内部开设有空腔(21),所述空腔(21)靠近切割板(3)一侧开设有通孔(23),所述空腔(21)底部内壁放置有放置盒(22),所述通孔(23)与切割板(3)位于同一水平面,所述通孔(23)的水平面高度高于放置盒(22)的水平高度,所述主体(2)位于通孔(23)上部外壁开设有定向轨道(24),所述主体(2)上表面通过螺栓安装有电机腔(41),所述电机腔(41)内部通过螺栓安装有电机(4),所述电机(4)的转动轴端部固定焊接有偏心轮(42),所述偏心轮(42)远离电机(4)的一侧面顶部焊接有销钉(421),所述偏心轮(42)通过销钉(421)转动连接有连接杆(43),所述连接杆(43)另一端活动插接在定向轨道(24)内部,所述连接杆(43)位于定向轨道(24)内部的一端端部通过螺栓安装有切割刀(44),所述切割刀(44)与切割板(3)相配合。
2.根据权利要求1所述的一种锂电池电芯的分切机,其特征在于:所述连接杆(43)与定向轨道(24)滑动连接。
3.根据权利要求1所述的一种锂电池电芯的分切机,其特征在于:所述切割板(3)上表面靠近固定槽(31)一侧开设有刻度纹(32)。
4.根据权利要求1所述的一种锂电池电芯的分切机,其特征在于:所述放置盒(22)远离通孔(23)一侧端部通过螺栓安装有把手。
5.根据权利要求1所述的一种锂电池电芯的分切机,其特征在于:所述电机(4)的型号为Y-160M1-2式电机。
技术总结
本实用新型公开了一种锂电池电芯的分切机,包括底板、主体、切割板和电机,所述底板上表面一侧固定焊接有切割板,所述切割板上表面中部开设有固定槽,所述固定槽内部放置有电芯,所述底板上表面靠近切割板一侧固定焊接有主体,所述主体内部开设有空腔,本实用新型将电芯通过通孔插在主体内部,通过刻度纹的测量,决定插进主体内部的电芯长度,通过偏心轮的特质,偏心轮通过销钉转动连接有连接杆,在电机转动工作时,偏心轮转动且带动连接杆以及切割刀的进行工作,实现对电芯的切割,由于被切掉的一端位于主体内部,所以减少了电芯溅射的问题,电芯会落在低于通孔水平高度的放置盒内部,完成了对电芯切割成品的收集,简单快捷有效。
技术研发人员:范茂荣
受保护的技术使用者:重庆市鑫旭锂电池有限公司
技术研发日:2018.07.16
技术公布日:2019.01.04