
本实用新型涉及一种切纸管装置,主要用于纸管的分切。
背景技术:
切纸管机广泛应用于印刷,包装、皮革、家居、五金等行业,特别适合标签,无纺布、薄膜、胶带等所用的塑料管或纸管。所切的纸管表面光滑平整,不翻边、不起毛。
在现有技术中,对于全自动切纸管机,其成本比较高昂,一般企业难以负担,而且占地面积大。对于半自动切纸管机,一般切完之后,需要操作人员手动将切好的纸管取下,非常的不方便,效率低,而且操作人员劳动强度高。
技术实现要素:
本实用新型目的是提供一种切纸管装置,通过使用该结构,提高了分切效率,降低了操作人员的劳动强度。
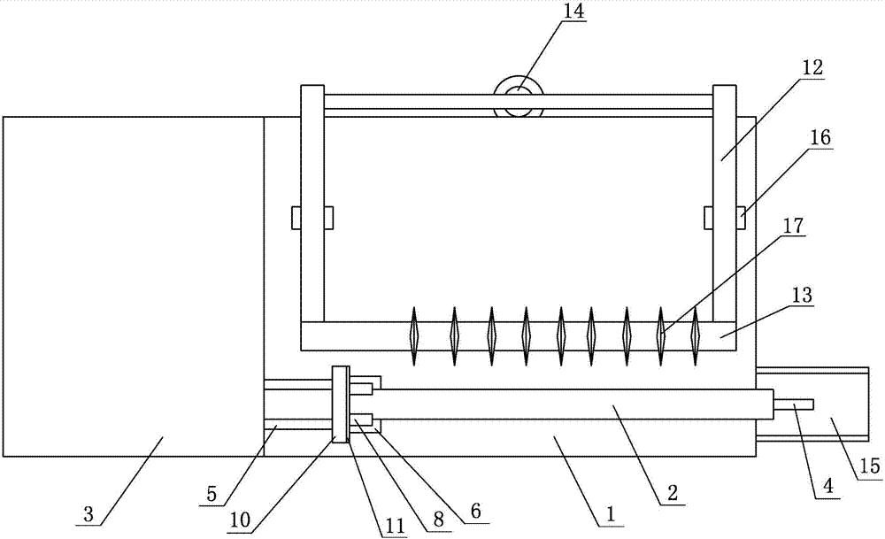
为达到上述目的,本实用新型采用的技术方案是:一种切纸管装置,包括机架、设置于机架上的放料轴及切料机构,所述切料机构设置于所述放料轴的旁侧,所述切料机构及放料轴与一驱动机构相连,所述驱动机构带动所述放料轴转动;所述放料轴正下方的机架上设有一滑轨,所述滑轨平行于所述放料轴设置,所述放料轴的右端外露于所述机架,所述滑轨的右端设置于所述放料轴的底部右侧;所述滑轨的左端设有一伸缩气缸,所述滑轨上设有一滑块,所述滑块的左端与所述伸缩气缸的输出轴相连,所述滑块经所述伸缩气缸滑动设置于所述滑轨上;所述滑块的顶部设有一支撑杆及环形刮料板,所述环形刮料板的底部安装于所述支撑杆的顶面上,所述支撑杆底部安装于所述滑块上,所述环形刮料板套设于所述放料轴上,且所述环形刮料板的内缘面与所述放料轴的外缘面之间设有1毫米~3毫米的间距。
上述技术方案中,所述环形刮料板的顶部设有缺口,所述缺口宽度小于所述放料轴的直径。
上述技术方案中,所述放料轴的左侧设有一环形凸起,所述环形凸起直径大于所述环形刮料板的直径。
上述技术方案中,所述环形凸起的右侧面上设有弹性垫片。
上述技术方案中,所述放料轴的外缘面上包覆有防滑层。
上述技术方案中,所述切料机构包括支架、设置于支架前端的切料轴及设置于支架后端的顶升气缸,所述放料轴设置于所述切料轴的前侧,且所述放料轴与所述切料轴相互平行设置,所述切料轴的外缘面上固定安装有复数把环形切刀,所述驱动机构带动所述切料轴旋转。
上述技术方案中,所述支架的中部经转轴转动安装于所述机架上,所述顶升气缸的底部安装于所述机架底部,所述顶升气缸顶部的输出轴与所述支架的后端相连,所述顶升气缸的输出轴伸出及回缩,能够带动所述支架及切料轴围绕所述转轴顺时针或逆时针旋转。
上述技术方案中,所述顶升气缸的输出轴伸出,所述支架及切料轴围绕所述转轴顺时针转动,使所述环形切刀靠近所述切料轴的外缘面设置;所述顶升气缸的输出轴回缩,所述支架及切料轴围绕所述转轴逆时针转动,使所述环形切刀远离所述切料轴的外缘面设置。
上述技术方案中,所述滑轨的右侧设有一接料槽,所述接料槽由左至右倾斜向下设置,所述接料槽的左端与所述滑块的右侧相接触,所述接料槽与水平面之间呈15°~30°的夹角。
由于上述技术方案运用,本实用新型与现有技术相比具有下列优点:
1.本实用新型中通过在放料轴的底部设置滑轨,在滑轨上设置环形刮料板,环形刮料板直接套设于放料轴上,这样在纸管分切完成之后,可以利用伸缩气缸的输出轴伸出,带动环形刮料板沿着放料轴滑动,能够将分切好的纸管从放料轴上刮出,这样能够有效提高分切效率,降低操作人员的劳动强度;
2.本实用新型中切料轴能够通过顶升气缸及支架带动顺时针及逆时针转动,这样能够带动环形切刀靠近或者远离放料轴,实现自动分切,提高分切效率。
附图说明
图1是本实用新型实施例一中的结构示意图;
图2是图1的仰视图(切料机构未画出);
图3是本实用新型实施例一中环形刮料板的结构示意图。
其中:1、机架;2、放料轴;3、驱动机构;4、滑轨;5、伸缩气缸;6、滑块;7、支撑杆;8、环形刮料板;9、缺口;10、环形凸起;11、弹性垫片;12、支架;13、切料轴;14、顶升气缸;15、接料槽;16、转轴;17、环形切刀。
具体实施方式
下面结合附图及实施例对本实用新型作进一步描述:
实施例一:参见图1~3所示,一种切纸管装置,包括机架1、设置于机架1上的放料轴2及切料机构,所述切料机构设置于所述放料轴2的旁侧,所述切料机构及放料轴2与一驱动机构3相连,所述驱动机构3带动所述放料轴2转动;所述放料轴2正下方的机架1上设有一滑轨4,所述滑轨4平行于所述放料轴2设置,所述放料轴2的右端外露于所述机架1,所述滑轨4的右端设置于所述放料轴2的底部右侧;所述滑轨4的左端设有一伸缩气缸5,所述滑轨4上设有一滑块6,所述滑块6的左端与所述伸缩气缸5的输出轴相连,所述滑块6经所述伸缩气缸5滑动设置于所述滑轨4上;所述滑块6的顶部设有一支撑杆7及环形刮料板8,所述环形刮料板8的底部安装于所述支撑杆7的顶面上,所述支撑杆7底部安装于所述滑块6上,所述环形刮料板8套设于所述放料轴2上,且所述环形刮料板8的内缘面与所述放料轴2的外缘面之间设有1毫米~3毫米的间距。
本实施例中,在使用时,操作人员将长条的纸管直接插到放料轴上,然后切料机构压到纸管上,纸管受到压力之后,内部会直接与放料轴连接,这样放料轴就能够带动纸管转动,在纸管转动的过程中,切料机构能够对纸管进行分切,分切完成之后,切料机构脱离纸管,伸缩气缸的输出轴伸出,带动环形刮料板向右移动,这样能够由环形刮料板带动放料轴上分切好的纸管向右移动,使分切好的纸管脱离放料轴,无需操作人员手动下料,不仅下料速度快,而且操作人员劳动强度低,还能够提高分切效率。
参见图1、3所示,所述环形刮料板8的顶部设有缺口9,所述缺口9宽度小于所述放料轴2的直径。通过缺口的设置,这样环形刮料板无需完全包覆在放料轴上,这样操作人员能够实时的了解环形刮料板内缘面与放料轴外缘面之间的间距,便于及时调节,防止环形刮料板与放料轴之间的相互磨损,也防止噪音的产生。
参见图1、2所示,所述放料轴2的左侧设有一环形凸起10,所述环形凸起10直径大于所述环形刮料板的直径。所述环形凸起10的右侧面上设有弹性垫片11。
在本实施例中,通过在放料轴的左侧设置环形凸起,这样伸缩气缸输出轴回缩的过程中,会带动环形刮料板向左移动,环形刮料板碰触到环形凸起之后,伸缩气缸的输出轴无法再回缩,这样能够保证环形刮料板的行程,还能够对纸管进行限位,保证纸管的分切质量。同时设置弹性垫片,起到缓冲作用。
其中,所述放料轴的外缘面上包覆有防滑层。这样在纸管套设到放料轴上之后,切粒机构压在纸管上,纸管的内缘面能够抵于放料轴上,由于防滑层的存在,纸管能够随着放料轴跟转,保证分切质量。
参见图1所示,所述切料机构包括支架12、设置于支架12前端的切料轴13及设置于支架12后端的顶升气缸14,所述放料轴2设置于所述切料轴13的前侧,且所述放料轴2与所述切料轴13相互平行设置,所述切料轴13的外缘面上固定安装有复数把环形切刀17,所述驱动机构带动所述切料轴旋转。
所述支架的中部经转轴16转动安装于所述机架上,所述顶升气缸的底部安装于所述机架底部,所述顶升气缸顶部的输出轴与所述支架的后端相连,所述顶升气缸的输出轴伸出及回缩,能够带动所述支架及切料轴围绕所述转轴顺时针或逆时针旋转。
所述顶升气缸的输出轴伸出,所述支架及切料轴围绕所述转轴顺时针转动,使所述环形切刀靠近所述切料轴的外缘面设置;所述顶升气缸的输出轴回缩,所述支架及切料轴围绕所述转轴逆时针转动,使所述环形切刀远离所述切料轴的外缘面设置。
在本实施例中,只需要调节顶升气缸的行程,这样就能够保证顶升气缸输出轴伸出之后,环形切刀能够只切断纸管,但是与放料轴不接触,这样能够保证分切质量,同时,分切过程中,无需操作人员手动控制,能够降低操作人员劳动强度。
参见图1、2所示,所述滑轨4的右侧设有一接料槽15,所述接料槽由左至右倾斜向下设置,所述接料槽的左端与所述滑块的右侧相接触,所述接料槽与水平面之间呈15°~30°的夹角。
通过接料槽的设置,环形刮料板将放料轴上的纸管刮除之后,刮除的纸管能够掉落在接料槽上,便于操作人员的收集。

技术特征:
1.一种切纸管装置,其特征在于:包括机架、设置于机架上的放料轴及切料机构,所述切料机构设置于所述放料轴的旁侧,所述切料机构及放料轴与一驱动机构相连,所述驱动机构带动所述放料轴转动;所述放料轴正下方的机架上设有一滑轨,所述滑轨平行于所述放料轴设置,所述放料轴的右端外露于所述机架,所述滑轨的右端设置于所述放料轴的底部右侧;所述滑轨的左端设有一伸缩气缸,所述滑轨上设有一滑块,所述滑块的左端与所述伸缩气缸的输出轴相连,所述滑块经所述伸缩气缸滑动设置于所述滑轨上;所述滑块的顶部设有一支撑杆及环形刮料板,所述环形刮料板的底部安装于所述支撑杆的顶面上,所述支撑杆底部安装于所述滑块上,所述环形刮料板套设于所述放料轴上,且所述环形刮料板的内缘面与所述放料轴的外缘面之间设有1毫米~3毫米的间距。
2.根据权利要求1所述的切纸管装置,其特征在于:所述环形刮料板的顶部设有缺口,所述缺口宽度小于所述放料轴的直径。
3.根据权利要求1所述的切纸管装置,其特征在于:所述放料轴的左侧设有一环形凸起,所述环形凸起直径大于所述环形刮料板的直径。
4.根据权利要求3所述的切纸管装置,其特征在于:所述环形凸起的右侧面上设有弹性垫片。
5.根据权利要求1所述的切纸管装置,其特征在于:所述放料轴的外缘面上包覆有防滑层。
6.根据权利要求1所述的切纸管装置,其特征在于:所述切料机构包括支架、设置于支架前端的切料轴及设置于支架后端的顶升气缸,所述放料轴设置于所述切料轴的前侧,且所述放料轴与所述切料轴相互平行设置,所述切料轴的外缘面上固定安装有复数把环形切刀,所述驱动机构带动所述切料轴旋转。
7.根据权利要求6所述的切纸管装置,其特征在于:所述支架的中部经转轴转动安装于所述机架上,所述顶升气缸的底部安装于所述机架底部,所述顶升气缸顶部的输出轴与所述支架的后端相连,所述顶升气缸的输出轴伸出及回缩,能够带动所述支架及切料轴围绕所述转轴顺时针或逆时针旋转。
8.根据权利要求7所述的切纸管装置,其特征在于:所述顶升气缸的输出轴伸出,所述支架及切料轴围绕所述转轴顺时针转动,使所述环形切刀靠近所述切料轴的外缘面设置;所述顶升气缸的输出轴回缩,所述支架及切料轴围绕所述转轴逆时针转动,使所述环形切刀远离所述切料轴的外缘面设置。
9.根据权利要求1所述的切纸管装置,其特征在于:所述滑轨的右侧设有一接料槽,所述接料槽由左至右倾斜向下设置,所述接料槽的左端与所述滑块的右侧相接触,所述接料槽与水平面之间呈15°~30°的夹角。
技术总结
本实用新型公开了一种切纸管装置,其特征在于:包括机架、设置于机架上的放料轴及切料机构,所述切料机构设置于所述放料轴的旁侧,所述切料机构及放料轴与一驱动机构相连,所述驱动机构带动所述放料轴转动;所述放料轴正下方的机架上设有一滑轨;所述滑轨的左端设有一伸缩气缸,所述滑轨上设有一滑块,所述滑块经所述伸缩气缸滑动设置于所述滑轨上;所述滑块的顶部设有一支撑杆及环形刮料板,所述环形刮料板的经所述支撑杆安装于所述滑块上,所述环形刮料板套设于所述放料轴上,且所述环形刮料板的内缘面与所述放料轴的外缘面之间设有1毫米~3毫米的间距。本实用新型提高了纸管的分切效率,降低了操作人员的劳动强度。
技术研发人员:宋世权;冯志勇;刘苗;周志华;李会义
受保护的技术使用者:苏州沃顿印刷有限公司
技术研发日:2017.10.10
技术公布日:2018.05.22