
本实用新型涉及铝箔分切机除尘技术领域,尤其涉及一种铝箔分切机吸尘装置及铝箔分切机。
背景技术:
铝箔分切机主要是一种用于将宽度较大的铝箔卷材按照需求进行裁切分成宽度较小的铝箔卷材的机械设备。铝箔分切机在对铝箔卷材分切时会产生大量的铝屑和铝箔灰(铝粉),这些粉屑一部份飘在空气中,另一部份会落到铝箔材料上。飘在空中的铝粉不但会污染环境,同时还会被操作人员吸入体内,对人的身体造成一定的伤害;另外落在铝箔材料上粉屑,随着收料轴的运转卷进材料内,从而导致加工好的铝箔卷材质量粗糙。其中,铝箔分切机吸尘装置作为铝箔分切设备中一个重要的组成部分,能够将铝箔分切机生产加工过程中产生的铝箔粉屑收集至粉尘箱内,防止加工生产过程中产生大量的粉屑。
现有的铝箔分切机吸尘装置虽然能够对铝箔分切机生产过程中产生大量的粉屑进行清洁,但是,现有的铝箔分切机吸尘装置的进气道通常都是内部硬性折角较多,因此,在进行除尘过程中容易对流通的空气造成阻挡,阻碍空气中夹杂的颗粒、粉尘等灰尘随空气流动,从而容易造成管道堵塞的技术问题。
技术实现要素:
本实用新型的目的在于提供一种铝箔分切机吸尘装置及铝箔分切机,以缓解现有的铝箔分切机吸尘装置的进气道通常都是内部硬性折角较多,因此,在进行除尘过程中容易对流通的空气造成阻挡,阻碍空气中夹杂的颗粒、粉尘等粉屑随空气流动,从而容易造成管道堵塞的技术问题。
本实用新型提供的一种铝箔分切机吸尘装置,包括设有进风口的吸尘罩、用于将铝屑沿所述吸尘罩吸入的气流单元和用于存放铝屑的集尘箱;
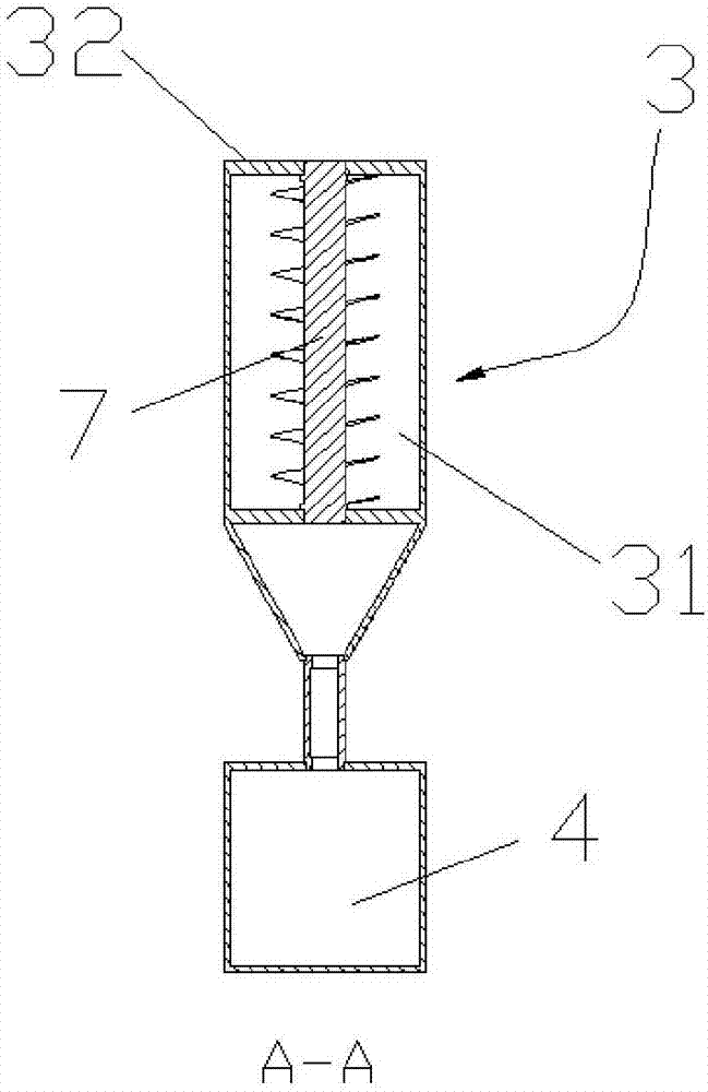
所述气流单元包括具有容纳腔的气流室和固设在所述气流室内的鼓风件,且所述气流室上方设有出风口,所述集尘箱连通于所述气流室的下方;
所述吸尘罩与所述气流室之间设有内壁为圆滑曲面的通风道,且所述通风道与所述气流室的接口处为倾斜接口。
进一步的,还包括固设在所述出风口处的过滤单元,所述过滤单元包括第一过滤网、第二过滤网和与所述出风口处卡接的过滤网支架,所述第一过滤网与所述第二过滤网均设置在所述过滤网支架上。
进一步的,所述过滤单元的下端设有导风螺旋板,所述导风螺旋板能够使得气流室下部的气流快速向底部运动。
进一步的,所述导风螺旋板为单螺旋板或者双螺旋板。
进一步的,所述第一过滤网为海绵过滤网。
进一步的,所述第二过滤网为HEPA过滤网。
进一步的,所述吸尘罩、所述通风道、所述气流室和所述集尘箱彼此的连接处均设有密封垫。
进一步的,所述密封垫为硅胶材料。
进一步的,所述通风道的横截面呈圆形。
本实用新型的有益效果为:
该铝箔分切机吸尘装置包括设有进风口的吸尘罩和用于将铝屑沿吸尘罩吸入的气流单元,气流单元包括具有容纳腔的气流室和固设在气流室内的鼓风件,且气流室上方设有出风口,工作时,气流室内的鼓风件转动使得气流室内的气流快速流动,由于吸尘罩、气流室和集尘箱三者彼此连通,因此,该铝箔分切机吸尘装置的内部与外部形成一个气压差,即铝箔粉屑能够从进风口进入,其中,通风道的内壁为圆滑曲面,即通风道的内壁没有折角处,且内壁形状均匀,变形处圆滑过渡。因此,气流流通顺畅,不会对流通的空气造成阻挡,继而不会阻碍空气中夹杂的铝箔粉屑随空气流动,不容易造成管道堵塞,可减少对通风道的清理频率;并且,由于通风道的内壁没有折角处,且变形处圆滑过渡,因而不会发生气流与折角处或者变形处撞击,从而降低了噪音,减少了较高的噪音对工作人员耳膜的伤害;再者,气流在通风道内不会发生撞击,且通风道的内壁没有折角处、变形处圆滑过渡,气流在通风道内不会产生反射,因而不会消耗气流的能量,节约能源。
本实用新型提供的铝箔分切机吸尘装置通过设有内壁为圆滑曲面的通风管道,由于通风管道的内壁形状均匀,变形处圆滑过渡,因此,气流流通顺畅,不会对流通的空气造成阻挡,继而不会阻碍空气中夹杂的铝箔粉屑随空气流动,不容易造成管道堵塞。同时,由于通风道的内壁没有折角处,且变形处圆滑过渡,因而不会发生气流与折角处或者变形处撞击,从而降低了噪音,具有实用性强及功能性的特点。
其中,通风道与气流室的接口处为倾斜接口,当气流经由进风口进入并经由通风道与气流室的接口处的倾斜接口时,吸入的气流会改变行进方向,并在气流室内形成旋转的气流,此时铝箔屑在重力的作用下落入集尘箱。
本实用新型提供一种具有上述铝箔分切机吸尘装置的铝箔分切机。
本实用新型的有益效果为:
该铝箔分切机与上述铝箔分切机吸尘装置所具有的优势相同,在此不再赘述。
附图说明
图1为本实用新型实施例一提供的铝箔分切机吸尘装置的正视图;
图2为图1中A-A方向的剖视图;
图3为图1中气流室具有倾斜接口的接口示意图;
图4为本实用新型实施例二提供的具有铝箔分切机吸尘装置的铝箔分切机的结构示意图。
图标:1-进风口;2-吸尘罩;3-气流单元;4-集尘箱;5-通风道;6-倾斜接口;7-导风螺旋板;8-铝箔分切机;31-气流室;32-出风口。
具体实施方式
下面将结合附图对本实用新型的技术方案进行清楚、完整地描述,显然,所描述的实施例是本实用新型一部分实施例,而不是全部的实施例。基于本实用新型中的实施例,本领域普通技术人员在没有做出创造性劳动前提下所获得的所有其他实施例,都属于本实用新型保护的范围。
在本实用新型的描述中,需要说明的是,术语“中心”、“上”、“下”、“左”、“右”、“竖直”、“水平”、“内”、“外”等指示的方位或位置关系为基于附图所示的方位或位置关系,仅是为了便于描述本实用新型和简化描述,而不是指示或暗示所指的装置或元件必须具有特定的方位、以特定的方位构造和操作,因此不能理解为对本实用新型的限制。此外,术语“第一”、“第二”、“第三”仅用于描述目的,而不能理解为指示或暗示相对重要性。
在本实用新型的描述中,需要说明的是,除非另有明确的规定和限定,术语“安装”、“相连”、“连接”应做广义理解,例如,可以是固定连接,也可以是可拆卸连接,或一体地连接;可以是机械连接,也可以是电连接;可以是直接相连,也可以通过中间媒介间接相连,可以是两个元件内部的连通。对于本领域的普通技术人员而言,可以具体情况理解上述术语在本实用新型中的具体含义。
以下,基于附图说明本实用新型的结构。
实施例一
如图1和图3所示,本实施例提供的一种铝箔分切机吸尘装置,包括设有进风口1的吸尘罩2、用于将铝屑沿吸尘罩2吸入的气流单元3和用于存放铝屑的集尘箱4。
气流单元3包括具有容纳腔的气流室31和固设在气流室31内的鼓风件,且气流室31上方设有出风口32,集尘箱4连通于气流室31 的下方。
吸尘罩2与气流室31之间设有内壁为圆滑曲面的通风道5,且通风道5与气流室31的接口处为倾斜接口6。
该铝箔分切机吸尘装置包括设有进风口1的吸尘罩2和用于将铝屑沿吸尘罩2吸入的气流单元3,气流单元3包括具有容纳腔的气流室31和固设在气流室31内的鼓风件,且气流室31上方设有出风口 32,工作时,气流室31内的鼓风件转动使得气流室31内的气流快速流动,由于吸尘罩2、气流室31和集尘箱三者彼此连通,因此,该铝箔分切机吸尘装置的内部与外部形成一个气压差,即铝箔粉屑能够从进风口1进入,其中,通风道5的内壁为圆滑曲面,即通风道5 的内壁没有折角处,且内壁形状均匀,变形处圆滑过渡。因此,气流流通顺畅,不会对流通的空气造成阻挡,继而不会阻碍空气中夹杂的铝箔粉屑随空气流动,不容易造成管道堵塞,可减少对通风道5的清理频率。
同时,由于通风道5的内壁没有折角处,且变形处圆滑过渡,因而不会发生气流与折角处或者变形处撞击,从而降低了噪音,减少了较高的噪音对工作人员耳膜的伤害;再者,气流在通风道5内不会发生撞击,且通风道5的内壁没有折角处、变形处圆滑过渡,气流在通风道5内不会产生反射,因而不会消耗气流的能量,节约能源。
本实施例提供的铝箔分切机吸尘装置通过设有内壁为圆滑曲面的通风管道,由于通风管道的内壁形状均匀,变形处圆滑过渡,因此,气流流通顺畅,不会对流通的空气造成阻挡,继而不会阻碍空气中夹杂的铝箔粉屑随空气流动,不容易造成管道堵塞。同时,由于通风道 5的内壁没有折角处,且变形处圆滑过渡,因而不会发生气流与折角处或者变形处撞击,从而降低了噪音,具有实用性强及功能性的特点。
如图3所示,在本实施例中,通风道5与气流室31的接口处为倾斜接口6,当气流经由进风口1进入并经由通风道5与气流室31 的接口处的倾斜接口6时,吸入的气流会改变行进方向,并在气流室 31内形成旋转的气流,此时铝箔屑在重力的作用下落入集尘箱4。
具体的,该铝箔分切机吸尘装置还包括固设在出风口32处的过滤单元,过滤单元包括第一过滤网、第二过滤网和与出风口32处卡接的过滤网支架,第一过滤网与第二过滤网均设置在过滤网支架上。
在本实施例中,铝箔屑在重力的作用下落入集尘箱4,灰尘及铝箔粉向上扬起,并通过第一过滤网与第二过滤网过滤,过滤后的气体从出风口32排出,第一过滤网与第二过滤网能够较好的将进入气流室31内的空气进行净化过滤后再排除。
其中,第一过滤网与第二过滤网均设置在过滤网支架上,过滤网支架与出风口32处卡接,清理第一过滤网与第二过滤网时,过滤网支架能够方便的从出风口32上拆卸下来,进一步对第一过滤网与第二过滤进行更加全方位的清洗。同时,可拆卸式的过滤网支架使得使用时长过久的过滤组件能够方便的更换,进一步提高该铝箔分切机吸尘装置的实用性。
如图2所示,其中,过滤单元的下端设有导风螺旋板7,导风螺旋板7能够使得气流室31下部的气流快速向底部运动。
其中,为能够增加除尘效果,在本实施例中的过滤单元的下端设有导风螺旋板7。在进行清除加工过程中产生的铝箔粉屑时,含有粉屑的气流从进风口1进入气流室31内,在导风螺旋板7的作用下,气流中的粉屑由于离心力被甩到气流室31的侧壁上,然后再落到气流室31的底部并落入集尘箱4内。
相对较轻的灰尘及铝箔粉向上被扬起,然后经由过滤单元从出风口32处排出。导风螺旋板7会使气流室31下部的旋转气流向气流室 31底部运动,粉屑在旋转的过程中通过重力和螺旋的导向作用,能快速旋转到底部,并且不会往上跑。同时,导风螺旋板7还可以减弱气流室31下部气流的流动速度,有利于铝箔屑沉降并防止被气流吹起,从而产生良好地除尘效果。
具体的,导风螺旋板7为多螺旋板。在本实施例中,结合该铝箔分切机吸尘装置的功率情况,根据具体实际情况,导风螺旋板7可以为一个、两个、三个、四个、五个等,在功率较小的铝箔分切机中,由于气流室31内的气流较弱,采用单螺旋板的导风螺旋板7即可实现上述效果;在功率较大的铝箔分切机中,由于气流室31内的气流较强,采用至少两个螺旋板的导风螺旋板7可以获得更好的除尘效果。
具体的,在本实施例中的第一过滤网为海绵过滤网,海绵过滤网能够较好的将空气中大颗粒的灰尘初步过滤掉。
其中,第二过滤网为HEPA过滤网(High Efficiency Particulate Arresting,高效粒子空气过滤网)。HEPA过滤网(High Efficiency Particulate Arresting,高效粒子空气过滤网)是一种风阻小,容尘量大,过滤精度高的干型高效空气过滤器,其由叠片状硼硅微纤维制成。HEPA过滤网(High Efficiency Particulate Arresting,高效粒子空气过滤网)可以根据实际需要加工成各种尺寸和形状,适合不同的机型使用。经由HEPA过滤网(High Efficiency Particulate Arresting,高效粒子空气过滤网)过滤的脏空气,过滤清洁效果更加,使得经出风口32排出的空气更加清洁。
其中,吸尘罩2、通风道5、气流室31和集尘箱4彼此的连接处均设有密封垫。
在本实施例中,吸尘罩2、通风道5、气流室31和集尘箱4彼此的连接处均设有密封垫能够提高该铝箔分切机的密封效果,减少甚至避免掺杂有铝箔粉屑的气流经由吸尘罩2、通风道5、气流室31和集尘箱4彼此的连接处泄露,造成除尘效率低,影响除尘效果。
具体的,在本实施例中,密封垫为硅胶材料。
在本实施中,硅胶具有较好的延展性、密闭性和无毒无臭的特性,且低碳环保、表面极为干净、卫生,价格便宜、市场来源广。同时,硅胶材质柔软,使用方便,可以应用在各种规则和/或不规则的零件表面以起到填充作用。
其中,通风道5的横截面呈圆形。
在本实施例中,通风道5的横截面可以为椭圆形、长圆形等圆滑曲面,优选地,通风道5的横截面呈圆形。
通风道5的横截面呈圆形,即在通风道5的任一个横截面上,通风道5的中心点距离通风道5的内壁各个点的距离相等,且通风道5 的内壁上各个点的曲率相同,因而气流能够流量均匀的通过通风道5 的内壁,因而减少对通风道5的内壁的撞击,进一步减小噪音,气流的能量损失,且能够进一步减小灰尘等杂质在通风道5的内壁的堵塞率。
在本实施例中,优选地,通风道5的材料为PVC。
PVC,(Polyvinyl chloride,聚氯乙烯)是在光、热作用下按自由基聚合反应机理聚合而成的聚合物。当然,通风道5的材料还可以为其他塑料,例如PE(聚乙烯),PPR(三型聚丙烯)等,但是PVC 具有较好的抗拉、抗压强度;管壁非常光滑,流体阻力小;耐腐蚀性优良,不受潮湿水分和杂质的影响,使用寿命长;具有良好的流体密封性等优点,因此通风道5的材料优选PVC。
实施例二
如图4所示,本实施例提供一种铝箔分切机8,该铝箔分切机8 具有上述实施例一所述的铝箔分切机吸尘装置。
该铝箔分切机8与上述铝箔分切机吸尘装置所具有的优势相同,在此不再赘述。
最后应说明的是:以上各实施例仅用以说明本实用新型的技术方案,而非对其限制;尽管参照前述各实施例对本实用新型进行了详细的说明,本领域的普通技术人员应当理解:其依然可以对前述各实施例所记载的技术方案进行修改,或者对其中部分或者全部技术特征进行等同替换;而这些修改或者替换,并不使相应技术方案的本质脱离本实用新型各实施例技术方案的范围。

技术特征:
1.一种铝箔分切机吸尘装置,其特征在于,包括设有进风口的吸尘罩、用于将铝屑沿所述吸尘罩吸入的气流单元和用于存放铝屑的集尘箱;
所述气流单元包括具有容纳腔的气流室和固设在所述气流室内的鼓风件,且所述气流室上方设有出风口,所述集尘箱连通于所述气流室的下方;
所述吸尘罩与所述气流室之间设有内壁为圆滑曲面的通风道,且所述通风道与所述气流室的接口处为倾斜接口。
2.根据权利要求1所述的铝箔分切机吸尘装置,其特征在于,还包括固设在所述出风口处的过滤单元,所述过滤单元包括第一过滤网、第二过滤网和与所述出风口处卡接的过滤网支架,所述第一过滤网与所述第二过滤网均设置在所述过滤网支架上。
3.根据权利要求2所述的铝箔分切机吸尘装置,其特征在于,所述过滤单元的下端设有导风螺旋板,所述导风螺旋板能够使得气流室下部的气流快速向底部运动。
4.根据权利要求3所述的铝箔分切机吸尘装置,其特征在于,所述导风螺旋板为单螺旋板或者双螺旋板。
5.根据权利要求2所述的铝箔分切机吸尘装置,其特征在于,所述第一过滤网为海绵过滤网。
6.根据权利要求2所述的铝箔分切机吸尘装置,其特征在于,所述第二过滤网为HEPA过滤网。
7.根据权利要求4所述的铝箔分切机吸尘装置,其特征在于,所述吸尘罩、所述通风道、所述气流室和所述集尘箱彼此的连接处均设有密封垫。
8.根据权利要求7所述的铝箔分切机吸尘装置,其特征在于,所述密封垫为硅胶材料。
9.根据权利要求1所述的铝箔分切机吸尘装置,其特征在于,所述通风道的横截面呈圆形。
10.一种铝箔分切机,其特征在于,包括如权利要求1-9任一项所述铝箔分切机吸尘装置。
技术总结
本实用新型提供了一种铝箔分切机吸尘装置及铝箔分切机,涉及铝箔分切机除尘技术领域,该铝箔分切机吸尘装置包括设有进风口的吸尘罩、用于将铝屑沿所述吸尘罩吸入的气流单元和用于存放铝屑的集尘箱,所述气流单元包括具有容纳腔的气流室和固设在所述气流室内的鼓风件,且所述气流室上方设有出风口,所述集尘箱连通于所述气流室的下方,所述吸尘罩与所述气流室之间设有内壁为圆滑曲面的通风道,且所述通风道与所述气流室的接口处为倾斜接口。本实用新型的铝箔分切机吸尘装置具有不易造成管道堵塞且噪音小的特点。
技术研发人员:郭忠良;陶华荣;王福成;贾永德;祁西林
受保护的技术使用者:青海金阳光电子材料有限公司
文档号码:201721147166
技术研发日:2017.09.01
技术公布日:2018.04.10