
本实用新型涉及纸卷分切技术领域,尤其涉及一种票据分切机。
背景技术:
分切机是一种将宽幅卷筒纸分切并复卷成多条窄幅卷材的纸张加工设备,常用于收银纸、电脑票据、POS打印纸、不干胶标签等票据的分切制造。一般的,票据分切机上设有印色机构,用于对票据开始收卷时的开头做标记,以起到提示用户标签即将用完的作用。传统的,票据分切机的印色装置位于收卷机构的下方,采用气缸加上水笔构成,收卷开始时,通过气缸驱动水笔压在纸上画出色带即可实现标记。但是,采用上述方式,由于水笔的笔头并不是统一平整的,且所有的水笔是固定在一根杆上,很难保证所有的水笔角度一致,导致画出来的标记线有差异,色带长度或宽度不一致,色带不稳定。
技术实现要素:
基于此,有必要提供一种票据分切机,该票据分切机印刷的色带整齐稳定。
其技术方案如下:
一种票据分切机,包括:
放卷机构,用于将待分切纸卷放卷;
导辊输送机构,包括多根过纸辊,所述导辊输送机构用于将待分切纸卷输送至分切机构处;
分切机构,用于将待分切纸卷分切成至少两条分纸卷;
收卷机构,用于将至少两条所述分纸卷分别收卷;及
印色机构,所述印色机构设置在所述放卷机构与所述分切机构之间,所述印色机构包括墨盘、印色墨辊以及印色胶辊,所述印色胶辊设置在其中两根所述过纸辊之间,所述印色墨辊与所述印色胶辊相对设置,所述印色墨辊用于将所述墨盘内的墨传递至所述印色胶辊上的待分切纸卷上。
在其中一个实施例中,所述墨盘包括第一墨盘和第二墨盘,所述印色胶辊包括与所述第一墨盘相对应的第一胶辊和与所述第二墨盘相对应的第二胶辊,所述印色墨辊包括与所述第一胶辊相对应的第一墨辊和与所述第二胶辊相对应的第二墨辊,所述第一胶辊与所述第二胶辊之间设有转面过纸辊,在所述第一胶辊处,待分切纸卷的一面与所述第一墨辊相对设置,在所述第二胶辊处,待分切纸卷的另一面与所述第二墨辊相对设置。
在其中一个实施例中,所述印色机构还包括第一气缸和第二气缸,所述第一气缸与所述第一胶辊驱动连接,所述第一气缸用于驱动所述第一胶辊与所述第一墨辊贴合或分开,所述第二气缸与所述第二胶辊驱动连接,所述第二气缸用于驱动所述第二胶辊与所述第二墨辊贴合或分开。
在其中一个实施例中,所述印色机构还包括印色机架,所述第一墨盘、第二墨盘、第一胶辊、第二胶辊、第一墨辊、第二墨辊以及转面过纸辊均设置在所述印色机架上,所述第一墨盘、第一胶辊、第一墨辊与所述第二墨盘、第二胶辊、第二墨辊分别对称设置在所述印色机架的两侧,所述转面过纸辊包括第一转面辊和第二转面辊,所述第一转面辊设于所述第二胶辊的下方,所述第二转面辊设于所述第二胶辊的上方。
在其中一个实施例中,所述印色机架上还设有进纸辊、第一备用辊以及第二备用辊,所述进纸辊与所述第一备用辊对称设置在所述印色机架的两侧,所述第二备用辊与所述第一转面辊相对于所述印色机架的两侧的中部对称设置,所述第二转面辊设置在所述第二备用辊与所述第一转面辊的中心线上。
在其中一个实施例中,所述第一墨辊包括至少两根相互传动的墨辊,其中最首端的一根所述墨辊位于所述第一墨盘内,其中最尾端的一根所述墨辊与所述第一胶辊相对设置;
所述第二墨辊包括至少两根相互传动的墨辊,其中最首端的一根所述墨辊位于所述第二墨盘内,其中最尾端的一根所述墨辊与所述第二胶辊相对设置。
在其中一个实施例中,所述第一墨辊包括三根相互传动的墨辊,所述第二墨辊包括三根相互传动的墨辊。
在其中一个实施例中,所述印色胶辊通过齿轮传动驱动,所述印色墨辊通过齿轮传动驱动。
在其中一个实施例中,所述票据分切机还包括纠偏器,所述纠偏器设置在所述印色机构与所述分切机构之间,且所述纠偏器设置在所述印色胶辊与所述导辊输送机构的其中一根过纸辊之间。
在其中一个实施例中,所述票据分切机还包括压纸机构,所述压纸机构设于所述收卷机构的上方,当所述收卷机构的收卷轴进行收卷时,所述压纸机构用于压紧所述收卷机构的收卷轴。
本实用新型的有益效果在于:
所述票据分切机,放卷机构、导辊输送机构、分切机构以及收卷机构能够依次实现待分切纸卷的放卷、输送、分切以及分纸卷的收卷,通过在放卷机构与分切机构之间设置印色机构,待分切纸卷放卷后先经过印色机构后再进行分切,当上一次的收卷完成后,印色机构开始工作,印色墨辊与印色胶辊贴合,印色墨辊将墨盘里的墨传递到待分切纸卷上印刷色带,实现在待分切纸卷开始收卷时的开头做下标记,为下一次的收卷做好准备,无需印刷色带时,印色墨辊与印色胶辊分开,印色机构停止工作。所述票据分切机,通过在分切之前对待分切纸卷进行印色,且采用印色墨辊与印色胶辊配合进行印色,印刷得到的色带长度和宽度一致,色带稳定,能够有效被机器识别。
附图说明
图1为本实用新型实施例所述的票据分切机的结构示意图;
图2为本实用新型实施例所述的印色机构的结构示意图。
附图标记说明:
10、放卷机构,20、导辊输送机构,21、过纸辊,30、分切机构,40、收卷机构,50、印色机构,51、墨盘,511、第一墨盘,512、第二墨盘,52、印色墨辊,521、第一墨辊,522、第二墨辊,53、印色胶辊,531、第一胶辊,532、第二胶辊,54、转面过纸辊,541、第一转面辊,542、第二转面辊,55、印色机架,56、进纸辊,57、第一备用辊,58、第二备用辊,60、纠偏器,70、压纸机构,80、排废管道,90、驱纸机构,91、驱纸辊,92、驱动气缸,1、待分切纸卷。
具体实施方式
为了便于理解本实用新型,下面将参照相关附图对本实用新型进行更全面的描述。附图中给出了本实用新型的较佳实施方式。但是,本实用新型可以以许多不同的形式来实现,并不限于本文所描述的实施方式。相反地,提供这些实施方式的目的是使对本实用新型的公开内容理解的更加透彻全面。
需要说明的是,当元件被称为“固定于”另一个元件,它可以直接在另一个元件上或者也可以存在居中的元件。当一个元件被认为是“连接”另一个元件,它可以是直接连接到另一个元件或者可能同时存在居中元件。相反,当元件被称作“直接在”另一元件“上”时,不存在中间元件。本文所使用的术语“垂直的”、“水平的”、“左”、“右”以及类似的表述只是为了说明的目的,并不表示是唯一的实施方式。
除非另有定义,本文所使用的所有的技术和科学术语与属于本实用新型的技术领域的技术人员通常理解的含义相同。本文中在本实用新型的说明书中所使用的术语只是为了描述具体的实施方式的目的,不是旨在于限制本实用新型。本文所使用的术语“及/或”包括一个或多个相关的所列项目的任意的和所有的组合。本文所使用的术语“第一”、“第二”等在本文中用于区分对象,但这些对象不受这些术语限制。
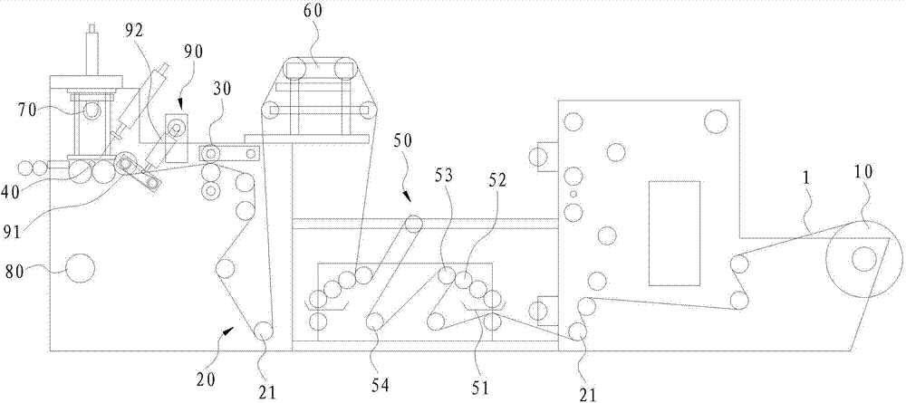
如图1所示,一种票据分切机,包括:
放卷机构10,用于将待分切纸卷1放卷;
导辊输送机构20,包括多根过纸辊21,所述导辊输送机构20用于将待分切纸卷1输送至分切机构30处;
分切机构30,用于将待分切纸卷1分切成至少两条分纸卷;
收卷机构40,用于将至少两条所述分纸卷分别收卷;及
印色机构50,所述印色机构50设置在所述放卷机构10与所述分切机构30之间,所述印色机构50包括墨盘51、印色墨辊52以及印色胶辊53,所述印色胶辊53设置在其中两根所述过纸辊21之间,所述印色墨辊52与所述印色胶辊53相对设置,所述印色墨辊52用于将所述墨盘51内的墨传递至所述印色胶辊53上的待分切纸卷1上。本实施例中,所述印色胶辊53设置在其中两根所述过纸辊21之间,具体指待分切纸卷1进行传输走纸时,待分切纸卷经过导辊输送机构20的一根过纸辊21传输进入印色机构50中,然后穿过印色胶辊53后传输离开印色机构50,再继续通过导辊输送机构20的另一根过纸辊21继续走纸。
所述票据分切机,放卷机构10、导辊输送机构20、分切机构30以及收卷机构40能够依次实现待分切纸卷1的放卷、输送、分切以及分纸卷的收卷,通过在放卷机构10与分切机构30之间设置印色机构50,待分切纸卷1放卷后先经过印色机构50后再进行分切,当上一次的收卷完成后,印色机构50开始工作,印色墨辊52与印色胶辊53贴合,印色墨辊52将墨盘51里的墨传递到待分切纸卷1上印刷色带,实现在待分切纸卷1开始收卷时的开头做下标记,为下一次的收卷做好准备,无需印刷色带时,印色墨辊52与印色胶辊53分开,印色机构50停止工作。所述票据分切机,通过在分切之前对待分切纸卷1进行印色,且采用印色墨辊52与印色胶辊53配合进行印色,印刷得到的色带长度和宽度一致,色带稳定,能够有效被机器识别。
具体地,印色机构50可通过票据分切机的控制系统进行控制。当上一次的收卷完成后,控制系统给出指令,可先使机器整体速度降低,然后控制印色机构50开始工作,在待分切纸卷1上印上一定长度如两米长度的色带,为下一次收卷做好准备。所述印色胶辊53为可移动结构,印色胶辊53可通过气缸驱动,当无需印色时,印色机构50不工作,印色胶辊53与印色墨辊52为分开状态,当需要印色时,印色机构50工作,气缸驱动印色胶辊53推进贴合印色墨辊52,即可将墨盘51里的墨传递到待分切纸卷1上,实现印色。
可选地,所述印色胶辊53通过齿轮传动驱动,齿轮传动驱动平稳可靠,能够保持待分切纸卷1的输送平稳,进而提高印色的均匀性。所述印色墨辊52通过齿轮传动驱动,对墨的传导平稳,能够提高印色的均匀性。
本实施例中,如图1、图2所示,所述墨盘51包括第一墨盘511和第二墨盘512。所述印色胶辊53包括与所述第一墨盘511相对应的第一胶辊531和与所述第二墨盘512相对应的第二胶辊532。所述印色墨辊52包括与所述第一胶辊531相对应的第一墨辊521和与所述第二胶辊532相对应的第二墨辊522。所述第一胶辊531与所述第二胶辊532之间设有转面过纸辊54。在所述第一胶辊531处,待分切纸卷1的一面与所述第一墨辊521相对设置;在所述第二胶辊532处,待分切纸卷1的另一面与所述第二墨辊522相对设置。采用上述结构,本实施例的票据分切机具备双面印色功能,可以根据需要控制第一胶辊531与第一墨辊521配合,及/或,控制第二胶辊532与第二墨辊522配合,进而实现对待分切纸卷1进行双面印色或单面印色。
进一步地,所述印色机构50还包括第一气缸和第二气缸。所述第一气缸与所述第一胶辊531驱动连接,所述第一气缸用于驱动所述第一胶辊531与所述第一墨辊521贴合或分开。所述第二气缸与所述第二胶辊532驱动连接,所述第二气缸用于驱动所述第二胶辊532与所述第二墨辊522贴合或分开。进而,通过控制第一气缸或第二气缸,即可对应控制第一胶辊531与第一墨辊521配合,或第二胶辊532与第二墨辊522配合,实现对待分切纸卷1进行双面印色或单面印色,控制简单方便。
具体地,转面过纸辊54可以设计为多种结构,如包括多根辊,并对应设置各根辊的设置位置,其目的是实现待分切纸卷1的转面,使得第一墨辊521与第二墨辊522分别与待分切纸卷1的不同表面相对,便于实现双面印色。本实施例中,所述印色机构50还包括印色机架55。所述第一墨盘511、第二墨盘512、第一胶辊531、第二胶辊532、第一墨辊521、第二墨辊522以及转面过纸辊54均设置在所述印色机架55上。所述第一墨盘511、第一胶辊531、第一墨辊521与所述第二墨盘512、第二胶辊532、第二墨辊522分别对称设置在所述印色机架55的两侧。所述转面过纸辊54包括第一转面辊541和第二转面辊542,所述第一转面辊541设于所述第二胶辊532的下方,所述第二转面辊542设于所述第二胶辊532的上方。采用上述结构,进入印色机构50的待分切卷纸依次通过第一胶辊531、第一转面辊541、第二转面辊542及第二胶辊532后穿出,即可实现待分切纸卷1的转面,结构简单。
进一步地,所述印色机架55上还设有进纸辊56、第一备用辊57以及第二备用辊58。所述进纸辊56与所述第一备用辊57对称设置在所述印色机架55的两侧。所述第二备用辊58与所述第一转面辊541相对于所述印色机架55的两侧的中部对称设置。所述第二转面辊542设置在所述第二备用辊58与所述第一转面辊541的中心线上。采用上述结构,印色机构50的两侧呈对称结构,待分切纸卷1进入印色机构50时,可依次穿过进纸辊56、第二备用辊58、第一胶辊531、第一转面辊541、第二转面辊542及第二胶辊532后穿出,也可以依次穿过第一备用辊57、第一转面辊541、第二胶辊532、第二备用辊58、第二转面辊542及第一胶辊531后穿出,均可实现待分切纸卷1的走纸,印色机构50安装时无需区分相应侧,安装便捷。
本实施例中,所述第一墨辊521包括至少两根相互传动的墨辊,其中最首端的一根所述墨辊位于所述第一墨盘511内,其中最尾端的一根所述墨辊与所述第一胶辊531相对设置。采用上述结构,至少两根墨辊相互传动将第一墨盘511里的墨传递至第一胶辊531上,能够使得传递到待分切纸卷1上的色带颜色均匀,图形规则。所述第二墨辊522包括至少两根相互传动的墨辊,其中最首端的一根所述墨辊位于所述第二墨盘512内,其中最尾端的一根所述墨辊与所述第二胶辊532相对设置。同样的,能够使得传递到待分切纸卷1上的色带颜色均匀,图形规则。
可选地,所述第一墨辊521包括三根相互传动的墨辊。第一墨辊521采用三根墨辊相互传动,将第一墨盘511里的墨传递至第一胶辊531上,整体传动结构设计简单,且能保证传递到待分切纸卷1上的色带颜色均匀好。所述第二墨辊522包括三根相互传动的墨辊。同样的,第二墨辊522采用三根墨辊相互传动,将第二墨盘512里的墨传递至第二胶辊532上,整体传动结构设计简单,且能保证传递到待分切纸卷1上的色带颜色均匀好。
本实施例中,如图1所示,所述票据分切机还包括纠偏器60,所述纠偏器60设置在所述印色机构50与所述分切机构30之间,且所述纠偏器60设置在所述印色胶辊53与所述导辊输送机构20的其中一根过纸辊21之间。通过采用上述结构,纠偏器60能够对待分切纸卷1的横向跑偏进行控制,使得后续加工动作容易配合,前后段的收发料动作平整。具体地,纠偏器60的结构可参考现有技术,此处不再赘述。
本实施例中,所述票据分切机还包括压纸机构70,所述压纸机构70设于所述收卷机构40的上方。当所述收卷机构40的收卷轴进行收卷时,所述压纸机构70用于压紧所述收卷机构40的收卷轴。通过设置压纸机构70,压纸机构70能够在收卷时将收卷轴上的分纸卷压紧,使收卷出来的分纸卷紧密。具体地,压纸机构70可以通过气缸驱动上下移动,其具体结构可参考现有技术,此处不再赘述。
所述票据分切机还包括排废管道80与吹料风机(图中未示出)。所述排废管道80上设有用于装入所述分切机构30切掉的废边料的排废孔。所述吹料风机用于将装入所述排废管道80中的废边料吹出。采用上述结构,分切机构30切掉的废边料能够通过排废孔放进排废管道80内,然后通过排废风机将废边料吹出去,能够防止废料推积影响设备正常工作。
所述票据分切机还包括设置在所述分切机构30与所述收卷机构40之间的驱纸机构90。所述驱纸机构90包括驱纸辊91,所述驱纸辊91用于驱动经分切机构30分切后的分纸卷运动至所述收卷机构40处。所述驱纸机构90还包括用于驱动所述驱纸辊91压紧或松开分纸卷的驱动气缸92。采用上述结构,驱纸辊能够驱动分纸卷运动,此外,驱动气缸92能够驱动驱纸辊91压紧或松开分纸卷,进而当收卷完成时,驱纸辊91能够压紧分纸卷,防止收卷完成将分纸卷割断时纸会变松或者掉下去,而当需要收卷时,驱纸辊91又能够松开并驱动分纸卷运动,本实施例的驱纸机构90具备驱纸和压住纸的功能。本实施例所述的票据分切机可以通过传统的FQ500票据分切机改造制造得到,制造方便,能够节省制造成本。
以上所述实施例的各技术特征可以进行任意的组合,为使描述简洁,未对上述实施例中的各个技术特征所有可能的组合都进行描述,然而,只要这些技术特征的组合不存在矛盾,都应当认为是本说明书记载的范围。
以上所述实施例仅表达了本实用新型的几种实施方式,其描述较为具体和详细,但并不能因此而理解为对实用新型专利范围的限制。应当指出的是,对于本领域的普通技术人员来说,在不脱离本实用新型构思的前提下,还可以做出若干变形和改进,这些都属于本实用新型的保护范围。因此,本实用新型专利的保护范围应以所附权利要求为准。

技术特征:
1.一种票据分切机,其特征在于,包括:
放卷机构,用于将待分切纸卷放卷;
导辊输送机构,包括多根过纸辊,所述导辊输送机构用于将待分切纸卷输送至分切机构处;
分切机构,用于将待分切纸卷分切成至少两条分纸卷;
收卷机构,用于将至少两条所述分纸卷分别收卷;及
印色机构,所述印色机构设置在所述放卷机构与所述分切机构之间,所述印色机构包括墨盘、印色墨辊以及印色胶辊,所述印色胶辊设置在其中两根所述过纸辊之间,所述印色墨辊与所述印色胶辊相对设置,所述印色墨辊用于将所述墨盘内的墨传递至所述印色胶辊上的待分切纸卷上。
2.根据权利要求1所述的票据分切机,其特征在于,所述墨盘包括第一墨盘和第二墨盘,所述印色胶辊包括与所述第一墨盘相对应的第一胶辊和与所述第二墨盘相对应的第二胶辊,所述印色墨辊包括与所述第一胶辊相对应的第一墨辊和与所述第二胶辊相对应的第二墨辊,所述第一胶辊与所述第二胶辊之间设有转面过纸辊,在所述第一胶辊处,待分切纸卷的一面与所述第一墨辊相对设置,在所述第二胶辊处,待分切纸卷的另一面与所述第二墨辊相对设置。
3.根据权利要求2所述的票据分切机,其特征在于,所述印色机构还包括第一气缸和第二气缸,所述第一气缸与所述第一胶辊驱动连接,所述第一气缸用于驱动所述第一胶辊与所述第一墨辊贴合或分开,所述第二气缸与所述第二胶辊驱动连接,所述第二气缸用于驱动所述第二胶辊与所述第二墨辊贴合或分开。
4.根据权利要求2所述的票据分切机,其特征在于,所述印色机构还包括印色机架,所述第一墨盘、第二墨盘、第一胶辊、第二胶辊、第一墨辊、第二墨辊以及转面过纸辊均设置在所述印色机架上,所述第一墨盘、第一胶辊、第一墨辊与所述第二墨盘、第二胶辊、第二墨辊分别对称设置在所述印色机架的两侧,所述转面过纸辊包括第一转面辊和第二转面辊,所述第一转面辊设于所述第二胶辊的下方,所述第二转面辊设于所述第二胶辊的上方。
5.根据权利要求4所述的票据分切机,其特征在于,所述印色机架上还设有进纸辊、第一备用辊以及第二备用辊,所述进纸辊与所述第一备用辊对称设置在所述印色机架的两侧,所述第二备用辊与所述第一转面辊相对于所述印色机架的两侧的中部对称设置,所述第二转面辊设置在所述第二备用辊与所述第一转面辊的中心线上。
6.根据权利要求2所述的票据分切机,其特征在于,所述第一墨辊包括至少两根相互传动的墨辊,其中最首端的一根所述墨辊位于所述第一墨盘内,其中最尾端的一根所述墨辊与所述第一胶辊相对设置;
所述第二墨辊包括至少两根相互传动的墨辊,其中最首端的一根所述墨辊位于所述第二墨盘内,其中最尾端的一根所述墨辊与所述第二胶辊相对设置。
7.根据权利要求6所述的票据分切机,其特征在于,所述第一墨辊包括三根相互传动的墨辊,所述第二墨辊包括三根相互传动的墨辊。
8.根据权利要求1-7任一项所述的票据分切机,其特征在于,所述印色胶辊通过齿轮传动驱动,所述印色墨辊通过齿轮传动驱动。
9.根据权利要求1-7任一项所述的票据分切机,其特征在于,还包括纠偏器,所述纠偏器设置在所述印色机构与所述分切机构之间,且所述纠偏器设置在所述印色胶辊与所述导辊输送机构的其中一根过纸辊之间。
10.根据权利要求1-7任一项所述的票据分切机,其特征在于,还包括压纸机构,所述压纸机构设于所述收卷机构的上方,当所述收卷机构的收卷轴进行收卷时,所述压纸机构用于压紧所述收卷机构的收卷轴。
技术总结
本实用新型公开了一种票据分切机,包括放卷机构,用于将待分切纸卷放卷;导辊输送机构,包括多根过纸辊,所述导辊输送机构用于将待分切纸卷输送至分切机构处;分切机构,用于将待分切纸卷分切成至少两条分纸卷;收卷机构,用于将至少两条所述分纸卷分别收卷;及印色机构,所述印色机构设置在所述放卷机构与所述分切机构之间,所述印色机构包括墨盘、印色墨辊以及印色胶辊,所述印色墨辊与所述印色胶辊相对设置,所述印色墨辊用于将所述墨盘内的墨传递至所述印色胶辊上的待分切纸卷上。所述票据分切机,通过在分切之前对待分切纸卷进行印色,且采用印色墨辊与印色胶辊配合进行印色,印刷得到的色带长度和宽度一致,色带稳定。
技术研发人员:刘秀昌;罗旺成;朱华兵
受保护的技术使用者:广州九恒条码有限公司
文档号码:201720982309
技术研发日:2017.08.07
技术公布日:2018.03.30