
本实用新型涉及无纺布生产设备,尤其是一种无纺布分切机。
背景技术:
无纺布分切机使用中出现故障时需要及时停机检修,现有无纺布分切机出现故障时停机不方便,容易造成物料浪费。
技术实现要素:
为了解决现有技术存在的不足,本实用新型提供了一种方便停机检修的无纺布分切机。
本实用新型中的一种无纺布分切机,包括放料辊、收料辊、张力辊和分切刀,分切刀包括分设于无纺布两侧的左切削刀盘和右切削刀盘;左切削刀盘和右切削刀盘平行相对,左切削刀盘逆时针旋转,右切削刀盘顺时针旋转,左切削刀盘和右切削刀盘刀口相切,且相对一侧的圆周边缘为刀锋,底部张力辊上设有启停开关,开关与放料辊、收料辊、张力辊和分切刀动力系统相连,用于控制放料辊、收料辊、张力辊和分切刀开关;启停开关,包括上弹片和下弹片,上弹片下表面与下弹片上表面接触时,动力系统处于正常工作状态;上弹片上表面设有绝缘层,上弹片通过左导柱固定在底板上,下弹片左侧可滑动的安装在左导柱、右侧可滑动的安装在右导柱上;下弹片底部设有弹簧,弹簧用于使上弹片向上和下弹片接触。正常情况下,弹簧使下弹片向上运动与上弹片接触,动力系统处于正常运转状态,进行无纺布分切;当遇到故障时,通过脚踩下弹片,使下弹片和上弹片处于分离状态,动力系统处于断开状态,避免分切机继续运转造成物料的非正常损失。
作为优选,下弹片左侧部分与上弹片接触,下弹片右侧与上弹片不接触部位上设有绝缘层。操作安全,避免触电对操作人员的伤害。
作为优选,在下弹片右侧设有凸台,下弹片可相对左导柱和右导柱向左滑动,下弹片滑动至最左侧时,下弹片左侧部分位于凸台下方。当需要长时间停机时,将下弹片滑动至凸台下方,脚可离开上弹片,使用方便。
本实用新型的有益效果:正常情况下,弹簧使下弹片向上运动与上弹片接触,动力系统处于正常运转状态,进行无纺布分切;当遇到故障时,通过脚踩下弹片,使下弹片和上弹片处于分离状态,动力系统处于断开状态,避免分切机继续运转造成物料的非正常损失。
附图说明
图1为一种无纺布分切机结构示意图。
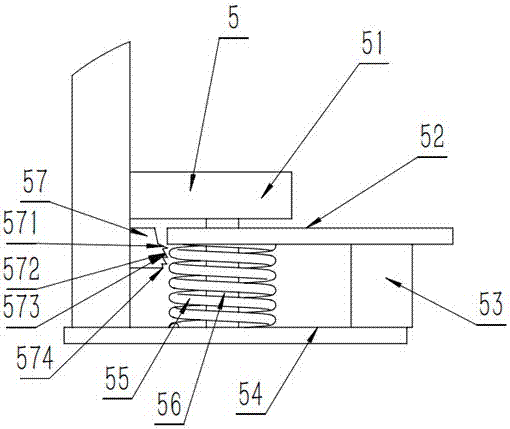
图2为开关结构示意图。
图中标记:1、放卷辊,2、收卷辊,3、张力辊,4、分切刀,5、启停开关,41,左切削刀盘,42、右切削刀盘,51、上弹片,52、下弹片,53、右导柱,54、底板,55、弹簧,56,左导柱,57、凸台。
具体实施方式
下面结合附图对本实用新型作进一步详细说明,但不应将此理解为本实用新型的上述主题的范围仅限于上述实施例。
如图1-2所示,一种无纺布分切机,包括放料辊1、收料辊2、张力辊3和分切刀4,分切刀包括分设于无纺布两侧的左切削刀盘41和右切削刀盘42;左切削刀盘41和右切削刀盘42平行相对,左切削刀盘41逆时针旋转,右切削刀盘42顺时针旋转,左切削刀盘41和右切削刀盘42刀口相切,且相对一侧的圆周边缘为刀锋,底部张力辊3上设有启停开关5,开关5与放料辊1、收料辊2、张力辊3和分切刀4动力系统相连,用于控制放料辊1、收料辊2、张力辊3和分切刀4开关;启停开关5,包括上弹片51和下弹片52,上弹片51下表面与下弹片52上表面接触时,动力系统处于正常工作状态;上弹片51上表面设有绝缘层,上弹片51通过左导柱56固定在底板54上,下弹片52左侧可滑动的安装在左导柱56、右侧可滑动的安装在右导柱53上;下弹片52底部设有弹簧55,弹簧55用于使上弹片51向上和下弹片52接触。正常情况下,弹簧55使下弹片52向上运动与上弹片51接触,动力系统处于正常运转状态,进行无纺布分切;当遇到故障时,通过脚踩下弹片52,使下弹片52和上弹片51处于分离状态,动力系统处于断开状态,避免分切机继续运转造成物料的非正常损失。
作为优选,下弹片52左侧部分与上弹片51接触,下弹片52右侧与上弹片51不接触部位上设有绝缘层。操作安全,避免触电对操作人员的伤害。
作为优选,在下弹片52右侧设有凸台57,下弹片52可相对左导柱56和右导柱53向左滑动,下弹片52滑动至最左侧时,下弹片52左侧部分位于凸台57下方。当需要长时间停机时,将下弹片52滑动至凸台57下方,脚可离开上弹片5,使用方便。
技术特征:
1.一种无纺布分切机,包括放料辊、收料辊、张力辊和分切刀,分切刀包括分设于无纺布两侧的左切削刀盘和右切削刀盘;左切削刀盘和右切削刀盘平行相对,左切削刀盘逆时针旋转,右切削刀盘顺时针旋转,左切削刀盘和右切削刀盘刀口相切,且相对一侧的圆周边缘为刀锋,其特征在于,底部张力辊上设有启停开关,开关与放料辊、收料辊、张力辊和分切刀动力系统相连,用于控制放料辊、收料辊、张力辊和分切刀开关;启停开关,包括上弹片和下弹片,上弹片下表面与下弹片上表面接触时,动力系统处于正常工作状态;上弹片上表面设有绝缘层,上弹片通过左导柱固定在底板上,下弹片左侧可滑动的安装在左导柱、右侧可滑动的安装在右导柱上;下弹片底部设有弹簧,弹簧用于使上弹片向上和下弹片接触。
2.根据权利要求1所述的一种无纺布分切机,其特征在于,下弹片左侧部分与上弹片接触,下弹片右侧与上弹片不接触部位上设有绝缘层。
3.根据权利要求1所述的一种无纺布分切机,其特征在于,在下弹片右侧设有凸台,下弹片可相对左导柱和右导柱向左滑动,下弹片滑动至最左侧时,下弹片左侧部分位于凸台下方。
技术总结
本实用新型涉及无纺布生产设备,尤其是一种无纺布分切机。本实用新型中的一种无纺布分切机,包括放料辊、收料辊、张力辊和分切刀,底部张力辊上设有启停开关,启停开关,包括上弹片和下弹片,上弹片下表面与下弹片上表面接触时,动力系统处于正常工作状态;上弹片上表面设有绝缘层,上弹片通过左导柱固定在底板上,下弹片左侧可滑动的安装在左导柱、右侧可滑动的安装在右导柱上;下弹片底部设有弹簧,弹簧用于使上弹片向上和下弹片接触。当遇到故障时,通过脚踩下弹片,使下弹片和上弹片处于分离状态,动力系统处于断开状态,避免分切机继续运转造成物料的非正常损失。
技术研发人员:陈越
受保护的技术使用者:杭州森润无纺布科技有限公司
文档号码:201720255561
技术研发日:2017.03.16
技术公布日:2017.10.13