本实用新型涉及纸张裁剪装置技术领域,更具体地说,它涉及一种可调节式分切机。
背景技术:
分切机是一种将宽幅纸张、云母带或薄膜分切成多条窄幅材料的机械设备,常用于造纸机械、电线电缆云母带及印刷包装机械。分切机主要的运用于:云母带、纸张、绝缘材料及薄膜分切、特别适宜于窄带(绝缘材料、云母带、薄膜等等)的分切。
公告号为CN201760911U的中国专利公开了一种分切机,该分切机包括放卷装置、辊装置、分切装置、收卷装置、动力装置和控制装置,控制装置与各装置电性连接。
该实用新型运转过程中采用了光电跟踪器实现了在生产过程中的在线检测、收集数据的功能,同时针对不同材料,分切时可选用气刀或者刀片进行分切;而该方案在实际切割过程中,由于刀具之间的刀缝是固定的,无法适用于对不同宽度纸带切割的作用。
技术实现要素:
针对现有技术存在的不足,本实用新型的目的在于提供一种可调节式分切机,具有提高其分切机适用于切割不同宽度纸带的作用。
为实现上述目的,本实用新型提供了如下技术方案:
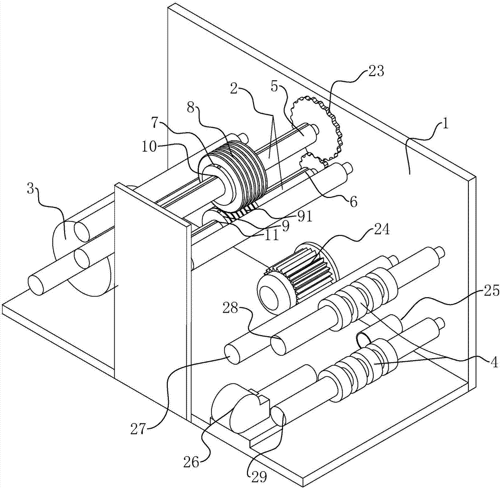
一种可调节式分切机,包括机架、设置于机架上的用于剪切纸带卷的分切装置以及分别设置于分切装置两端用于放置纸带卷的放卷装置和用于收卷剪切后纸带的收卷装置,所述分切装置包括分别转动设置于机架上的上刀辊、设置于上刀辊下方的底刀辊、多个均滑动设置于上刀辊上的安装座、一一对应设置于安装上的切刀、多个均滑动设置于底刀辊上的圆环、设置于安装座与上刀辊之间用于将安装座锁紧于上刀辊上的第一锁紧组件以及设置于圆环与底刀辊之间用于将圆环锁紧于底刀辊上的第二锁紧组件,在所述圆环上一一对应设置供所述切刀工作的刀槽。
如此设置,将带有切刀的安装座设置于上刀辊上时,通过第一锁紧组件将安装座锁紧于上刀辊上,在底刀辊上设有多个可滑动在底刀辊上的圆环,通过圆环之间的间距形成可供上刀辊切刀工作的刀槽,且该圆环通过第二锁紧组件锁紧于底刀辊上;在需要调整切刀之间的距离时,通过解开第一锁紧组件达到安装座可以自由于上刀辊上滑动的效果,同时通过解开第二锁紧组件调整底刀辊上各个圆环的距离,使得刀槽与切刀一一对应,当滑动到所需要的距离时,通过锁紧第一锁紧组件达到将安装座固定于上刀辊的效果,锁紧第二锁紧组件达到将圆环固定与底刀辊的效果,从而能够实现变换切割不同宽度的纸带。
进一步设置:所述第一锁紧组件包括呈T形状设置的滑动件以及螺纹转动设置于滑动件上的第一螺栓,在所述上刀辊沿其轴向方向开设有供所述滑动件滑动的滑动槽,所述第一螺栓穿设于所述安装座,且锁紧时所述滑动件与滑动槽的槽壁抵触。
如此设置,将滑动件置于滑动槽时能够自由滑动,通过第一螺栓将滑动件与安装座进行连接,当需要锁紧时通过转动第一螺栓,将滑动件与滑动槽槽壁抵触,达到固定安装座于上刀辊上的效果,在需要调整安装座之间的距离时,通过解开第一螺栓松动滑动件,从而能够使得滑动件能够在滑动槽内移动,达到调整切刀之间的距离的效果。
进一步设置:所述安装座上设有供第一螺栓穿设的穿孔,所述穿孔设有可卡住第一螺栓上螺帽的第一基面,且锁紧时所述第一螺栓的螺帽与第一基面抵触。
如此设置,当第一螺栓与安装座穿设时,通过第一基面将第一螺栓上的螺帽卡住,从而使得螺栓不会随意松动,且不会从穿孔掉落,方便操作。
进一步设置:所述第二锁紧组件包括呈T形状设置的限位件以及螺纹转动设置于限位件上的第二螺栓,在所述底刀辊沿其轴向方向设置有供所述限位件滑动的限位槽,所述第二螺栓穿设于所述圆环,且锁紧时所述限位件与限位槽的槽壁抵触。
如此设置,将底刀辊开设一个限位槽,当圆环需要在底刀辊上滑动时,通过限位件在限位槽进行滑动从而带动圆环的滑动,圆环与限位件之间通过第二螺栓进行螺纹转动连接,即可通过转动第二螺栓达到调整限位件与限位槽之间的松紧程度,达到进行调整圆环的位置的目的,从而能够使得刀槽与上刀辊切刀相配合工作。
进一步设置:所述圆环上设有供第二螺栓穿设的锁孔,所述锁孔设有可卡住第二螺栓上螺帽的第二基面,且锁紧时所述第二螺栓的螺帽与第二基面抵触。
如此设置,当第二螺栓与圆环穿设时,通过第二基面将第二螺栓的螺帽卡住,从而使得螺栓不会随意松动,且不会从锁孔掉落,方便操作。
进一步设置:所述上刀辊与底刀辊的圆周表面均设有供调节式精准定位的刻度尺。
如此设置,在需要调整切刀以及圆环的间距时,通过刻度尺能够更加准确的定位于所需要切割纸带的宽度,便于操作。
进一步设置:所述上刀辊与底刀辊的一端均设置有用于联动上刀辊与底刀辊处于机架上转动的齿轮,且其中一所述齿轮连接有电机,所述电机与机架固定连接。
如此设置,当上刀辊进行工作时,其中一所述齿轮连接电机带动齿轮转动,通过齿轮之间的联动效果,带动另一个齿轮进行转动,从而能够实现上刀辊与底刀辊的转速相同,达到更好的切割效果。
进一步设置:在所述机架底端设置有用于收集切割后纸带肥料的收料框,且在所述收料框上设有鼓风机。
如此设置,在分切机工作时,切割的纸带会产生废料,通过机架底端的收料框将废料集中收集,不显得杂乱,在收料框处设有鼓风机,可以将废料纸带抽入收料框进行收集,从而达到集中收集的效果,便于操作。
进一步设置:所述收卷装置与分切装置之间设有张力辊。
如此设置,在分切机工作过程中,纸带通过分切装置后得到所需要的纸带,通过张力辊进行过渡,能够更好的进行收卷。
进一步设置:所述收卷装置包括分别转动设置于机架上的上收卷辊与设置于上收卷辊下方的下收卷辊。
如此设置,在进行收卷时,可将切割后的纸带分给上收卷辊与下收卷辊,达到有序收集的效果。
通过采用上述技术方案,本实用新型相对现有技术相比:通过在分切装置的上刀辊上设置第一锁紧组件,用于将安装有切刀的安装座固定于上刀辊,通过在分切装置的底刀辊上设置第二锁紧组件,用于将圆环固定于底刀辊;当第一锁紧组件与第二锁紧组件处于松动状态时,安装座可在上刀辊上进行滑动,圆环可在底刀辊上进行滑动,当滑动到所需要的切割宽度时,通过将第一锁紧组件与第二锁紧组件锁紧,达到将安装座固定于上刀辊、圆环固定于底刀辊上的效果,从而实现调节切割宽度。
附图说明
图1为可调节式分切机结构示意图;
图2为分切机上分切装置的上刀辊的剖视图;
图3为分切机上分切装置的底刀辊的剖视图;
图4为分切机上分切装置处的结构示意图。
图中:1、机架;2、分切装置;3、放卷装置;4、收卷装置;5、上刀辊;6、底刀辊;7、安装座;8、切刀;9、圆环;91、刀槽;10、第一锁紧组件;11、第二锁紧组件;12、滑动件;13、滑动槽;14、第一螺栓;15、限位件;16、限位槽;17、第二螺栓;18、穿孔;19、第一基面;20、锁孔;21、第二基面;22、刻度尺;23、齿轮;24、电机;25、收料框;26、鼓风机;27、张力辊;28、上收卷辊;29、下收卷辊。
具体实施方式
参照图1至图4对可调节式分切机做进一步说明。
一种可调节式分切机,如图1所示,包括机架1、设置于机架1上用于剪切纸带卷的分切装置2以及分别设置于分切装置2两端用于放置纸带卷的放卷装置3和用于收卷剪切后纸带的收卷装置4。
如图1所示,其中,分切装置2包括分别转动设置于机架1上的上刀辊5、设置于上刀辊5下方的底刀辊6、多个均滑动设置于上刀辊5上的安装座7、一一对应设置于安装座7上的切刀8、多个均滑动设置于底刀辊6上的圆环9、设置于安装座7与上刀辊5之间用于将安装座7锁紧于上刀辊5上的第一锁紧组件10以及设置于圆环9与底刀辊6之间用于将圆环9锁紧于底刀辊6上的第二锁紧组件11,在所述圆环9上一一对应设置供所述切刀8工作的刀槽91。
如图2所示,第一锁紧组件10包括呈T形状设置的滑动件12以及螺纹转动设置于滑动件12上的第一螺栓14;在上刀辊5沿其轴向方向开设有供滑动件12滑动的滑动槽13;在安装座7开设有供第一螺栓14穿设的穿孔18,穿孔18设有可卡住第一螺栓14上螺帽的第一基面19,第一螺栓14穿设于安装座7,且锁紧时滑动件12与滑动槽13的槽壁抵触,第一螺栓14的螺帽与第一基面19抵触。
如图3所示,第二锁紧组件11包括呈T形状设置的限位件15以及螺纹转动设置于限位件15上的第二螺栓17,在底刀辊6沿其轴向方向设置有供限位件15滑动的限位槽16,在圆环9上开设有供第二螺栓17穿设的锁孔20,锁孔20设有可卡住第二螺栓17上螺帽的第二基面21,第二螺栓17穿设于圆环9,且锁紧时限位件15与限位槽16的槽壁抵触,第二螺栓17的螺帽与第二基面21抵触。
如图1和图4所示,在上刀辊5与底刀辊6的圆周表面均设有供调节时精准定位的刻度尺22,且上刀辊5与底刀辊6均设置有用于联动上刀辊5与底刀辊6处于机架1上转动的齿轮23,其中一所述齿轮23与电机24连接,该电机24固定连接在机架1上。
如图1所示,收卷装置4包括上收卷辊28与下收卷辊29,且分切装置2与收卷装置4之间设有张力辊27;分切装置2与收卷装置4下方设有回收废料的收料框25,收料框25的一端设有一个鼓风机26,鼓风机26固定与机架1上;收料框25的另一端为穿过机架1的收回孔,废料通过鼓风机26的风力吹入收回孔,从而进入收料框25中。
工作原理:当需要切割一定宽度的纸带时,通过解开第一锁紧组件10将安装座7滑动于上刀辊5上,以达到调节相邻切刀8之间的切割距离,当滑到所需要的位置时,通过调节第一锁紧组件10上的第一螺栓14,将滑动件12与滑动槽13抵触,第一螺栓14的螺帽与第一基面19抵触,从而将安装座7固定在上刀辊5上;同时,调节底刀辊6上的第二锁紧组件11,滑动底刀辊6上的圆环9,使得圆环9之间形成的刀槽91与上刀辊5的切刀8一一对应,当圆环9滑动到所需要的位置后,锁紧第二锁紧组件11,通过将第二螺栓17锁紧,使得限位件15与限位槽16抵触,第二螺栓17的螺帽与第二基面21抵触,达到将圆环9固定于底刀辊6上的效果;切割时通过鼓风机26将纸带的边线进行鼓风,将其吹送至收料框25内;切割后的纸袋纸带通过收卷装置4中的上收卷辊28以及下收卷辊29达到收卷的作用;最终实现调节切割所需要的纸带的宽度,适用于切割不同所需宽度的纸带。
以上所述仅是本实用新型的优选实施方式,本实用新型的保护范围并不仅局限于上述实施例,凡属于本实用新型思路下的技术方案均属于本实用新型的保护范围。应当指出,对于本技术领域的普通技术人员来说,在不脱离本实用新型原理前提下的若干改进和润饰,这些改进和润饰也应视为本实用新型的保护范围。

技术特征:
1.一种可调节式分切机,包括机架(1)、设置于机架(1)上用于剪切纸带卷的分切装置(2)以及分别设置于分切装置(2)两端用于放置纸带卷的放卷装置(3)和用于收卷剪切后纸带的收卷装置(4),其特征在于:所述分切装置(2)包括分别转动设置于机架(1)上的上刀辊(5)、设置于上刀辊(5)下方的底刀辊(6)、多个均滑动设置于上刀辊(5)上的安装座(7)、一一对应设置于安装座(7)上的切刀(8)、多个均滑动设置于底刀辊(6)上的圆环(9)、设置于安装座(7)与上刀辊(5)之间用于将安装座(7)锁紧于上刀辊(5)上的第一锁紧组件(10)以及设置于圆环(9)与底刀辊(6)之间用于将圆环(9)锁紧于底刀辊(6)上的第二锁紧组件(11),在所述圆环(9)上一一对应设置供所述切刀(8)工作的刀槽(91)。
2.根据权利要求1所述的一种可调节式分切机,其特征在于:所述第一锁紧组件(10)包括呈T形状设置的滑动件(12)以及螺纹转动设置于滑动件(12)上的第一螺栓(14),在所述上刀辊(5)沿其轴向方向开设有供所述滑动件(12)滑动的滑动槽(13),所述第一螺栓(14)穿设于所述安装座(7),且锁紧时所述滑动件(12)与滑动槽(13)的槽壁抵触。
3.根据权利要求2所述的一种可调节式分切机,其特征在于:所述安装座(7)上设有供第一螺栓(14)穿设的穿孔(18),所述穿孔(18)设有可卡住第一螺栓(14)上螺帽的第一基面(19),且锁紧时所述第一螺栓(14)的螺帽与第一基面(19)抵触。
4.根据权利要求1所述的一种可调节式分切机,其特征在于:所述第二锁紧组件(11)包括呈T形状设置的限位件(15)以及螺纹转动设置于限位件(15)上的第二螺栓(17),在所述底刀辊(6)沿其轴向方向设置有供所述限位件(15)滑动的限位槽(16),所述第二螺栓(17)穿设于所述圆环(9),且锁紧时所述限位件(15)与限位槽(16)的槽壁抵触。
5.根据权利要求4所述的一种可调节式分切机,其特征在于:所述圆环(9)上设有供第二螺栓(17)穿设的锁孔(20),所述锁孔(20)设有可卡住第二螺栓(17)上螺帽的第二基面(21),且锁紧时所述第二螺栓(17)的螺帽与第二基面(21)抵触。
6.根据权利要求1所述的一种可调节式分切机,其特征在于:所述上刀辊(5)与底刀辊(6)的圆周表面均设有供调节时精准定位的刻度尺(22)。
7.根据权利要求1所述的一种可调节式分切机,其特征在于:所述上刀辊(5)与底刀辊(6)的一端均设置有用于联动上刀辊(5)与底刀辊(6)处于机架(1)上转动的齿轮(23),且其中一所述齿轮(23)连接有电机(24),所述电机(24)与机架(1)固定连接。
8.根据权利要求1所述的一种可调节式分切机,其特征在于:在所述机架(1)底端设置有用于收集切割后纸带废料的收料框(25),且在所述收料框(25)上设有鼓风机(26)。
9.根据权利要求1所述的一种可调节式分切机,其特征在于:所述收卷装置(4)与分切装置(2)之间设有张力辊(27)。
10.根据权利要求1所述的一种可调节式分切机,其特征在于:所述收卷装置(4)包括分别转动设置于机架(1)上的上收卷辊(28)与设置于上收卷辊(28)下方的下收卷辊(29)。
技术总结
本实用新型公开了一种可调节式分切机,包括机架、分切装置、放卷装置和收卷装置,分切装置包括分别转动设置于机架上的上刀辊、设置于上刀辊下方的底刀辊、多个均滑动设置于上刀辊上的安装座、一一对应设置于安装座上的切刀、多个均滑动设置于底刀辊上的圆环、设置于安装座与上刀辊之间用于将安装座锁紧于上刀辊上的第一锁紧组件以及设置于圆环与底刀辊之间用于将圆环锁紧于底刀辊上的第二锁紧组件,在圆环上一一对应设置供所述切刀工作的刀槽;通过调节第一锁紧组件以及第二锁紧组件达到能让安装座在上刀辊滑动、圆环在底刀辊滑动的效果,进而达到调节切刀片之间的距离来配合所要工作的材料预定需求的宽度,提高了生产效率和切割准确率。
技术研发人员:何乾彬
受保护的技术使用者:厦门市三升标饰印刷有限公司
技术研发日:2017.12.02
技术公布日:2018.06.08