
本实用新型涉及医用设备技术领域,具体为一种稳定安全的医用气刀分切机。
背景技术:
气刀是一种利用高压气流形成切割面,由此可以对工件进行除尘、切割或降温等工作。为了加强气幕流速,排气腔室一般采用对称侧壁向顶部中心延伸,直至与排气口会聚,形成气体楔形引导结构,经由排气口形成带状高压喷射气流。排气口通常为至少一条缝隙或至少一排小孔结构。一般情况下,进气口设置于底面中央或者两侧,在离进气口近的排气口气幕流速高,在离进气口远的排气口气幕流速低,为此导致形成的切割面气流分布不均匀,使气刀切面的切割作用力大小不同,从而影响气刀的切割效果。
另外现有的气刀在工作时,往往会产生较大的噪音,严重影响着操作人员的身体健康。
技术实现要素:
本实用新型的目的在于提供一种稳定安全的医用气刀分切机,以解决上述背景技术中提出的气刀切割面剪切力不均匀和工作时噪音大的问题。
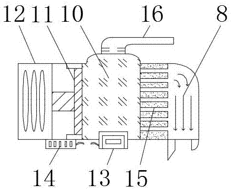
为实现上述目的,本实用新型提供如下技术方案,一种稳定安全的医用气刀分切机,包括切料进口、气切口、气刀装置、压力计、进气管和空气压缩机,所述切料进口后部装设有输送装置,其输送装置内部装设有驱动转轮和辅助滚轮,且输送装置下部安装有电机,所述气切口下端为废料出口,且气切口上端安装有气刀喷嘴,所述气刀装置内部安装有高气压腔室,其高气压腔室后部设有气压压板,且气压压板后端连接伸缩机,所述压力计装设在高气压腔室下端,且高气压腔室后部设有控制器,所述高气压腔室前端通过气压通孔与气刀喷嘴相连接,且高气压腔室上端通过进气管与空气压缩机相连接。
优选的,所述驱动转轮和辅助滚轮外圈嵌套有橡胶输送皮带,且驱动转轮通过传送皮带与电机相连接。
优选的,所述气刀喷嘴的出气口为扁平嘴状,且其前挡板比后挡板短。
优选的,所述气刀装置外部安装有降噪壳体,且降噪壳体内部为不规则波浪结构。
优选的,所述气压通孔的进气口处镶嵌有气压阀门。
与现有技术相比,本实用新型的有益效果是:该稳定安全的医用气刀分切机在气刀装置外侧加设降噪壳体对设备工作时产生的噪音进行阻绝,并采用分体式对高气压腔室内的气压进行控制,使气刀喷嘴喷射出均匀的气流,从而提高该设备的切割质量。驱动转轮和辅助滚轮外圈嵌套有橡胶输送皮带,且驱动转轮通过传送皮带与电机相连接,采用橡胶皮带连接方式取代金属铰接,能够降低齿轮间的磨损和减小噪音的产生,气刀喷嘴的出气口为扁平嘴状,且其前挡板比后挡板短,能够提高气刀喷嘴喷射的气流的流速,降噪壳体内部为不规则波浪结构,能够有效的阻止噪音的传播。
附图说明
图1为本实用新型结构示意图;
图2为本实用新型气刀装置结构示意图。
图中:1、切料进口,2、输送装置,3、驱动转轮,4、辅助滚轮,5、电机,6、气切口,7、废料出口,8、气刀喷嘴,9、气刀装置,10、高气压腔室,11、气压压板,12、伸缩机,13、压力计,14、控制器,15、气压通孔,16、进气管,17、空气压缩机。
具体实施方式
下面将结合本实用新型实施例中的附图,对本实用新型实施例中的技术方案进行清楚、完整地描述,显然,所描述的实施例仅仅是本实用新型一部分实施例,而不是全部的实施例。基于本实用新型中的实施例,本领域普通技术人员在没有做出创造性劳动前提下所获得的所有其他实施例,都属于本实用新型保护的范围。
请参阅图1-2,本实用新型提供一种技术方案:一种稳定安全的医用气刀分切机,包括切料进口1、气切口6、气刀装置9、压力计13、进气管16和空气压缩机17,切料进口1后部装设有输送装置2,其输送装置2内部装设有驱动转轮3和辅助滚轮4,且输送装置2下部安装有电机5,驱动转轮3和辅助滚轮4外圈嵌套有橡胶输送皮带,且驱动转轮3通过传送皮带与电机5相连接,气切口6下端为废料出口7,且气切口6上端安装有气刀喷嘴8,气刀喷嘴8的出气口为扁平嘴状,且其前挡板比后挡板短,能够提高气刀喷嘴8喷射的气流的流速,气刀装置9内部安装有高气压腔室10,其高气压腔室10后部设有气压压板11,且气压压板11后端连接伸缩机12,气刀装置9外部安装有降噪壳体,且降噪壳体内部为不规则波浪结构,能够有效的阻止噪音的传播,压力计13装设在高气压腔室10下端,且高气压腔室10后部设有控制器14,高气压腔室10前端通过气压通孔15与气刀喷嘴8相连接,且高气压腔室10上端通过进气管16与空气压缩机17相连接,气压通孔15的进气口处镶嵌有气压阀门。
工作原理:在使用该稳定安全的医用气刀分切机时,先给设备接通电源,随后把需要分切的医用物料放置在输送装置2的输送皮带上,通过控制开关开启电机5、伸缩机12和空气压缩机17使之工作,电机5工作通过传送皮带把动力传递给驱动转轮3,从而带动驱动转轮3旋转,驱动转轮3旋转带动嵌套的输送皮带工作,在辅助滚轮4的配合作用下对物料进行运输工作;与此同时,空气压缩机17抽吸空气并把空气压缩至高气压腔室10内,通过压力计13实时对高气压腔室10内的压力值进行监测,当压力值达到设定值后,压力计13采用电信号把信息发送给控制器14,控制器14切断空气压缩机17的电流使之停止工作,并接通伸缩机12的电流使之工作,伸缩机12工作向内推压气压压板11,再次增大高气压腔室10内的气压值,当气压值达到气压阀门的开启值时,气流穿过气压阀门通过气压通孔15进入气刀喷嘴8;待物料被输送至气切口6时,气刀喷嘴8喷射出高压的气流对物料进行分切工作,被切割的废料从气切口6下落至废料出口7,由此排放至设备外,而分切后的物料则被右侧的输送装置2输送至设备外,被工作人员收集;当进行一次分切工作后,气压阀门自动闭合,高气压腔室10内的气压降低,压力计13通过检测到的低气压发送信号给控制器14使之再次接通空气压缩机17的电流,并使伸缩机12收缩,拉取气压压板11至原来的位置后,再重复上述步骤,以此进行下一个物料的分切工作。
尽管参照前述实施例对本实用新型进行了详细的说明,对于本领域的技术人员来说,其依然可以对前述各实施例所记载的技术方案进行修改,或者对其中部分技术特征进行等同替换,凡在本实用新型的精神和原则之内,所作的任何修改、等同替换、改进等,均应包含在本实用新型的保护范围之内。

技术特征:
1.一种稳定安全的医用气刀分切机,包括切料进口(1)、气切口(6)、气刀装置(9)、压力计(13)、进气管(16)和空气压缩机(17),其特征在于:所述切料进口(1)后部装设有输送装置(2),其输送装置(2)内部装设有驱动转轮(3)和辅助滚轮(4),且输送装置(2)下部安装有电机(5),所述气切口(6)下端为废料出口(7),且气切口(6)上端安装有气刀喷嘴(8),所述气刀装置(9)内部安装有高气压腔室(10),其高气压腔室(10)后部设有气压压板(11),且气压压板(11)后端连接伸缩机(12),所述压力计(13)装设在高气压腔室(10)下端,且高气压腔室(10)后部设有控制器(14),所述高气压腔室(10)前端通过气压通孔(15)与气刀喷嘴(8)相连接,且高气压腔室(10)上端通过进气管(16)与空气压缩机(17)相连接。
2.根据权利要求1所述的一种稳定安全的医用气刀分切机,其特征在于:所述驱动转轮(3)和辅助滚轮(4)外圈嵌套有橡胶输送皮带,且驱动转轮(3)通过传送皮带与电机(5)相连接。
3.根据权利要求1所述的一种稳定安全的医用气刀分切机,其特征在于:所述气刀喷嘴(8)的出气口为扁平嘴状,且其前挡板比后挡板短。
4.根据权利要求1所述的一种稳定安全的医用气刀分切机,其特征在于:所述气刀装置(9)外部安装有降噪壳体,且降噪壳体内部为不规则波浪结构。
5.根据权利要求1所述的一种稳定安全的医用气刀分切机,其特征在于:所述气压通孔(15)的进气口处镶嵌有气压阀门。
技术总结
本实用新型公开了一种稳定安全的医用气刀分切机,包括切料进口、气切口、气刀装置、压力计、进气管和空气压缩机,所述气切口下端为废料出口,且气切口上端安装有气刀喷嘴,所述气刀装置内部安装有高气压腔室,其高气压腔室后部设有气压压板,且气压压板后端连接伸缩机,所述压力计装设在高气压腔室下端,且高气压腔室后部设有控制器,所述高气压腔室前端通过气压通孔与气刀喷嘴相连接,且高气压腔室上端通过进气管与空气压缩机相连接。该稳定安全的医用气刀分切机在气刀装置外侧加设降噪壳体对设备工作时产生的噪音进行阻绝,并采用分体式对高气压腔室内的气压进行控制,使气刀喷嘴喷射出均匀的气流,从而提高该设备的切割质量。
技术研发人员:郭志军
受保护的技术使用者:侯马经济开发区金葵花大健康产业有限公司
技术研发日:2017.02.08
技术公布日:2018.06.01