
本实用新型涉及纸张分切装置领域,特别涉及一种原纸残尾纸平张分切机。
背景技术:
现有技术中,一般采用人工切割的方法对原纸残尾纸进行平张分切,人工切割效率低下,增加了生产成本。因此,有必要开发一种原纸残尾纸平张分切机,以提升原纸残尾纸的分切效率。
技术实现要素:
为解决上述技术问题,本实用新型提出的一种原纸残尾纸平张分切机,其具体技术方案如下:
一种原纸残尾纸平张分切机,其包括:收卷支架;
残尾纸支架,所述残尾纸支架的顶部设有至少两根安装轴,所述安装轴用于安装待分切的残尾纸;
收卷辊,所述收卷辊设置在所述收卷支架的顶部的一端;
齿轮箱马达,所述齿轮箱马达设置在所述收卷支架上并位于所述收卷辊下方,所述齿轮箱马达用于带动所述收卷辊转动以实现对分切后的残尾纸的收卷;及
分切刀,所述分切刀竖直安装在所述收卷支架的顶部的另一端,所述分切刀用于实现对待分切的残尾纸的分切。
在一个具体实施例,所述齿轮箱马达经皮带与所述收卷辊连接以带动所述收卷辊转动。
在一个具体实施例,所述残尾纸支架的顶部设有三根所述安装轴。
在一个具体实施例,所述收卷辊包括:中心转轴;及均匀绕设在所述中心转轴周围并平行于所述中心转轴的六根偏心轴,六根所述偏心轴距所述中心转轴的距离相等。
在一个具体实施例,所述皮带的下端绕设在所述齿轮箱马达上,所述皮带的上端绕设在中心转轴的一端。
在一个具体实施例,所述收卷支架的顶部的所述另一端设有分切刀安装板,所述分切刀安装在所述分切刀安装板上。
本实用新型提供的原纸残尾纸平张分切机,其能实现对多卷原纸残尾纸的同步自动分切,从而提升分切效率。
附图说明
为了更清楚地说明本实用新型实施例的技术方案,下面将对实施例描述中所述需要使用的附图进行简单描述,显而易见地,下面描述中的附图仅为本实用新型的一些实施例,对于本领域普通技术人员来讲,在不付出创造性劳动的前提下,还可以根据这些附图获得其他的附图。其中:
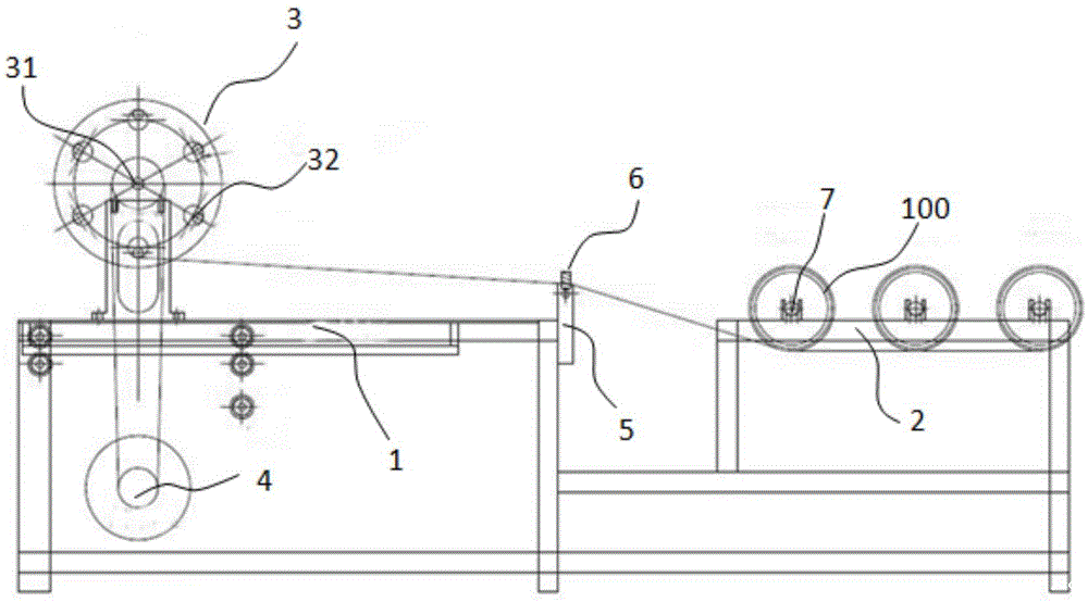
图1为本实用新型提供的原纸残尾纸平张分切机的结构示意图;
图1中包括:收卷支架1、残尾纸支架2、收卷辊3、齿轮箱马达4、分切刀安装板5、分切刀6、安装轴7、残尾纸100
具体实施方式
为使本实用新型的上述目的、特征和优点能够更加明显易懂,下面结合附图和具体实施方式对本实用新型作进一步详细的说明。
如图1所示,在一个具体实施例中,本实用新型提供的原纸残尾纸平张分切机,其包括收卷支架1、残尾支架2、收卷辊3、齿轮箱马达4、分切刀安装板5及分切刀6,其中:
所述残尾纸支架2上依次设有三根安装轴7,根所述安装轴7上均能套设一卷残尾纸。
所述收卷辊3设置在所述收卷支架1的顶部的一端。所述齿轮箱马达4设置在所述收卷支架1上并位于所述收卷辊3下方,所述齿轮箱马达4经皮带与所述收卷辊3连接以带动所述收卷辊3转动,从而实现对分切后的残尾纸的收卷。
所述分切刀安装板5连接在所述收卷支架1的顶部的另一端,所述分切刀6竖安装在所述分切刀安装板5上,当待分切的残尾纸经过所述分切刀6时,待分切的残尾纸被所述分切刀6分切为两份。在一些具体实施例中,可以根据具体的分切要求,来调整所述分切刀6在所述分切刀安装板5上的安装位置。例如,当将所述分切刀6设置在所述切刀安装板5的中间位置时,残尾纸则被平均切分为两半。
请继续参考图1所示,本实用新型的原纸残尾纸平张分切机的具体使用过程如下:
步骤一、将三卷待分切的残尾纸100分别套在三根所述安装轴7,然后依次手动将三卷待分切的残尾纸100的自由端按所述收卷辊3的转动方向缠绕在所述收卷辊3上;
步骤二、开启所述齿轮箱马达4,所述齿轮箱马达4经皮带带动所述收卷辊3旋转,从而使得三卷所述残尾纸100上的残尾纸被同步牵引并收卷至所述收卷辊3上。同步的,当层叠的三张残尾纸经过所述分切刀6时,被所述分切刀6分切。
可见,本实施例中的所述原纸残尾纸平张分切机能实现对三卷原纸残尾纸的同步自动分切,从而有效得提升原纸残尾纸的分切效率。
本实施例中的所述收卷辊3包括中心转轴31及均匀绕设在所述中心转轴31周围并平行于所述中心转轴31的六根偏心轴32,六根所述偏心轴32距所述中心转轴31的距离相等。可见,本实施例中,六根所述偏心轴32合围成一个横截面为正六边形的收卷面。
上文对本实用新型进行了足够详细的具有一定特殊性的描述。所属领域内的普通技术人员应该理解,实施例中的描述仅仅是示例性的,在不偏离本实用新型的真实精神和范围的前提下做出所有改变都应该属于本实用新型的保护范围。本实用新型所要求保护的范围是由所述的权利要求书进行限定的,而不是由实施例中的上述描述来限定的。
技术特征:
1.一种原纸残尾纸平张分切机,其特征在于,其包括:收卷支架;
残尾纸支架,所述残尾纸支架的顶部设有至少两根安装轴,所述安装轴用于安装待分切的残尾纸;
收卷辊,所述收卷辊设置在所述收卷支架的顶部的一端;
齿轮箱马达,所述齿轮箱马达设置在所述收卷支架上并位于所述收卷辊下方,所述齿轮箱马达用于带动所述收卷辊转动以实现对分切后的残尾纸的收卷;及分切刀,所述分切刀竖直安装在所述收卷支架的顶部的另一端,所述分切刀用于实现对待分切的残尾纸的分切。
2.如权利要求1所述的原纸残尾纸平张分切机,其特征在于,所述齿轮箱马达经皮带与所述收卷辊连接以带动所述收卷辊转动。
3.如权利要求1所述的原纸残尾纸平张分切机,其特征在于,所述残尾卷纸支架的顶部设有三根所述安装轴。
4.如权利要求2所述的原纸残尾纸平张分切机,其特征在于,所述收卷辊包括:中心转轴;及均匀绕设在所述中心转轴周围并平行于所述中心转轴的六根偏心轴,六根所述偏心轴距所述中心转轴的距离相等。
5.如权利要求4所述的原纸残尾纸平张分切机,其特征在于,所述皮带的下端绕设在所述齿轮箱马达上,所述皮带的上端绕设在中心转轴的一端。
6.如权利要求1所述的原纸残尾纸平张分切机,其特征在于,所述收卷支架的顶部的所述另一端设有分切刀安装板,所述分切刀安装在所述分切刀安装板上。
技术总结
本实用新型提供了一种原纸残尾纸平张分切机,包括收卷支架;残尾纸支架,所述残尾纸支架的顶部设有至少两根转轴,所述安装轴用于安装待分切的残尾纸;收卷辊,所述收卷辊设置在所述收卷支架的顶部的一端;齿轮箱马达,所述齿轮箱马达设置在所述收卷支架上并位于所述收卷辊下方,所述齿轮箱马达用于带动所述收卷辊转动以实现对分切后的残尾纸的收卷;及分切刀,所述分切刀竖直安装在所述收卷支架的顶部的另一端,所述分切刀用于实现对待分切的残尾纸的分切。本实用新型提供的原纸残尾纸平张分切机,其能实现对多卷原纸残尾纸的同步自动分切,从而提升分切效率。
技术研发人员:王普飞
受保护的技术使用者:亚龙纸制品(昆山)有限公司
技术研发日:2018.05.17
技术公布日:2019.01.15