
1.本实用新型涉及分切机技术领域,具体为一种具有废料回收功能的纸管加工用分切机。
背景技术:
2.分切机是一种将宽幅纸张、云母带或薄膜分切成多条窄幅材料的机械设备,常用于造纸机械、电线电缆云母带及印刷包装机械,分切机主要的运用于:无纺布;云母带、纸张、绝缘材料及各种薄膜材料分切、特别适宜于窄带(无纺布,纸张,绝缘材料、云母带、薄膜等等)的分切。
3.现有的分切机一般不具有废料收集效果,在纸管生产制造中与需要用到分切机,然而纸管分切时经常会有废料落下,且在切割失误或是刚启动装置时还有可能会有正片的环状废料落下,造成一定的材料浪费。
技术实现要素:
4.本实用新型的目的在于提供一种具有废料回收功能的纸管加工用分切机,以解决上述背景技术中提出现有的分切机一般不具有废料收集效果,在纸管生产制造中与需要用到分切机,然而纸管分切时经常会有废料落下,且在切割失误或是刚启动装置时还有可能会有正片的环状废料落下,造成一定的材料浪费的问题。
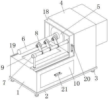
5.为实现上述目的,本实用新型提供如下技术方案:一种具有废料回收功能的纸管加工用分切机,包括分切机体,所述分切机体的下端固定安装有底座,所述底座的下端固定安装有支撑腿,所述分切机体上端的右侧固定安装有驱动箱,所述驱动箱的左端旋转安装有驱动盘,所述驱动盘的左端固定连接有驱动辊,所述驱动辊的前方旋转安装有切割杆,所述切割杆的外端固定安装有切割刀,所述分切机体的上端位于切割刀的下方固定设置有收集口,所述收集口的下方位于分切机体的内部固定安装有收集箱。
6.优选的,所述收集箱的上方位于分切机体的内部固定安装有导料板,所述导料板的上端呈圆弧结构,所述导料板的左右两端通过连接杆与分切机体的内部固定连接,所述导料板的下方位于收集箱的上方旋转安装有破碎辊一,所述破碎辊一的下方旋转安装有破碎辊二。
7.优选的,所述破碎辊二的左侧位于分切机体的左端固定安装有驱动电机,所述驱动电机右端的传动端穿过分切机体并延伸至分切机体的内部,所述驱动电机右端的传动端位于分切机体的内部与破碎辊二固定连接,所述破碎辊一左侧的外端固定安装有齿轮一,所述破碎辊二左侧的外端位于齿轮一的下方固定安装有齿轮二,所述齿轮一与齿轮二啮合连接。
8.优选的,所述分切机体的上端活动安装有防护罩,所述分切机体上端的前后两侧固定设置有滑槽,所述滑槽与防护罩相适配。
9.优选的,所述防护罩的长度与分切机体的长度相同,所述驱动箱左端的外侧贯穿
设置有预留槽,所述防护罩通过预留槽延伸至驱动箱的右侧。
10.优选的,所述防护罩左侧的前端固定安装有把手一,所述把手一的长度大于防护罩前端至防护罩前端的垂直间距,所述收集箱的前端延伸至分切机体的前端,所述收集箱的前端固定安装有把手二。
11.与现有技术相比,本实用新型的有益效果是:
12.1、该具有废料回收功能的纸管加工用分切机,通过安装破碎装置,可避免切割下来的边角废料保持圆弧状从而导致收集时的间距过大造成收集容量变小的情况,同时切割成碎屑的纸管便于融料再次加工,进而大大提高了该分切机废料回收的便捷性以及高效性;
13.2、该具有废料回收功能的纸管加工用分切机,通过安装驱动电机并采用啮合连接的齿轮一与齿轮二对破碎辊一与破碎辊二进行驱动,不但能形成对向旋转切割,同时减少电机的使用,减少能源损耗以及成本造价;
14.3、该具有废料回收功能的纸管加工用分切机,通过安装防护罩,在进行切割时可将防护罩通过滑槽拉至分切机体的上方,不但能有效的进行切割防护,避免碎料飞溅,同时能有效的避免风力影响造成掉落的废料改变下落轨迹,确保废料能够顺利进入收集口中。
附图说明
15.图1为本实用新型立体结构示意图一;
16.图2为本实用新型立体结构示意图二;
17.图3为本实用新型分切机体剖面结构示意图;
18.图4为本实用新型齿轮一剖面结构示意图。
19.图中:1、分切机体;2、底座;3、支撑腿;4、驱动箱;5、驱动盘;6、驱动辊;7、切割杆;8、切割刀;9、收集口;10、收集箱;11、导料板;12、连接杆;13、破碎辊一;14、破碎辊二;15、驱动电机;16、齿轮一;17、齿轮二;18、防护罩;19、滑槽;20、把手一;21、把手二。
具体实施方式
20.下面将结合本实用新型实施例中的附图,对本实用新型实施例中的技术方案进行清楚、完整地描述,显然,所描述的实施例仅仅是本实用新型一部分实施例,而不是全部的实施例。基于本实用新型中的实施例,本领域普通技术人员在没有做出创造性劳动前提下所获得的所有其他实施例,都属于本实用新型保护的范围。
21.请参阅图1‑4,本实用新型提供一种技术方案:一种具有废料回收功能的纸管加工用分切机,包括分切机体1,分切机体1的下端固定安装有底座2,底座2的下端固定安装有支撑腿3,分切机体1上端的右侧固定安装有驱动箱4,驱动箱4的左端旋转安装有驱动盘5,驱动盘5的左端固定连接有驱动辊6,驱动辊6的前方旋转安装有切割杆7,切割杆7的外端固定安装有切割刀8,分切机体1的上端位于切割刀8的下方固定设置有收集口9,收集口9的下方位于分切机体1的内部固定安装有收集箱10。
22.进一步的,收集箱10的上方位于分切机体1的内部固定安装有导料板11,导料板11的上端呈圆弧结构,导料板11的左右两端通过连接杆12与分切机体1的内部固定连接,导料板11的下方位于收集箱10的上方旋转安装有破碎辊一13,破碎辊一13的下方旋转安装有破
碎辊二14,通过安装收集箱10,当该分切机在切割纸管时,切割产生的边角废料会首先从收集口9掉落至导料板11的上端,然后边角废料在导料板11的弧面导向下落在破碎辊一13与破碎辊二14之间,在破碎辊一13与破碎辊二14旋转切割破碎下,边角废料会变为碎屑落在收集箱10的内部,通过安装破碎装置,可避免切割下来的边角废料保持圆弧状从而导致收集时的间距过大造成收集容量变小的情况,同时切割成碎屑的纸管便于融料再次加工,进而大大提高了该分切机废料回收的便捷性以及高效性。
23.进一步的,破碎辊二14的左侧位于分切机体1的左端固定安装有驱动电机15,驱动电机15右端的传动端穿过分切机体1并延伸至分切机体1的内部,驱动电机15右端的传动端位于分切机体1的内部与破碎辊二14固定连接,破碎辊一13左侧的外端固定安装有齿轮一16,破碎辊二14左侧的外端位于齿轮一16的下方固定安装有齿轮二17,齿轮一16与齿轮二17啮合连接,通过安装驱动电机15并采用啮合连接的齿轮一16与齿轮二17对破碎辊一13与破碎辊二14进行驱动,不但能形成对向旋转切割,同时减少电机的使用,减少能源损耗以及成本造价。
24.进一步的,分切机体1的上端活动安装有防护罩18,分切机体1上端的前后两侧固定设置有滑槽19,滑槽19与防护罩18相适配,通过安装防护罩18,在进行切割时可将防护罩18通过滑槽19拉至分切机体1的上方,不但能有效的进行切割防护,避免碎料飞溅,同时能有效的避免风力影响造成掉落的废料改变下落轨迹,确保废料能够顺利进入收集口9中。
25.进一步的,防护罩18的长度与分切机体1的长度相同,驱动箱4左端的外侧贯穿设置有预留槽,防护罩18通过预留槽延伸至驱动箱4的右侧,通过设置预留槽,可在上下料时手动的将防护罩18向右推动至驱动箱4的内部,避免防护罩18对上下料造成影响。
26.进一步的,防护罩18左侧的前端固定安装有把手一20,把手一20的长度大于防护罩18前端至防护罩18前端的垂直间距,收集箱10的前端延伸至分切机体1的前端,收集箱10的前端固定安装有把手二21,通过设置把手一20的长度大于防护罩18前端至防护罩18前端的垂直间距,在滑动防护罩18时可有效的避免防护罩18完全穿过驱动箱4,能起到一定的限位作用,同时根据人体工学,使用时可有效的避免把手一20与驱动箱4之间存在夹手的现象。
27.工作原理:当该分切机在切割纸管时,切割产生的边角废料会首先从收集口9掉落至导料板11的上端,然后边角废料在导料板11的弧面导向下落在破碎辊一13与破碎辊二14之间,在破碎辊一13与破碎辊二14旋转切割破碎下,边角废料会变为碎屑落在收集箱10的内部,当收集箱10收集满后手动的拉动把手二21即可将收集箱10取出,在进行切割时可将防护罩18通过滑槽19拉至分切机体1的上方,不但能有效的进行切割防护,避免碎料飞溅,同时能有效的避免风力影响造成掉落的废料改变下落轨迹,确保废料能够顺利进入收集口9中,通过安装驱动电机15并采用啮合连接的齿轮一16与齿轮二17对破碎辊一13与破碎辊二14进行驱动,不但能形成对向旋转切割,同时减少电机的使用,减少能源损耗以及成本造价。
28.最后应当说明的是,以上内容仅用以说明本实用新型的技术方案,而非对本实用新型保护范围的限制,本领域的普通技术人员对本实用新型的技术方案进行的简单修改或者等同替换,均不脱离本实用新型技术方案的实质和范围。
技术特征:
1.一种具有废料回收功能的纸管加工用分切机,包括分切机体(1),其特征在于:所述分切机体(1)的下端固定安装有底座(2),所述底座(2)的下端固定安装有支撑腿(3),所述分切机体(1)上端的右侧固定安装有驱动箱(4),所述驱动箱(4)的左端旋转安装有驱动盘(5),所述驱动盘(5)的左端固定连接有驱动辊(6),所述驱动辊(6)的前方旋转安装有切割杆(7),所述切割杆(7)的外端固定安装有切割刀(8),所述分切机体(1)的上端位于切割刀(8)的下方固定设置有收集口(9),所述收集口(9)的下方位于分切机体(1)的内部固定安装有收集箱(10)。2.根据权利要求1所述的一种具有废料回收功能的纸管加工用分切机,其特征在于:所述收集箱(10)的上方位于分切机体(1)的内部固定安装有导料板(11),所述导料板(11)的上端呈圆弧结构,所述导料板(11)的左右两端通过连接杆(12)与分切机体(1)的内部固定连接,所述导料板(11)的下方位于收集箱(10)的上方旋转安装有破碎辊一(13),所述破碎辊一(13)的下方旋转安装有破碎辊二(14)。3.根据权利要求2所述的一种具有废料回收功能的纸管加工用分切机,其特征在于:所述破碎辊二(14)的左侧位于分切机体(1)的左端固定安装有驱动电机(15),所述驱动电机(15)右端的传动端穿过分切机体(1)并延伸至分切机体(1)的内部,所述驱动电机(15)右端的传动端位于分切机体(1)的内部与破碎辊二(14)固定连接,所述破碎辊一(13)左侧的外端固定安装有齿轮一(16),所述破碎辊二(14)左侧的外端位于齿轮一(16)的下方固定安装有齿轮二(17),所述齿轮一(16)与齿轮二(17)啮合连接。4.根据权利要求3所述的一种具有废料回收功能的纸管加工用分切机,其特征在于:所述分切机体(1)的上端活动安装有防护罩(18),所述分切机体(1)上端的前后两侧固定设置有滑槽(19),所述滑槽(19)与防护罩(18)相适配。5.根据权利要求4所述的一种具有废料回收功能的纸管加工用分切机,其特征在于:所述防护罩(18)的长度与分切机体(1)的长度相同,所述驱动箱(4)左端的外侧贯穿设置有预留槽,所述防护罩(18)通过预留槽延伸至驱动箱(4)的右侧。6.根据权利要求5所述的一种具有废料回收功能的纸管加工用分切机,其特征在于:所述防护罩(18)左侧的前端固定安装有把手一(20),所述把手一(20)的长度大于防护罩(18)前端至防护罩(18)前端的垂直间距,所述收集箱(10)的前端延伸至分切机体(1)的前端,所述收集箱(10)的前端固定安装有把手二(21)。
技术总结
本实用新型公开了一种具有废料回收功能的纸管加工用分切机,包括分切机体,所述分切机体的下端固定安装有底座,所述底座的下端固定安装有支撑腿,所述分切机体上端的右侧固定安装有驱动箱,所述驱动箱的左端旋转安装有驱动盘,所述驱动盘的左端固定连接有驱动辊,所述驱动辊的前方旋转安装有切割杆,所述切割杆的外端固定安装有切割刀,所述分切机体的上端位于切割刀的下方固定设置有收集口。该具有废料回收功能的纸管加工用分切机,可避免切割下来的边角废料保持圆弧状从而导致收集时的间距过大造成收集容量变小的情况,同时切割成碎屑的纸管便于融料再次加工,进而大大提高了该分切机废料回收的便捷性以及高效性。分切机废料回收的便捷性以及高效性。分切机废料回收的便捷性以及高效性。
技术研发人员:沈红霞
受保护的技术使用者:常州市杰霞塑料包装有限公司
技术研发日:2021.01.12
技术公布日:2021/10/8