
本实用新型涉及纸管生产技术领域,尤其涉及一种纸管生产快速分切装置。
背景技术:
随着科学技术的发展和时代的进步,纸工行业逐渐重视,纸管是用纸张加工成的管状物体,大多纸管为螺旋纸管和无缝纸管,纸管在生产过程中需要利用纸管分切机进行加工操作,分切机是一种将宽幅大卷纸张、薄膜、无纺布等材料分切成宽幅窄小卷材料的机械设备,常用于造纸机械、印刷包装机械及纸筒生产中。
现有的纸管分切机在进行分切工作时不具有活动性测量功能,无法确保纸管分切后的长度面积为一致相同,降低纸管分切机的工作效率,现有的纸管分切机在完成分切工作不具有防护功能,使得分切刀片容易产生生锈现象,而大大浪费分切机的刀片成本,降低分切机工作的分切效果。
技术实现要素:
本实用新型的目的是为了解决现有技术中存在现有的纸管分切机在进行分切工作时不具有活动性测量功能,无法确保纸管分切后的长度面积为一致相同,降低纸管分切机的工作效率,现有的纸管分切机在完成分切工作不具有防护功能,使得分切刀片容易产生生锈现象,而大大浪费分切机的刀片成本,降低分切机工作的分切效果的缺点,而提出的一种纸管生产快速分切装置。
为了实现上述目的,本实用新型采用了如下技术方案:
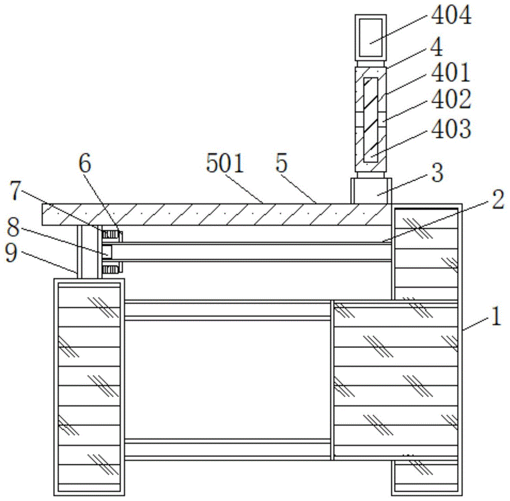
一种纸管生产快速分切装置,包括主体,所述主体的外侧安装有套杆,且套杆的外侧安装有活动板,所述活动板的顶部安装有活动机构,且活动板的外侧连接有固定块,所述活动板的外侧安装有弹簧,且弹簧的外侧连接有抵块,所述主体的顶部连接有第一转轴,且第一转轴的顶部安装有防护机构。
作为上述技术方案的进一步描述:
所述防护机构的内部包括有切割杆,且切割杆的外侧连接有手柄,所述切割杆的外侧连接有第二转轴,且第二转轴的外侧贯穿有刀片,所述切割杆的外侧连接有防护罩,且防护罩的外侧安装有磁性板,所述磁性板的外侧连接有卡块,且卡块的外侧开设有卡槽。
作为上述技术方案的进一步描述:
所述防护罩通过卡块、卡槽与切割杆构成卡合结构,且防护罩通过磁性板与刀片之间为磁性连接。
作为上述技术方案的进一步描述:
所述活动机构的内部包括有承载板,且承载板的外侧安装有刻度线,所述承载板的内部开设有滑槽,且滑槽的内部安装有滑块。
作为上述技术方案的进一步描述:
所述承载板通过滑槽与滑块之间构成滑动结构,且承载板与刻度线之间为固定连接。
作为上述技术方案的进一步描述:
所述活动板通过合页与套杆构成旋转结构,且活动板通过弹簧、抵块与套杆之间构成弹性连接。
综上所述,由于采用了上述技术方案,本实用新型的有益效果是:
1、本实用新型中,该装置通过合页的旋转作用,能够将活动板设置的固定块在套杆套于纸管状态时卡至于套杆内,使得活动板以卡箍形式卡于套杆内,防止纸管在分切工作状态时出现滑动以及脱落现象,当固定块卡于套杆同时,通过弹簧的弹性作用,将抵块根据套于套杆外的纸管长度进行抵触式固定操作,使得该装置在纸管准备进行分切工作具有二次固定操作,提升该装置对纸管进行分切工作的稳固能力。
2、本实用新型中,该装置通过切割杆上设置第二转轴的旋转作用,能够带动刀片进行旋转式切割操作,便于该装置对纸管进行分切工作,当装置完成分切工作时,通过防护罩的防护作用,能够将刀片进行全方面包裹式防护操作,防止刀片长时间在空气中出现生锈现象,通过磁性板的磁性连接作用,能够在防护罩进行全方面包裹操作时达到磁性相互连接,防止防护罩在包裹操作时出现散开现象,提升该装置对完工后刀片的防护工作效率,通过卡块与卡槽的相互配合作用,能够在刀片进行工作状态时便于收纳操作,避免影响刀片进行分切工作。
3、本实用新型中,该装置在进行分切工作时,可通过滑块与滑槽的相互配合作用,能够便于将连接滑块的切割杆在进行分切工作时达到滑动操作,使得切割杆在进行分切工作时具有全方面移动功能,提升该装置对纸管具有全方位功能进行分切工作,同时,通过刻度线的作用,能够在切割杆对纸管进行分切工作时达到测量作用,使得该装置对纸管进行分切工作时具有长度面积调节功能,避免出现分切后的纸管形状不一现象,提升该装置对纸管进行分切的工作效率。
附图说明
图1为本实用新型中结构示意图;
图2为本实用新型中防护机构结构示意图;
图3为本实用新型中活动机构结构示意图。
图例说明:
1、主体;2、套杆;3、第一转轴;4、防护机构;401、切割杆;402、第二转轴;403、刀片;404、手柄;405、防护罩;406、卡槽;407、卡块;408、磁性板;5、活动机构;501、承载板;502、滑槽;503、滑块;504、刻度线;6、抵块;7、弹簧;8、固定块;9、活动板。
具体实施方式
下面将结合本实用新型实施例中的附图,对本实用新型实施例中的技术方案进行清楚、完整地描述,显然,所描述的实施例仅仅是本实用新型一部分实施例,而不是全部的实施例。基于本实用新型中的实施例,本领域普通技术人员在没有作出创造性劳动前提下所获得的所有其它实施例,都属于本实用新型保护的范围。
参照图1-3,一种纸管生产快速分切装置,包括主体1,主体1的外侧安装有套杆2,且套杆2的外侧安装有活动板9,活动板9的顶部安装有活动机构5,且活动板9的外侧连接有固定块8,活动板9的外侧安装有弹簧7,且弹簧7的外侧连接有抵块6,使得该装置在纸管准备进行分切工作具有二次固定操作,提升该装置对纸管进行分切工作的稳固效率,主体1的顶部连接有第一转轴3,且第一转轴3的顶部安装有防护机构4。
进一步的,防护机构4的内部包括有切割杆401,且切割杆401的外侧连接有手柄404,切割杆401的外侧连接有第二转轴402,且第二转轴402的外侧贯穿有刀片403,切割杆401的外侧连接有防护罩405,且防护罩405的外侧安装有磁性板408,磁性板408的外侧连接有卡块407,且卡块407的外侧开设有卡槽406,防止刀片403长时间在空气中出现生锈现象,防止防护罩405在包裹操作时出现散开现象,提升该装置对完工后刀片403的防护工作效率,通过卡块407与卡槽406的相互配合作用,能够在刀片403进行工作状态时便于收纳操作,避免影响刀片403进行分切工作。
进一步的,防护罩405通过卡块407、卡槽406与切割杆401构成卡合结构,且防护罩405通过磁性板408与刀片403之间为磁性连接,通过防护罩405的防护作用,能够将刀片403进行全方面包裹式防护操作,通过磁性板408的磁性连接作用,能够在防护罩405进行全方面包裹操作时达到磁性相互连接。
进一步的,活动机构5的内部包括有承载板501,且承载板501的外侧安装有刻度线504,承载板501的内部开设有滑槽502,且滑槽502的内部安装有滑块503,使得切割杆401在进行分切工作时具有全方面移动功能,提升该装置对纸管具有全方位功能进行分切工作,使得该装置对纸管进行分切工作时具有长度面积调节功能,避免出现分切后的纸管形状不一现象,提升该装置对纸管进行分切的工作效率。
进一步的,承载板501通过滑槽502与滑块503之间构成滑动结构,且承载板501与刻度线504之间为固定连接,在该装置进行分切工作时,可通过滑块503与滑槽502的相互配合作用,能够便于将连接滑块503的切割杆401在进行分切工作时达到滑动操作,同时,通过刻度线504的作用,能够在切割杆401对纸管进行分切工作时达到测量作用。
进一步的,活动板9通过合页与套杆2构成旋转结构,且活动板9通过弹簧7、抵块6与套杆2之间构成弹性连接,活动板9通过合页将设置的固定块8在套杆2套于纸管状态时卡至于套杆2内,使得活动板9以卡箍形式卡于套杆2内,防止纸管在分切工作状态时出现滑动以及脱落现象,当固定块8卡于套杆2同时,通过弹簧7的弹性作用,将抵块6根据套于套杆2外的纸管长度进行抵触式固定操作。
工作原理:使用时,工作人员将纸管套于套杆2中,随后,活动板9通过合页将设置的固定块8在套杆2套于纸管状态时卡至于套杆2内,使得活动板9以卡箍形式卡于套杆2内,防止纸管在分切工作状态时出现滑动以及脱落现象,当固定块8卡于套杆2同时,通过弹簧7的弹性作用,将抵块6根据套于套杆2外的纸管长度进行抵触式固定操作,使得该装置在纸管准备进行分切工作具有二次固定操作,提升该装置对纸管进行分切工作的稳固效率,然后,启动装置,在该装置进行分切工作时,可通过滑块503与滑槽502的相互配合作用,能够便于将连接滑块503的切割杆401在进行分切工作时达到滑动操作,使得切割杆401在进行分切工作时具有全方面移动功能,提升该装置对纸管具有全方位功能进行分切工作,同时,通过刻度线504的作用,能够在切割杆401对纸管进行分切工作时达到测量作用,使得该装置对纸管进行分切工作时具有长度面积调节功能,避免出现分切后的纸管形状不一现象,提升该装置对纸管进行分切的工作效率,最后,装置完成分切工作时,通过防护罩405的防护作用,能够将刀片403进行全方面包裹式防护操作,防止刀片403长时间在空气中出现生锈现象,通过磁性板408的磁性连接作用,能够在防护罩405进行全方面包裹操作时达到磁性相互连接,防止防护罩405在包裹操作时出现散开现象,提升该装置对完工后刀片403的防护工作效率,通过卡块407与卡槽406的相互配合作用,能够在刀片403进行工作状态时便于收纳操作,避免影响刀片403进行分切工作。
以上所述,仅为本实用新型较佳的具体实施方式,但本实用新型的保护范围并不局限于此,任何熟悉本技术领域的技术人员在本实用新型揭露的技术范围内,根据本实用新型的技术方案及其实用新型构思加以等同替换或改变,都应涵盖在本实用新型的保护范围之内。
技术特征:
1.一种纸管生产快速分切装置,包括主体(1),其特征在于,所述主体(1)的外侧安装有套杆(2),且套杆(2)的外侧安装有活动板(9),所述活动板(9)的顶部安装有活动机构(5),且活动板(9)的外侧连接有固定块(8),所述活动板(9)的外侧安装有弹簧(7),且弹簧(7)的外侧连接有抵块(6),所述主体(1)的顶部连接有第一转轴(3),且第一转轴(3)的顶部安装有防护机构(4)。
2.根据权利要求1所述的一种纸管生产快速分切装置,其特征在于,所述防护机构(4)的内部包括有切割杆(401),且切割杆(401)的外侧连接有手柄(404),所述切割杆(401)的外侧连接有第二转轴(402),且第二转轴(402)的外侧贯穿有刀片(403),所述切割杆(401)的外侧连接有防护罩(405),且防护罩(405)的外侧安装有磁性板(408),所述磁性板(408)的外侧连接有卡块(407),且卡块(407)的外侧开设有卡槽(406)。
3.根据权利要求2所述的一种纸管生产快速分切装置,其特征在于,所述防护罩(405)通过卡块(407)、卡槽(406)与切割杆(401)构成卡合结构,且防护罩(405)通过磁性板(408)与刀片(403)之间为磁性连接。
4.根据权利要求1所述的一种纸管生产快速分切装置,其特征在于,所述活动机构(5)的内部包括有承载板(501),且承载板(501)的外侧安装有刻度线(504),所述承载板(501)的内部开设有滑槽(502),且滑槽(502)的内部安装有滑块(503)。
5.根据权利要求4所述的一种纸管生产快速分切装置,其特征在于,所述承载板(501)通过滑槽(502)与滑块(503)之间构成滑动结构,且承载板(501)与刻度线(504)之间为固定连接。
6.根据权利要求1所述的一种纸管生产快速分切装置,其特征在于,所述活动板(9)通过合页与套杆(2)构成旋转结构,且活动板(9)通过弹簧(7)、抵块(6)与套杆(2)之间构成弹性连接。
技术总结
本实用新型公开了一种纸管生产快速分切装置,涉及纸管生产技术领域,包括主体,所述主体的外侧安装有套杆,且套杆的外侧安装有活动板,所述活动板的顶部安装有活动机构,且活动板的外侧连接有固定块,所述活动板的外侧安装有弹簧,且弹簧的外侧连接有抵块,所述主体的顶部连接有第一转轴。本实用新型中,该装置通过合页的旋转作用,能够将活动板设置的固定块在套杆套于纸管状态时卡至于套杆内,使得活动板以卡箍形式卡于套杆内,防止纸管在分切工作状态时出现滑动以及脱落现象,当固定块卡于套杆同时,通过弹簧的弹性作用,将抵块根据套于套杆外的纸管长度进行抵触式固定操作,使得该装置在纸管准备进行分切工作具有二次固定操作。
技术研发人员:吴双
受保护的技术使用者:宿迁市福泰包装材料有限公司
技术研发日:2019.08.20
技术公布日:2020.05.12