
本发明涉及锂电池隔膜分切加工技术领域,具体来说是一种用于锂电池隔膜分切机的独立式收卷站。
背景技术:
目前锂电池广泛应用于便携式电子产品上,与传统的水溶液电池相比,锂电池具有较高的比能量、长的循环寿命和对环境友好等优点,是一种发展潜力很大的电池体系。在锂电池的结构当中,隔膜是关键的内组件之一,它的性能决定了电池的界面结构、内阻等,直接影响了电池的容量、循环利用率和安全性能。
现有技术中,锂电池隔膜二次分切机的收卷工序,通常采用具有滑差特性的收卷方式,以保证二次分切后将差异性的分条收好。目前采用的有两种结构:集中传动的气动滑差轴、集中传动的电磁式滑差轴;这两种结构,每个滑差单元的物理特性都是固定的,难以适应生产中各种差异的分条。
针对现有技术的不足,本案提出一种用于锂电池隔膜分切机的独立收卷站,从而解决以上提到的问题。
技术实现要素:
针对现有技术中存在的上述不足之处,本发明目的是提供一种用于锂电池隔膜分切机的独立收卷站。
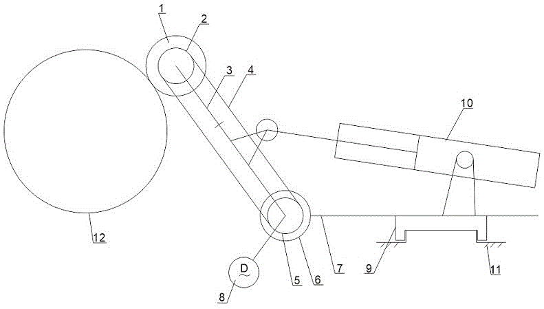
本发明为实现上述目的所采用的技术方案是:一种用于锂电池隔膜分切机的独立收卷站,包括收卷轴、第一同步带轮、收卷臂、同步带、第二同步带轮、铰接轴、机架、传动电机和气缸,其特征在于:所述收卷轴经由第一同步带轮而设置于收卷臂的一端,并与锂电池隔膜分切机的接触辊相抵触;所述第二同步带轮设置于收卷臂的另一端,通过铰接轴与机架连接;所述同步带连接第一同步带轮与第二同步带轮,第二同步带轮系由传动电机驱动;所述气缸也设置在机架上,用以驱动收卷臂调节所述收卷轴对接触辊的压紧力;所述机架底部设有可沿固定式底座横向移动的滑动座。
进一步地,上述的用于锂电池隔膜分切机的独立收卷站,其中:所述收卷轴为气胀轴,上面设有环形槽、套辊和连接轴辊,所述连接轴辊设置于收卷轴的一端,所述环形槽设置于收卷轴的另一端,所述套辊设置于收卷轴的中右部。
更进一步地,上述的用于锂电池隔膜分切机的独立收卷站,其中:所述收卷臂一端设有被动转动机构,所述收卷轴经由该被动转动机构与第一同步带轮衔接;所述收卷臂的另一端设有胀紧轴套,所述第二同步带轮经由该胀紧轴套与铰接轴进而与机架连接。
再进一步地,上述的用于锂电池隔膜分切机的独立收卷站,其中:所述滑动座与固定式底座之间采用直线导轨副结构、燕尾槽结构或者矩形槽结构活动衔接。
与现有技术相比,本发明采用单独电机传动给收卷轴、气缸驱动收卷臂的收卷方式,具有单独调节收卷张力和压力的功能;该收卷站是一个独立的收卷单元,一台分切机的收卷系统可由有多个这种独立收卷站组成。传动电机采用但不限于伺服电机,可固定于铰接轴、机架或收卷臂上,通过第二同步带轮、同步带和第一同步带轮传动与收卷轴,实现每个收卷单元的张力可独立调整;气缸固定于机架上,采用但不限于气动比例阀调节气源压力,由气缸驱动收卷臂,可独立调整收卷轴对接触辊的压紧力大小;机架底部设有滑动座,可横向移动以灵活变换收卷工位。如此,本案这种独立收卷站完全能够适应锂电池隔膜分切生产中各种差异的分条,操作灵活性及整体效率大为提高。
附图说明
图1为本发明的整体结构示意图;
图2为本发明的收卷轴的结构示意图;
图3为本发明的收卷臂的结构示意图。
图中:1收卷轴、2第一同步带轮、3收卷臂、31被动转动机构、32胀紧轴套、4同步带、5第二同步带轮、6铰接轴、7机架、8传动电机、9滑动座、10气缸、11底座、12接触辊、14环形槽、15套辊、16连接轴辊。
具体实施方式
下面结合附图及具体实例,对本发明技术方案进行清楚、完整地描述。显然,所描述的实施例仅仅是本发明一部分实施例,而不是全部的实施例;基于本发明中的实施例,本领域普通技术人员在没有做出创造性劳动前提下所获得的所有其他实施例,都属于本发明的保护范围。
请参阅图1~图3,本发明提供一种用于锂电池隔膜分切机的独立收卷站,包括收卷轴1、第一同步带轮2、收卷臂3、同步带4、第二同步带轮5、铰接轴6、机架7、传动电机8和气缸10。其中:所述收卷轴1经由第一同步带轮2而设置于收卷臂3的一端,并与锂电池隔膜分切机的接触辊12相抵触;所述第二同步带轮5设置于收卷臂3的另一端,通过铰接轴6与机架7连接;所述同步带4连接第一同步带轮2与第二同步带轮5,第二同步带轮5系由传动电机8驱动;所述气缸10也设置在机架7上面,用以驱动收卷臂3调节所述收卷轴1对于接触辊12的压紧力;所述机架7底部设有可沿固定式底座11横向移动的滑动座9。
优选地,如图2所示,本发明当中:所述收卷轴1为气胀轴,上面设有环形槽14、套辊15和连接轴辊16;所述连接轴辊16设置于收卷轴1的一端,所述环形槽14设置于收卷轴1的另一端,所述套辊15设置于收卷轴1的中右部,借助环形槽14的设计,能够在套辊15表面出现损坏时及时进行套辊15更换固定。
而且,如图3所示,本发明当中:所述收卷臂3一端设有被动转动机构31,所述收卷轴1经由该被动转动机构31与第一同步带轮2衔接,利用被动转动机构31可以调节收卷轴1的收卷速度,不影响其它独立收卷站的收卷工作,具有收卷效果好、收卷品质高和收卷完成后就会停止收卷等优点;所述收卷臂3的另一端设有胀紧轴套32,所述第二同步带轮5经由该胀紧轴套32与铰接轴6进而与机架7连接,这样,传动电机8驱动第二同步带轮5时,不会对铰接轴6和机架7带来更大的震动等负面影响。
此外,本发明当中:机架7底部的滑动座9与固定式底座11之间,可以采用直线导轨副结构、燕尾槽结构或者矩形槽结构活动衔接,以方便机架7带动要整个独立收卷站横向移动,从而灵活变换收卷工位;所述第一同步带轮2与第二同步带轮5的尺寸型号,可以根据需要的转速比而选定。
与现有技术相比,本发明采用单独的传动电机8传动给收卷轴1、气缸10驱动收卷臂3的收卷方式,具有单独调节收卷张力和压力的功能。该收卷站是一个独立的收卷单元,一台分切机的收卷系统可由有多个这种独立收卷站组成。传动电机8采用但不限于伺服电机,可固定于铰接轴6、机架7或收卷臂3上面,通过第二同步带轮5、同步带4和第一同步带轮2传动与收卷轴1,实现每个收卷单元的张力可独立调整;气缸10固定于机架7上,采用但不限于气动比例阀调节气源压力,由气缸10驱动收卷臂3,可独立调整收卷轴1对于接触辊12的压紧力大小;机架7底部设有滑动座9,可横向移动以灵活变换收卷工位。如此,本案这种独立收卷站完全能够适应锂电池隔膜分切生产中各种差异的分条,操作灵活性及整体效率大为提高。
以上对本发明的结构组成和工作过程进行了详细描述,其中涉及到的标准零件均可以从市场上购买,异形件根据本案说明书和附图的记载均可以进行订制,各个零件的具体连接方式采用现有技术中成熟的螺绞连接、铆接、铰接等常规手段,机械、零件和设备均采用现有技术中常规的型号,电路连接亦采用现有技术中常规的连接方式,在此不再详述。
对于本领域技术人员而言,显然,本发明不限于上述示范性实施例的细节,而且在不背离本发明的精神或基本特征的情况下,能够以其他的具体形式实现本发明。因此,无论从哪一点来看,均应将实施例看作是示范性的,而且是非限制性的,本发明的范围由所附权利要求而不是上述说明限定,因此,旨在将落在权利要求的等同要件的含义和范围内的所有变化囊括在本发明内,并且不应将权利要求中的任何附图标记视为限制所涉及的权利要求。
此外,应当理解,虽然本说明书按照实施方式加以描述,但并非每个实施方式仅包含一个独立的技术方案,说明书的这种叙述方式仅仅是为清楚起见,本领域技术人员应当将说明书作为一个整体,各实施例中的技术方案也可以经适当组合,形成本领域技术人员可以理解的其他实施方式。
技术特征:
1.用于锂电池隔膜分切机的独立收卷站,包括收卷轴(1)、第一同步带轮(2)、收卷臂(3)、同步带(4)、第二同步带轮(5)、铰接轴(6)、机架(7)、传动电机(8)和气缸(10),其特征在于:所述收卷轴(1)经由第一同步带轮(2)而设置于收卷臂(3)的一端,并与锂电池隔膜分切机的接触辊(12)相抵触;所述第二同步带轮(5)设置于收卷臂(3)的另一端,通过铰接轴(6)与机架(7)连接;所述同步带(4)连接第一同步带轮(2)与第二同步带轮(5),第二同步带轮(5)系由传动电机(8)驱动;所述气缸(10)也设置在机架(7)上,用以驱动收卷臂(3)调节所述收卷轴(1)对接触辊(12)的压紧力;所述机架(7)底部设有可沿固定式底座(11)横向移动的滑动座(9)。
2.根据权利要求1所述的用于锂电池隔膜分切机的独立收卷站,其特征在于:所述收卷轴(1)为气胀轴,上面设有环形槽(14)、套辊(15)和连接轴辊(16),所述连接轴辊(16)设置于收卷轴(1)的一端,所述环形槽(14)设置于收卷轴(1)的另一端,所述套辊(15)设置于收卷轴(1)的中右部。
3.根据权利要求1所述的用于锂电池隔膜分切机的独立收卷站,其特征在于:所述收卷臂(3)一端设有被动转动机构(31),所述收卷轴(1)经由该被动转动机构(31)与第一同步带轮(2)衔接。
4.根据权利要求3所述的用于锂电池隔膜分切机的独立收卷站,其特征在于:所述收卷臂(3)的另一端设有胀紧轴套(32),所述第二同步带轮(5)经由该胀紧轴套(32)与铰接轴(6)进而与机架(7)连接。
5.根据权利要求1所述的用于锂电池隔膜分切机的独立收卷站,其特征在于:所述滑动座(9)与固定式底座(11)之间采用直线导轨副结构、燕尾槽结构或者矩形槽结构活动衔接。
技术总结
本发明公开了一种用于锂电池隔膜分切机的独立收卷站,其收卷轴经由第一同步带轮而设置于收卷臂的一端,并与锂电池隔膜分切机的接触辊相抵触,第二同步带轮设置于收卷臂的另一端,通过铰接轴与机架连接;同步带连接第一同步带轮与第二同步带轮,且,第二同步带轮系由传动电机驱动;机架上设有气缸,用以驱动收卷臂调节收卷轴对接触辊的压紧力,机架底部设有可沿固定式底座横向移动的滑动座。本发明设计为独立的收卷单元,具有单独调节收卷张力与压力的功能,能够适应锂电池隔膜分切生产中各种差异的分条,操作灵活性及整体效率大为提高。
技术研发人员:窦保杰;邢尹超凡;陈昱晓;陈晓璘
受保护的技术使用者:苏州报捷智能装备有限公司
技术研发日:2021.03.30
技术公布日:2021.06.11