
1.本实用新型涉及分切机领域,具体而言,涉及一种用于分切机的输送机构。
背景技术:
2.分切机广泛应用于纸片或纸板的切割,如在生产纸杯纸碗时,需将面积较大的纸片(纸板)原料切割成预定规格的小纸片。
3.针对面积较大的纸片的切割,由于静电吸附或褶皱原因,导致纸片不能贴合于切割台面,致使分切机的刀片分切后的纸片往往切割边线粗糙且不够整齐,极易产生次品。
技术实现要素:
4.本实用新型的目的在于克服背景技术的缺点,提供一种用于分割机的输送机构,所述输送机构利用负压原理将纸片吸附在输送箱上供分切机分切,以期提高纸片的切割效率和成品率。
5.本实用新型的实施例通过以下技术方案实现:
6.一种用于分切机的输送机构,用于将纸片输送到分切机的刀轴下方,包括:
7.可滑动地设置于分切机的切割台面上的输送箱,输送箱上端面开设有若干气孔,所述输送箱的箱体内部通过管道连通有一组气囊,所述气囊内置有一组复位弹簧,且管道内设置有一组单向阀使输送箱内的空气向气囊内单向流动;
8.气缸,所述气缸的活塞杆与输送箱连接,用以驱动输送箱在切割台面上的往复运动;
9.当气缸驱动上端面覆盖有纸片的输送箱往刀轴下方移动时,气囊处于压缩状态,所述复位弹簧复位促使输送箱的箱体内部负压以将纸片吸附于所述若干气孔之上。
10.在一些优选实施方案中,所述用于分切机的输送机构还包括连杆,所述连杆与所述活塞杆连接用以带动连杆的往复移动;
11.所述气囊设置于分切机上且位于连杆的移动轴线上,当活塞杆处于收缩装态时,连杆端部抵接于所述气囊上以使气囊处于压缩状态。
12.在一些优选实施方案中,所述输送箱上端面上开设有若干长槽,所述若干长槽互相平行,所述若干长槽用于刀轴上的若干刀片的穿过。
13.在一些优选实施方案中,所述输送箱包括若干互相隔绝的箱体单元,且所述若干箱体单元平行设置;每组箱体单元上端面设有若干所述气孔,且每组箱体单元各通过一组导气管与气囊连通,每组导气管的管路上还各设有一组阀门。
14.在一些优选实施方案中,所述若干箱体单元的导气管通过一组多通管接头连通有一组软管,所述软管与所述气囊连通。
15.在一些优选实施方案中,所述多通管接头与所述软管之间通过一组硬管连通,所述硬管延伸方向平行于所述活塞杆的伸缩方向。
16.在一些优选实施方案中,所述连杆延伸方向平行于所述活塞杆伸缩方向,所述分
切机上设有导向筒,所述连杆可滑动地穿设于所导向筒内,用以为连杆的移动提供导向
17.本实用新型实施例的技术方案至少具有如下优点和有益效果:
18.本实用新型的气囊与输送箱连通,输送箱往刀轴下方移动时,气囊在复位弹簧作用下复位,使输送箱产生负压,将输送箱上端面上的纸片吸附在气孔上,使得纸片贴合于输送箱的上端面,便于整齐和准确的切割,提高分切效率。
附图说明
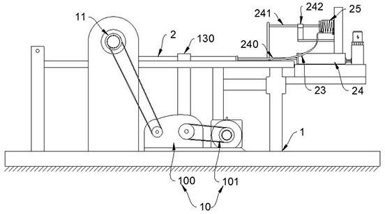
19.图1为本实用新型的分切机主视图;
20.图2为本实用新型的切割装置的侧视图;
21.图3为本实用新型的分切机的输送箱俯视图;
22.图中,1
‑
机架,10
‑
动力装置,100
‑
变速箱,101
‑
电机,11
‑
刀轴,110
‑
刀片,13
‑
切割台面,130
‑
导向件,2
‑
输送箱,20
‑
箱体单元,200
‑
气孔,201
‑
导气管,21
‑
长槽, 22
‑
多通管接头,220
‑
阀门,23
‑
软管,230
‑
硬管,24
‑
气缸,240
‑
活塞杆,241
‑
连杆,242
‑
导向筒,25
‑
气囊。
具体实施方式
23.为了对本实用新型的技术特征、目的和效果有更加清楚的理解,现对照附图说明本实用新型的具体实施方式,但本实用新型的保护范围不局限于以下所述。
24.下面结合实施例对本实用新型作进一步的描述,所描述的实施例仅是本实用新型一部分实施例,并不是全部的实施例。基于本实用新型中的实施例,本领域的普通技术人员在没有做出创造性劳动前提下所获得的其他所有实施例,都属于本实用新型的保护范围。
25.在本实用新型的描述中,需要理解的是,术语“逆时针”、“顺时针”“纵向”、“横向”、“上”、“下”、“前”、“后”、“左”、“右”、“竖直”、“水平”、“顶”、“底”、“内”、“外”等指示的方位或位置关系为基于附图所示的方位或位置关系,仅是为了便于描述本实用新型,而不是指示或暗示所指的装置或元件必须具有特定的方位、以特定的方位构造和操作,因此不能理解为对本实用新型的限制。
实施例
26.参照图1至3,一种用于分切机的输送机构,用于将纸片输送到分切机的刀轴11下方,所述分切机包括机架1,机架1上设有动力装置10,动力装置10包括带轮连接的电机101和变速箱100,变速箱100带轮连接刀轴11,用以驱动刀轴11转动,刀轴11上设置有若干刀片110,刀轴11设置于切割台面13上方。
27.所述用于分切机的输送机构包括:
28.可滑动地设置于分切机的切割台面13上的输送箱2,输送箱2上端面开设有若干气孔200,所述输送箱2的箱体内部通过管道连通有一组气囊25,所述气囊25内置有一组复位弹簧,且管道内设置有一组单向阀使输送箱2内的空气向气囊25内单向流动;
29.气缸24,所述气缸24的活塞杆240与输送箱2连接,用以驱动输送箱2在切割台面13上的往复运动,即输送箱2设于气缸24与刀轴11之间的切割台面13上,切割台面13两侧的机架1上设有多组导向件130以为输送箱2的移动提供导向。
30.当气缸24驱动上端面覆盖有纸片的输送箱2往刀轴11下方移动时,气囊25处于压
缩状态,所述复位弹簧复位促使气囊25吸气,输送箱2的箱体内部负压以将纸片吸附于所述若干气孔200之上,过程中,刀片110切割纸片,纸片不易位移和翘起,使得切割整齐。
31.此外,在一些优选实施例中,所述用于分切机的输送机构还包括连杆241,所述连杆241横向设置于气缸24上方的机架1上,机架1上设有导向筒242,所述连杆241延伸方向平行于所述活塞杆240伸缩方向,所述连杆241可滑动地穿设于所导向筒242内,连杆241与导向筒242滑动连接,用以为连杆241的移动提供导向。
32.所述连杆241的左端通过一组竖杆与所述活塞杆240连接,通过活塞杆240的移动带动连杆241的往复移动。
33.所述气囊25设置于分切机的机架1上且位于连杆241的移动轴线上,当活塞杆240处于收缩装态时,连杆241端部抵接于所述气囊25上以使气囊25处于压缩状态;气囊上设有单独的排气阀,此时,气体经排气阀排出。
34.当活塞杆240向图1左侧移动,带动输送箱2输送纸片时,所述连接杆241的右端脱离气囊25,气囊25吸气,促使输送箱2产生负压,过程中,刀片110切割纸片,当纸片最右端越过刀片110后,气囊25复位到正常大小,活塞杆240收缩过程中,连杆241右端挤压气囊25,气囊25的空气经排气阀排出,重新处于压缩状态。
35.参照图2和图3,在一些优选实施例中,所述输送箱2上端面上开设有若干长槽21,所述若干长槽21互相平行,长槽21长度方向为活塞杆240移动方向,所述若干长槽21用于刀轴11上的若干刀片的穿过,即刀片110切割时,划入长槽21内,不易损伤刀片110。
36.所述输送箱2包括若干互相隔绝的箱体单元20,本实施例中,通过7组长槽21分割为8组平行的箱体单元,所述若干箱体单元20平行设置;每组箱体单元20上端面设有若干所述气孔200,且每组箱体单元20各通过一组导气管201与气囊25连通,每组导气管201的管路上还各设有一组阀门220,将输送箱2内腔划分为多个单独区域,可通过阀门220对每个区域进行单端开闭,如此,便于适应不同的带切割纸片大小,避免纸片对输送箱2的上端面覆盖不全,导致负压泄露的问题。
37.在一些优选实施例中,所述若干箱体单元20的导气管201通过一组多通管接头22连通有一组软管23,所述软管23与所述气囊25连通,具体地,所述多通管接头 22与所述软管23之间通过一组硬管230连通,所述硬管230延伸方向平行于所述活塞杆240的伸缩方向,相对于软管23,在移动过程中,硬管230不会产生弯折,不易被刀片110误伤。
38.此外,所述硬管230的长度延伸到所述刀轴11的切割范围之外,即:参照图1,输送箱2向左移动,输送箱2的右端越过刀轴11下方时,硬管230的右端仍然位于刀轴11的右端之外,硬管230末端的软管23不会被刀片110误伤。
39.以上仅为本实用新型的较佳实施例而已,当然不能以此来限定本实用新型之权利范围,因此依本实用新型权利要求所作地等同变化,仍属本实用新型所涵盖的范围。
技术特征:
1.一种用于分切机的输送机构,用于将纸片输送到分切机的刀轴(11)下方,其特征在于,包括:可滑动地设置于分切机的切割台面(13)上的输送箱(2),输送箱(2)上端面开设有若干气孔(200),所述输送箱(2)的箱体内部通过管道连通有一组气囊(25),所述气囊(25)内置有一组复位弹簧,且管道内设置有一组单向阀使输送箱(2)内的空气向气囊(25)内单向流动;气缸(24),所述气缸(24)的活塞杆(240)与输送箱(2)连接,用以驱动输送箱(2)在切割台面(13)上的往复运动;当气缸(24)驱动上端面覆盖有纸片的输送箱(2)往刀轴(11)下方移动时,气囊(25)处于压缩状态,所述复位弹簧复位促使输送箱(2)的箱体内部负压以将纸片吸附于所述若干气孔(200)之上。2.根据权利要求1所述的一种用于分切机的输送机构,其特征在于:所述用于分切机的输送机构还包括连杆(241),所述连杆(241)与所述活塞杆(240)连接用以带动连杆(241)的往复移动;所述气囊(25)设置于分切机上且位于连杆(241)的移动轴线上,当活塞杆(240)处于收缩装态时,连杆(241)端部抵接于所述气囊(25)上以使气囊(25)处于压缩状态。3.根据权利要求2所述的一种用于分切机的输送机构,其特征在于:所述输送箱(2)上端面上开设有若干长槽(21),所述若干长槽(21)互相平行,所述若干长槽(21)用于刀轴(11)上的若干刀片的穿过。4.根据权利要求3所述的一种用于分切机的输送机构,其特征在于:所述输送箱(2)包括若干互相隔绝的箱体单元(20),且所述若干箱体单元(20)平行设置;每组箱体单元(20)上端面设有若干所述气孔(200),且每组箱体单元(20)各通过一组导气管(201)与气囊(25)连通,每组导气管(201)的管路上还各设有一组阀门(220)。5.根据权利要求4所述的一种用于分切机的输送机构,其特征在于:所述若干箱体单元(20)的导气管(201)通过一组多通管接头( 22)连通有一组软管(23),所述软管(23)与所述气囊(25)连通。6.根据权利要求5所述的一种用于分切机的输送机构,其特征在于:所述多通管接头( 22)与所述软管(23)之间通过一组硬管(230)连通,所述硬管(230)延伸方向平行于所述活塞杆(240)的伸缩方向。7.根据权利要求2至6任意一项所述的一种用于分切机的输送机构,其特征在于:所述连杆(241)延伸方向平行于所述活塞杆(240)伸缩方向,所述分切机上设有导向筒(242),所述连杆(241)可滑动地穿设于所导向筒(242)内,用以为连杆(241)的移动提供导向。
技术总结
本实用新型提供了一种用于分切机的输送机构,用于将纸片输送到分切机的刀轴下方,包括气缸和可滑动地设置于分切机的切割台面上的输送箱,输送箱上端面开设有若干气孔,输送箱的箱体内部通过管道连通有一组气囊,气囊内置有一组复位弹簧,且管道内设置有一组单向阀使输送箱内的空气向气囊内单向流动;气缸的活塞杆与输送箱连接,用以驱动输送箱在切割台面上的往复运动;当气缸驱动上端面覆盖有纸片的输送箱往刀轴下方移动时,气囊处于压缩状态,所述复位弹簧复位促使输送箱的箱体内部负压以将纸片吸附于所述若干气孔之上,使得纸片贴合于输送箱的上端面,便于整齐和准确的分切,提高分切效率。提高分切效率。提高分切效率。
技术研发人员:徐富
受保护的技术使用者:成都乐美纸制品有限公司
技术研发日:2020.11.09
技术公布日:2021/7/8