
本实用新型涉及pe泡棉技术领域,具体为一种pe泡棉生产用分切装置。
背景技术:
泡棉是塑料粒子发泡过的材料,简称泡棉。泡棉分为pu泡棉,防静电泡棉,导电泡棉,epe,防静电epe,poron,cr,eva,架桥pe,sbr,epdm等。pe泡棉具有有弹性、重量轻、快速压敏固定、使用方便、弯曲自如、体积超薄、性能可靠等一系列特点。
现有技术中的pe泡棉制造设备在泡棉完成制作后,一般都会根据不同需要,对宽幅pe泡棉进行分切工作,以将宽幅大的pe泡棉分切成各种生产需要的,且幅度合适的pe泡棉,然而现有的pe泡棉分切机结构复杂,操作繁杂,而且造价昂贵,不适用与规模较小的pe泡棉生产企业。
基于此,本实用新型设计了一种pe泡棉生产用分切装置,以解决上述问题。
技术实现要素:
本实用新型的目的在于提供一种pe泡棉生产用分切装置,以解决上述背景技术中提出的现有的pe泡棉分切机结构复杂,操作繁杂,而且造价昂贵,不适用与规模较小的pe泡棉生产企业的问题。
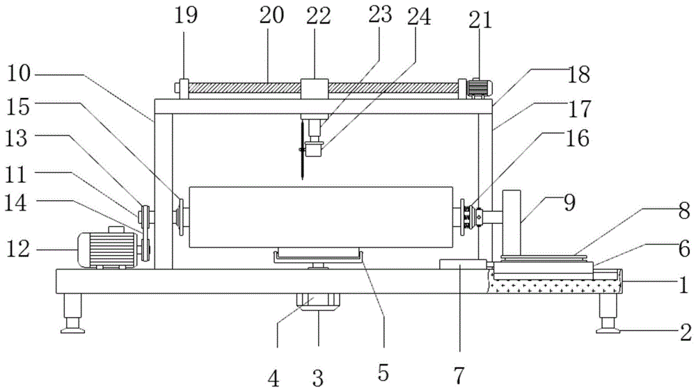
为实现上述目的,本实用新型提供如下技术方案:一种pe泡棉生产用分切装置,包括底板,所述底板的底部四角均安装有支撑脚,所述底板的底部中央固接有电动推杆安装座,所述电动推杆安装座上固定安装有贯穿底板的第一电动推杆,所述第一电动推杆的顶部固接有支撑滚动装置,所述底板的顶部右侧滑动连接有滑块,所述滑块的左侧固接有安装在底板上的第二电动推杆,所述滑块的顶部固定安装有电动转台,所述电动转台的顶部左侧固接有第一支撑柱,所述底板的顶部右侧固接有第二支撑柱,所述第二支撑柱和第一支撑柱之间贯穿转动连接有转轴,所述底板的顶部左侧固定安装有位于第二支撑柱左侧的第一电机,所述第一电机的右侧输出端和转轴的左端均套接有皮带轮,两组所述皮带轮之间套接有皮带,所述转轴的左侧固接有抵接盘,所述转轴的右侧固接有活动限位盘,所述活动限位盘和抵接盘之间设置有套接在转轴上的pe泡棉卷,所述底板的顶部右后侧固接有第三支撑柱,所述第三支撑柱和第二支撑柱的顶部固接有顶板,所述顶板的顶部左右对称安装有轴承座,两组所述轴承座之间转动连接有螺纹杆,所述顶板的顶部右侧固定安装有第二电机,所述第二电机的输出端与螺纹杆通过联轴器连接,所述螺纹杆上螺接有贯穿顶板的螺纹滑块,所述螺纹滑块的底部固定安装有第三电动推杆,所述第三电动推杆的底部固接有分切装置,所述第一电动推杆、第二电动推杆、电动转台、第一电机和第二电机均通过控制开关与外接电源电性连接。
优选的,所述支撑滚动装置包括支撑架,所述支撑架顶部左右对称转动连接有支撑滚轴,所述支撑滚轴上套接有橡胶轮。
优选的,所述活动限位盘包括通孔套件,所述通孔套件的左方设置有通孔盘,所述通孔盘与通孔套件之间均匀固接有弹簧,所述通孔套件的圆周外壁均匀螺接有与转轴抵接的把柄螺栓。
优选的,所述顶板包括顶板主体,所述顶板主体的前表面中部开设有顶滑槽,所述顶滑槽与螺纹滑块滑动配合。
优选的,所述分切装置包括电机固定架,所述电机固定架底部安装有第三电机,所述第三电机的左侧输出端套接有分切刀,所述第三电机通过控制开关与外接电源电性连接。
与现有技术相比,本实用新型的有益效果是:本实用新型结构简单,操作方便,造价便宜,适用于pe泡棉卷的分切工作,通过支撑滚动装置,可对pe泡棉卷进行支撑,有利于提高分切的稳定性,从而提高分切的质量,通过抵接盘和活动限位盘,可使pe泡棉卷有一定的位置移动空间,而不会使分切好的pe泡棉卷造成位置散乱,通过第二电机带动螺纹杆转动,可实现螺纹滑块的位置移动,从而可调整分切装置的分切位置,通过第二电动推杆和电动转台的配合,可方便装置安装pe泡棉卷。
当然,实施本实用新型的任一产品并不一定需要同时达到以上所述的所有优点。
附图说明
为了更清楚地说明本实用新型实施例的技术方案,下面将对实施例描述所需要使用的附图作简单地介绍,显而易见地,下面描述中的附图仅仅是本实用新型的一些实施例,对于本领域普通技术人员来讲,在不付出创造性劳动的前提下,还可以根据这些附图获得其他的附图。
图1为本实用新型结构示意图;
图2为本实用新型支撑滚动装置结构示意图;
图3为本实用新型活动限位盘结构示意图;
图4为本实用新型顶板结构示意图;
图5为本实用新型分切装置结构示意图。
附图中,各标号所代表的部件如下:
1-底板,2-支撑脚,3-电动推杆安装座,4-第一电动推杆,5-支撑滚动装置,51-支撑架,52-支撑滚轴,53-橡胶轮,6-滑块,7-第二电动推杆,8-电动转台,9-第一支撑柱,10-第二支撑柱,11-转轴,12-第一电机,13-皮带轮,14-皮带,15-抵接盘,16-活动限位盘,161-通孔套件,162-通孔盘,163-弹簧,164-把柄螺栓,17-第三支撑柱,18-顶板,181-顶板主体,182-顶滑槽,19-轴承座,20-螺纹杆,21-第二电机,22-螺纹滑块,23-第三电动推杆,24-分切装置,241-电机固定架,242-第三电机,243-分切刀。
具体实施方式
下面将结合本实用新型实施例中的附图,对本实用新型实施例中的技术方案进行清楚、完整地描述,显然,所描述的实施例仅仅是本实用新型一部分实施例,而不是全部的实施例。基于本实用新型中的实施例,本领域普通技术人员在没有作出创造性劳动前提下所获得的所有其它实施例,都属于本实用新型保护的范围。
请参阅图1-5,本实用新型提供一种pe泡棉生产用分切装置技术方案:一种pe泡棉生产用分切装置,包括底板1,底板1的底部四角均安装有支撑脚2,底板1的底部中央固接有电动推杆安装座3,电动推杆安装座3上固定安装有贯穿底板1的第一电动推杆4,第一电动推杆4的顶部固接有支撑滚动装置5,底板1的顶部右侧滑动连接有滑块6,滑块6的左侧固接有安装在底板1上的第二电动推杆7,滑块6的顶部固定安装有电动转台8,电动转台8的顶部左侧固接有第一支撑柱9,底板1的顶部右侧固接有第二支撑柱10,第二支撑柱10和第一支撑柱9之间贯穿转动连接有转轴11,底板1的顶部左侧固定安装有位于第二支撑柱10左侧的第一电机12,第一电机12的右侧输出端和转轴11的左端均套接有皮带轮13,两组皮带轮13之间套接有皮带14,转轴11的左侧固接有抵接盘15,转轴11的右侧固接有活动限位盘16,活动限位盘16和抵接盘15之间设置有套接在转轴11上的pe泡棉卷,底板1的顶部右后侧固接有第三支撑柱17,第三支撑柱17和第二支撑柱10的顶部固接有顶板18,顶板18的顶部左右对称安装有轴承座19,两组轴承座19之间转动连接有螺纹杆20,顶板18的顶部右侧固定安装有第二电机21,第二电机21的输出端与螺纹杆20通过联轴器连接,螺纹杆20上螺接有贯穿顶板18的螺纹滑块22,螺纹滑块22的底部固定安装有第三电动推杆23,第三电动推杆23的底部固接有分切装置24,第一电动推杆4、第二电动推杆7、电动转台8、第一电机12和第二电机21均通过控制开关与外接电源电性连接。
优选的,支撑滚动装置5包括支撑架51,支撑架51顶部左右对称转动连接有支撑滚轴52,支撑滚轴52上套接有橡胶轮53,通过橡胶轮53对pe泡棉卷进行支撑,有利于提高分切的稳定性,从而提高分切的质量。
优选的,活动限位盘16包括通孔套件161,通孔套件161的左方设置有通孔盘162,通孔盘162与通孔套件161之间均匀固接有弹簧163,通孔套件161的圆周外壁均匀螺接有与转轴11抵接的把柄螺栓164,通过将把柄螺栓164,可实现对活动限位盘16进行定位,通过弹簧163,可使通孔盘162有一定的位置移动空间,而不会使分切好的pe泡棉卷造成位置散乱。
优选的,顶板18包括顶板主体181,顶板主体181的前表面中部开设有顶滑槽182,顶滑槽182与螺纹滑块22滑动配合,有利于螺纹滑块22的限位滑动。
优选的,分切装置24包括电机固定架241,电机固定架241底部安装有第三电机242,第三电机242的左侧输出端套接有分切刀243,第三电机242通过控制开关与外接电源电性连接,通过控制开关控制第三电机242启动,可带动分切刀243转动,对pe泡棉卷进行分切。
本实施例的一个具体应用为:本实用新型为一种pe泡棉生产用分切装置,适用于pe泡棉卷的分切工作,使用时,将pe泡棉卷套入转轴11,然后将16套入转轴11,使其左侧与pe泡棉卷的右端抵接后固定,接着,通过控制开关控制第一电动推杆4的伸缩端上升,使得支撑滚动装置5与pe泡棉卷抵接支撑,接着,通过控制开关控制电动转台8旋转,使得其上的第一支撑柱9旋转至正左端,再控制第二电动推杆7的伸缩端收缩,使得第一支撑柱9套入转轴11的右端,转轴11的右端从而得到转动支撑,接着,通过控制开关控制第一电机12转动,可通过皮带14的传动带动转轴11转动,从而带动其上的pe泡棉卷转动,接着,通过控制开关控制第二电机21转动,可带动与其通过联轴器连接的螺纹杆20转动,从而带动螺纹滑块22左右移动,工作人员可根据分割的位置控制螺纹滑块22移动,从而确定分切装置24的位置,分切装置24的位置确定好后,可通过控制开关控制第三电机242转动,可带动分切刀243转动,接着,可通过控制开光控制第三电动推杆23的伸缩端下降,使得分切刀243对pe泡棉卷进行切割。工作人员重复调整分切装置24的位置进行切割,即可实现对pe泡棉卷的分割。
在本说明书的描述中,参考术语“一个实施例”、“示例”、“具体示例”等的描述意指结合该实施例或示例描述的具体特征、结构、材料或者特点包含于本实用新型的至少一个实施例或示例中。在本说明书中,对上述术语的示意性表述不一定指的是相同的实施例或示例。而且,描述的具体特征、结构、材料或者特点可以在任何的一个或多个实施例或示例中以合适的方式结合。
以上公开的本实用新型优选实施例只是用于帮助阐述本实用新型。优选实施例并没有详尽叙述所有的细节,也不限制该实用新型仅为所述的具体实施方式。显然,根据本说明书的内容,可作很多的修改和变化。本说明书选取并具体描述这些实施例,是为了更好地解释本实用新型的原理和实际应用,从而使所属技术领域技术人员能很好地理解和利用本实用新型。本实用新型仅受权利要求书及其全部范围和等效物的限制。
技术特征:
1.一种pe泡棉生产用分切装置,包括底板(1),其特征在于:所述底板(1)的底部四角均安装有支撑脚(2),所述底板(1)的底部中央固接有电动推杆安装座(3),所述电动推杆安装座(3)上固定安装有贯穿底板(1)的第一电动推杆(4),所述第一电动推杆(4)的顶部固接有支撑滚动装置(5),所述底板(1)的顶部右侧滑动连接有滑块(6),所述滑块(6)的左侧固接有安装在底板(1)上的第二电动推杆(7),所述滑块(6)的顶部固定安装有电动转台(8),所述电动转台(8)的顶部左侧固接有第一支撑柱(9),所述底板(1)的顶部右侧固接有第二支撑柱(10),所述第二支撑柱(10)和第一支撑柱(9)之间贯穿转动连接有转轴(11),所述底板(1)的顶部左侧固定安装有位于第二支撑柱(10)左侧的第一电机(12),所述第一电机(12)的右侧输出端和转轴(11)的左端均套接有皮带轮(13),两组所述皮带轮(13)之间套接有皮带(14),所述转轴(11)的左侧固接有抵接盘(15),所述转轴(11)的右侧固接有活动限位盘(16),所述活动限位盘(16)和抵接盘(15)之间设置有套接在转轴(11)上的pe泡棉卷,所述底板(1)的顶部右后侧固接有第三支撑柱(17),所述第三支撑柱(17)和第二支撑柱(10)的顶部固接有顶板(18),所述顶板(18)的顶部左右对称安装有轴承座(19),两组所述轴承座(19)之间转动连接有螺纹杆(20),所述顶板(18)的顶部右侧固定安装有第二电机(21),所述第二电机(21)的输出端与螺纹杆(20)通过联轴器连接,所述螺纹杆(20)上螺接有贯穿顶板(18)的螺纹滑块(22),所述螺纹滑块(22)的底部固定安装有第三电动推杆(23),所述第三电动推杆(23)的底部固接有分切装置(24),所述第一电动推杆(4)、第二电动推杆(7)、电动转台(8)、第一电机(12)和第二电机(21)均通过控制开关与外接电源电性连接。
2.根据权利要求1所述的一种pe泡棉生产用分切装置,其特征在于:所述支撑滚动装置(5)包括支撑架(51),所述支撑架(51)顶部左右对称转动连接有支撑滚轴(52),所述支撑滚轴(52)上套接有橡胶轮(53)。
3.根据权利要求1所述的一种pe泡棉生产用分切装置,其特征在于:所述活动限位盘(16)包括通孔套件(161),所述通孔套件(161)的左方设置有通孔盘(162),所述通孔盘(162)与通孔套件(161)之间均匀固接有弹簧(163),所述通孔套件(161)的圆周外壁均匀螺接有与转轴(11)抵接的把柄螺栓(164)。
4.根据权利要求1所述的一种pe泡棉生产用分切装置,其特征在于:所述顶板(18)包括顶板主体(181),所述顶板主体(181)的前表面中部开设有顶滑槽(182),所述顶滑槽(182)与螺纹滑块(22)滑动配合。
5.根据权利要求1所述的一种pe泡棉生产用分切装置,其特征在于:所述分切装置(24)包括电机固定架(241),所述电机固定架(241)底部安装有第三电机(242),所述第三电机(242)的左侧输出端套接有分切刀(243),所述第三电机(242)通过控制开关与外接电源电性连接。
技术总结
本实用新型公开了PE泡棉技术领域的一种PE泡棉生产用分切装置,包括底板,所述底板的底部四角均安装有支撑脚,所述底板的底部中央固接有电动推杆安装座,所述电动推杆安装座上固定安装有贯穿底板的第一电动推杆,所述第一电动推杆的顶部固接有支撑滚动装置,所述底板的顶部右侧滑动连接有滑块,所述滑块的左侧固接有安装在底板上的第二电动推杆,所述滑块的顶部固定安装有电动转台,本实用新型适用于PE泡棉卷的分切工作,通过支撑滚动装置,可对PE泡棉卷进行支撑,有利于提高分切的稳定性,从而提高分切的质量,通过抵接盘和活动限位盘,可使PE泡棉卷有一定的位置移动空间,而不会使分切好的PE泡棉卷造成位置散乱。
技术研发人员:张林;林志海;张瑞婷
受保护的技术使用者:泉州市泓海新材料科技有限公司
技术研发日:2019.06.19
技术公布日:2020.04.10