本实用新型涉及一种污点检测分切复卷机,特别是一种用于无纺布的全自动污点检测分切复卷机。
背景技术:
无纺布是一种非织造布,它是直接利用高聚物切片、短纤维或长丝将纤维通过气流或机械成网,然后经过水刺,针刺,或热轧加固,最后经过后整理形成的无编织的布料。
无纺布在编织成形的过程中先需要进行污点检测,检测到污点后,十字定位坐标,等一卷无纺布制备完成后,再人工放料找到污点进行处理,因此工作量大,费时费力。
分切机是将宽幅大卷无纺布分切成宽幅窄小卷材料的机械设备。 现有的分切机只是对无纺布卷材进行分切,而不会对卷材本身进行检测, 对于卷材中包含的污点等瑕疵无从识别,分切收卷后的卷材中很容易会存在一些次品。
专利号为:201320501444.4,名称为一种具有质量检测警示功能的分切机的实用新型专利,公开了使用摄像头对卷材品质进行实时检测,但是其只有检测,并且检测精度低,同时不能做到定点停机,方便人工处理。
技术实现要素:
本实用新型所要解决的技术问题是针对现有技术的不足,提供一种将分切工序和污点检测工序结合,并且检测自动定点停机的全自动污点检测分切复卷机。
本实用新型所要解决的技术问题是通过以下的技术方案来实现的,本实用新型是一种全自动污点检测分切复卷机,其特点是:沿着物料的输送方向依次设有放卷机构、检测分切收卷机构和接料机构;
所述检测分切收卷机构由检测机构和分切收卷机构构成,检测机构和分切收卷机构均分别设有机罩,两个机罩上部连通构成物料输送通道,在物料输送通道下方、两个机罩之间构成操作部;
沿着物料的输送方向所述检测机构设有污点检测部和污点处理部,污点检测部包括设在检测机构机罩内底部使物料水平输送的两个输送辊,在两个输送辊之间的物料下方设有检测光源,在与检测光源对应的检测机构机罩内的顶部设有数个工业相机,检测光源与工业相机之间的距离为1m-2m;所述污点处理部包括设在检测机构机罩内上侧部使物料竖向倾斜设置的两个输送辊,物料倾斜角度为90°-45°,90°时物料是垂直运动的,在检测机构机罩上设有与污点处理部处物料正对的处理窗口;
它还设有控制机构,控制机构设有PLC控制器和工业控制计算机,所述数个工业相机通过数据线与PLC控制器输入端相连,PLC控制器输出端通过线路分别与放卷机构、分切收卷机构相连;
所述污点检测部至污点处理部之间物料运行总长度为L,物料运行速度为150m/min-200 m/min,当工业相机检测到污点后,保持原有速度物料运行长度L1,其中L1<L,物料运行长度达到L1后,开始以匀减速方式减速,使得分切收卷机构收卷轴在L-L1的距离内,刚好将分切收卷机构的收卷电机速度降速至停止,使污点刚好停在污点处理部。
分切收卷机构为现有技术中任何一种适用于本实用新型的分切收卷机构。
本实用新型所要解决的技术问题还可以通过以下的技术方案来进一步实现,在污点处理部处的物料背面设有照明光源。
本实用新型所要解决的技术问题还可以通过以下的技术方案来进一步实现,所述工业相机为高速CCD线阵扫描相机,其设有1-10个,沿检测机构机罩宽度方向均匀分布。
本实用新型所要解决的技术问题还可以通过以下的技术方案来进一步实现,所述高速CCD线阵扫描相机对物料进行逐行扫描,通过数据处理生成实时的动态检测图像,检测最小的污点或缺陷的直径可达0.05-0.1毫米。
本实用新型所要解决的技术问题还可以通过以下的技术方案来进一步实现,所述检测光源为亮度可调的LED冷光源。
本实用新型所要解决的技术问题还可以通过以下的技术方案来进一步实现,所述处理窗口的下边沿上铰接有操作台,操作台设在机罩外侧,操作台的背面设有支撑操作台的支撑腿。
本实用新型所要解决的技术问题还可以通过以下的技术方案来进一步实现,所述PLC控制器输出端通过信号线连接有报警器。
本实用新型所要解决的技术问题还可以通过以下的技术方案来进一步实现,在检测机构机罩和分切收卷机构机罩之间的操作部的底部设有与机罩铰接的踏板。
本实用新型所要解决的技术问题还可以通过以下的技术方案来进一步实现,在污点检测部的前方、污点检测部和污点处理部之间或者污点检测部后方均设有数个导辊。
本实用新型所要解决的技术问题还可以通过以下的技术方案来进一步实现,所述放卷机构包括放料架,放料架上设有两个并排、同向旋转设置的放卷辊,在放料架的上部设有纠偏辊,纠偏辊上设有纠偏装置,在放料架的上方设有上料架,上料架上装有电动葫芦。
本实用新型的检测分切收卷机构由检测机构和分切收卷机构构成,在检测机构和分切收卷机构之间设有操作部,人员进行污点处理时可以直接在此处进行;而检测机构中设有污点检测部和污点处理部,污点检测部处的工业相机对物料进行逐行扫描,通过数据处理生成实时的动态检测图像,同时将检测到的信号输送给PLC控制器,PLC控制器控制放卷机构、分切收卷机构的伺服电机,使放卷物料运行速度降速至停止,同时使污点正好停止在污点处理部的处理窗口处,方便人工进行处理。
与现有技术相比,其结构合理,将所有工序有机合理的结合在一起,走布平稳,通过工业相机精准的检测到卷材上的污点,同时使其定点停在指定位置,方便进行污点处理,并分切后收成合格的成品卷。
附图说明
图1为本实用新型的一种主视结构示意图。
具体实施方式
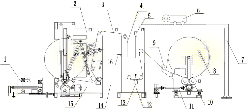
参照附图1,一种全自动污点检测分切复卷机,沿着物料的输送方向依次设有放卷机构11、检测分切收卷机构2和接料机构1;放卷机构11包括放料架,放料架上设有两个并排、同向旋转设置的放卷辊10,两个放卷辊10通过齿轮传动机构与放卷驱动电机相连,在放料架的上部设有纠偏辊9,纠偏辊9上设有使用光电感应的纠偏装置。在放料架的上方设有上料架7,上料架7上装有电动葫芦6,通过电动葫芦6上料可以提高工人的上料效率,并且装卷材稳定安全。接料机构1为现有技术中常规的接料机构。
所述检测分切收卷机构2由检测机构12和分切收卷机构15构成,检测机构12和分切收卷机构15均安装在底座上,分切收卷机构15为现有技术中常用的任何一种适用于本申请的分切收卷机构15,分切收卷机构15设有收卷驱动电机。检测机构12和分切收卷机构15均分别设有机罩,两个机罩上部连通构成物料输送通道3,在物料输送通道3下方、两个机罩之间构成人员进行操作的操作部14,操作部14的高度为2.2m,宽度为80cm。在操作部14的底部设有与机罩铰接的踏板,踏板的一侧与分切收卷机构15的机罩铰接,而另一侧的检测机构12的机罩上设有与踏板配合支撑的支撑板,需要使用时,将踏板放下,正好担在支撑板上,提高人的高度,使其能对着处理窗口操作,方便操作,不用时可以将踏板翻起。
沿着物料的输送方向所述检测机构12设有污点检测部和污点处理部4,在污点检测部的前方、污点检测部后方均设有导辊,用于输送物料,同时使物料行走有一定的行程,便于控制卷材8定点停机。
污点检测部包括设在检测机构12机罩内底部使物料水平输送的两个输送辊,在两个输送辊之间的物料下方设有检测光源13,检测光源13为亮度可调的LED冷光源。在与检测光源13对应的检测机构12机罩内的顶部设有两个工业相机5,检测光源13与工业相机5之间的距离为1.2m。所述工业相机5为高速CCD线阵扫描相机,沿检测机构12机罩宽度方向均匀分布。所述高速CCD线阵扫描相机对物料进行逐行扫描,扫描显示污点或瑕疵的图片和纵横坐标位置等数据,通过数据处理生成实时的动态检测图像,检测最小的污点或缺陷的直径可达0.05mm-0.1mm。
所述污点处理部4包括设在检测机构12机罩内上侧部使物料竖向倾斜设置的两个输送辊,物料倾斜角度为90°,即物料上下垂直输送,在检测机构12机罩上设有与污点处理部4处物料正对的处理窗口;在污点处理部4处的物料背面设有照明光源,照明光源提供一个清晰的检测背景,方便操作人员处理污点。所述处理窗口的下边沿上铰接有操作台16,操作台16设在机罩外侧,操作台16的背面设有支撑操作台的支撑腿。使用时,通过支撑腿将操作台撑起,这样操作人员可以在上面放一些小工具,操作台16的长度都与机子宽度相等,操作台16的宽度为20cm。
本装置还设有控制机构,控制机构设有PLC控制器和工业控制计算机,所述数个工业相机5通过数据线与PLC控制器输入端相连,PLC控制器输出端通过线路分别与放卷机构11的放卷驱动电机、分切收卷机构15的收卷驱动电机和报警器相连。
所述污点检测部至污点处理部4之间物料运行总长度为L,卷材8运行速度为200 m/min,当工业相机5检测到污点后,保持原有速度物料运行长度L1,其中L1<L,物料运行长度达到L1后,开始以匀减速方式减速,使得分切收卷机构15收卷轴在L-L1的距离内,刚好将分切收卷机构15的收卷电机速度降速至停止,使污点刚好停在污点处理部4。检测到污点后,分切收卷机构15的收卷线速度为V1,放卷机构11的放卷线速度为V2,V2=NV1,通过减速比等变换可得出F2=MF1,其中F2为放卷驱动电机频率,F1为收卷驱动电机频率。
使用时,无纺布卷材物料8放置在放卷机构11的放卷辊10上,同时将无纺布物料穿过纠偏辊9进入到检测机构12中,通过导辊,进入污点检测部,无纺布物料运行速度为200 m/min,高速CCD线阵扫描相机对卷材生产环境中沾染的污点和表面缺陷进行逐行扫描,通过数据处理生成实时的动态检测图像,检测最小的污点或缺陷的直径可达0.1毫米。动态检测图像同时显示在工业控制计算机中,通过污点或瑕疵的在线控制可反映污点或瑕疵类型信息和位置信息,当检测到污点后,工业相机5将数据输入到PLC控制器,控制卷材的速度,使其正好停机在污点处理部4处,并正对处理窗口,操作人员对污点进行处理。
在经过前面的放卷和污点瑕疵的检测工序后,分卷收卷机构将该卷材分切成所要求宽度的卷材,然后进行收卷。该卷材的米数可任意设置并自动停机。经过分切后的卷材,采用双辊表面收卷,提高收卷的稳定性,收卷气涨轴(凸健式或板条式)的两端轴头采用同步齿条升降控制及气动恒压控制,使得最后收卷好的卷材端面光滑平整,松紧度均匀,并可以通过放卷速度除以收卷速度得到的速比值来任意控制卷材的松紧度。

技术特征:
1.一种全自动污点检测分切复卷机,其特征在于:沿着物料的输送方向依次设有放卷机构、检测分切收卷机构和接料机构;
所述检测分切收卷机构由检测机构和分切收卷机构构成,检测机构和分切收卷机构均分别设有机罩,两个机罩上部连通构成物料输送通道,在物料输送通道下方、两个机罩之间构成操作部;
沿着物料的输送方向所述检测机构设有污点检测部和污点处理部,污点检测部包括设在检测机构机罩内底部使物料水平输送的两个输送辊,在两个输送辊之间的物料下方设有检测光源,在与检测光源对应的检测机构机罩内的顶部设有数个工业相机,检测光源与工业相机之间的距离为1m-2m;所述污点处理部包括设在检测机构机罩内上侧部使物料竖向倾斜设置的两个输送辊,物料倾斜角度为90°-45°,在检测机构机罩上设有与污点处理部处物料正对的处理窗口;
它还设有控制机构,控制机构设有PLC控制器和工业控制计算机,所述数个工业相机通过数据线与PLC控制器输入端相连,PLC控制器输出端通过线路分别与放卷机构、分切收卷机构相连。
2.根据权利要求1所述的全自动污点检测分切复卷机,其特征在于:在污点处理部处的物料背面设有照明光源。
3.根据权利要求1所述的全自动污点检测分切复卷机,其特征在于:所述工业相机为高速CCD线阵扫描相机,其设有1-10个,沿检测机构机罩宽度方向均匀分布。
4.根据权利要求3所述的全自动污点检测分切复卷机,其特征在于:所述高速CCD线阵扫描相机对物料进行逐行扫描,通过数据处理生成实时的动态检测图像,检测最小的污点或缺陷的直径可达0.05mm-0.1mm。
5.根据权利要求1所述的全自动污点检测分切复卷机,其特征在于:所述检测光源为亮度可调的LED冷光源。
6.根据权利要求1所述的全自动污点检测分切复卷机,其特征在于:所述处理窗口的下边沿上铰接有操作台,操作台设在机罩外侧,操作台的背面设有支撑操作台的支撑腿。
7.根据权利要求1所述的全自动污点检测分切复卷机,其特征在于:所述PLC控制器输出端通过信号线连接有报警器。
8.根据权利要求1所述的全自动污点检测分切复卷机,其特征在于:在检测机构机罩和分切收卷机构机罩之间的操作部的底部设有与机罩铰接的踏板。
9.根据权利要求1所述的全自动污点检测分切复卷机,其特征在于:在污点检测部的前方、污点检测部和污点处理部之间或者污点检测部后方均设有数个导辊。
10.根据权利要求1所述的全自动污点检测分切复卷机,其特征在于:所述放卷机构包括放料架,放料架上设有两个并排、同向旋转设置的放卷辊,在放料架的上部设有纠偏辊,纠偏辊上设有纠偏装置,在放料架的上方设有上料架,上料架上装有电动葫芦。
技术总结
本实用新型是一种全自动污点检测分切复卷机,沿着物料的输送方向依次设有放卷机构、检测分切收卷机构和接料机构;检测分切收卷机构由检测机构和分切收卷机构构成,检测机构设有污点检测部和污点处理部,沿着物料的输送方向污点检测部包括设在检测机构机罩内底部使物料水平输送的两个输送辊,在两个输送辊之间的物料下方设有检测光源,在与检测光源对应的检测机构机罩内的顶部设有数个工业相机,污点处理部包括设在检测机构机罩内上侧部使物料竖向倾斜设置的两个输送辊,与污点处理部处物料正对的机罩上设有处理窗口。其结构合理,通过工业相机精准的检测到卷材上的污点,同时使其定点停在指定位置,方便进行污点处理,并分切后收成合格的成品卷。
技术研发人员:唐雷
受保护的技术使用者:连云港三叶无纺布制品有限公司
文档号码:201721184274
技术研发日:2017.09.15
技术公布日:2018.04.03