
本实用新型涉及带吹边收集的分切机。
背景技术:
分切机是包装行业常用器械,用于将纸板或者复合膜切成合适的宽度尺寸,在分切机切除的时候会产生边料,现有的分切机也有使用吹边收集装置,但是普遍比较简单,基本上是在切刀下方设置吸风管道,其收集边料的效果差,边料经常还是会飘到机器旁边的地面,并且对吸风管道的风机功率要求较大,也会产生很大的噪音污染。
技术实现要素:
本实用新型的目的在于提供带吹边收集的分切机,能够有效解决现有分切机的边料收集效率低的问题。
为了解决上述技术问题,本实用新型是通过以下技术方案实现的:带吹边收集的分切机,包括机架和设置在机架上的切刀机构和边料收集机构,所述切刀机构包括两排分别用于切除原料两侧边料的切刀本体,所述边料收集机构包括上吹风机构、下收集机构和阻挡罩;
所述上吹风机构包括上吹风管,所述上吹风管设有两个吹风嘴,两个所述吹风嘴分别位于两个所述切刀本体的外侧;
所述下收集机构包括收集槽、收集管和收集桶,所述收集槽有两个,分别位于切刀本体的正下方,所述收集槽的底端与收集管相连,所述收集管还与收集桶相连,所述收集桶与抽风机相连,所述阻挡罩的底部与收集槽相连,所述阻挡罩的顶部高于待切物料的水平高度。
优选的,所述阻挡罩包括第一阻挡板和第二阻挡板,所述第一阻挡板的底部与第二阻挡板的顶部连接,所述第一阻挡板的顶部向切刀本体方向倾斜,所述第二阻挡板的底部与收集槽相连,所述阻挡罩上与吹风嘴对应的位置开有吹风口,通过第一阻挡板,可以防止边料或者细尘向上飞起,在顶部做一定的阻挡。
优选的,所述收集槽为上大下小的倒棱台形,便于风力的集中和边料的下落。
优选的,所述收集管位于机架的底部,避免收集管影响到分切机其他装置的设置。
优选的,所述收集桶底部的中心开有抽风口,抽风机与抽风口相连,所述收集桶内设有圆柱形的过滤网,所述过滤网罩在抽风口上,将过滤网设置在收集桶的中部,可以尽量扩大过滤网的面积,提高收集效率。
优选的,所述抽风口旁的收集桶的底部设有卡槽,所述卡槽的侧壁上设有若干凸点,所述过滤网的底部设有卡圈,所述卡圈卡入卡槽内,所述凸点与卡槽底部的间距大于卡圈的厚度,通过卡槽和卡圈的配合,可以方便的拆装过滤网,也便于定期更换过滤网而无需使用工具。
与现有技术相比,本实用新型的优点是:通过设置上吹风管,给切除的边料施加向下的力,加速边料的下降,减少其飘动的时间,并且增加阻挡罩,防止边料随意飘散,同时能让上吹风机构和下收集机构的风力更加集中,提高风力利用效率,而下收集机构通过收集桶,可以将切下的边料集中到一起,方便后续清理,大大提升了边料收集机构的收集效率。
附图说明
图1为本实用新型带吹边收集的分切机的结构示意图;
图2为本实用新型中收集桶的结构示意图;
图3为本实用新型中上吹风机构、阻挡罩和收集槽连接结构示意图。
具体实施方式
下面详细描述本实用新型的实施例,所述实施例的示例在附图中示出。下面通过参考附图描述的实施例是示例性的,旨在用于解释本实用新型,而不能理解为对本实用新型的限制。
在本实用新型的描述中,需要理解的是,术语“中心”、“纵向”、“横向”、“长度”、“宽度”、“厚度”、“上”、“下”、“前”、“后”、“左”、“右”、“竖直”、“水平”、“顶”、“底”“内”、“外”等指示的方位或位置关系为基于附图所示的方位或位置关系,仅是为了便于描述本实用新型和简化描述,而不是指示或暗示所指的装置或元件必须具有特定的方位、以特定的方位构造和操作,因此不能理解为对本实用新型的限制。
在本实用新型中,除非另有明确的规定和限定,术语“安装”、“相连”、“连接”、“固定”等术语应做广义理解,例如,可以是固定连接,也可以是可拆卸连接,或成一体;可以是机械连接,也可以是电连接或彼此可通讯;可以是直接相连,也可以通过中间媒介间接相连,可以是两个元件内部的连通或两个元件的相互作用关系,除非另有明确的限定。对于本领域的普通技术人员而言,可以根据具体情况理解上述术语在本实用新型中的具体含义。
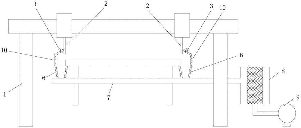
参阅图1、图2、图3为本实用新型带吹边收集的分切机的实施例,带吹边收集的分切机,包括机架1和设置在机架1上的切刀机构和边料收集机构,所述切刀机构包括两排分别用于切除原料两侧边料的切刀本体2,所述边料收集机构包括上吹风机构3、下收集机构和阻挡罩10;
所述上吹风机构3包括上吹风管4,所述上吹风管4设有两个吹风嘴5,两个所述吹风嘴5分别位于两个所述切刀本体2的外侧;
所述下收集机构包括收集槽6、收集管7和收集桶8,所述收集槽6有两个,分别位于切刀本体2的正下方,所述收集槽6的底端与收集管7相连,所述收集管7还与收集桶8相连,所述收集桶8与抽风机9相连,所述阻挡罩10的底部与收集槽6相连,所述阻挡罩10的顶部高于待切物料的水平高度。
通过设置上吹风管4,给切除的边料施加向下的力,加速边料的下降,减少其飘动的时间,并且增加阻挡罩10,防止边料随意飘散,同时能让上吹风机构3和下收集机构的风力更加集中,提高风力利用效率,而下收集机构通过收集桶8,可以将切下的边料集中到一起,方便后续清理。
具体的,阻挡罩10包括第一阻挡板11和第二阻挡板12,第一阻挡板11的底部和第二阻挡板12的顶部固定连接,第一阻挡板11和第二阻挡板12可以一体式制造,通过冲压成型,也可以是通过焊接方式固定连接,但是最好保证第一阻挡板11和第二阻挡板12连接处有足够的密封性,为了减少边料逃离的可能性,第一阻挡板11的顶部向切刀本体2方向倾斜,尽量贴近切刀本体2,这样在切下边料时,防止从顶部飞离,而第二阻挡板12的底部与收集槽6远离切刀本体2的外侧壁顶部固定连接,当然,该连接最好也保持一定的密封性,阻挡罩10上与吹风嘴5对应的位置开有吹风口17,一般吹风口17开在第一阻挡板11上,而收集槽6靠近切刀本体2的外侧壁最好位于切刀本体2的正下方,可以紧贴着工作台的下边沿,减少边料可能逃离的缝隙。
而收集槽6最好为上大下小的倒棱台形,使落入收集槽6的边料不会在收集槽6内囤积。收集管7一般位于机架1的底部,充分利用机架1底部的空间,避免收集管7对现有分切机的其他部分造成干涉。
收集桶8一般在侧壁上开有进风口18,进风口与收集管7相连,在收集桶8底部的中心开有抽风口13,抽风口13和抽风机9相连,收集桶8内设置圆柱形的过滤网14,尽量扩大过滤网14的面积,可以多收集边料,同时防止边料堵塞过滤网14,这样就可以将吸入的边料通过过滤网14隔离开,防止其进入抽风机9,而所有的边料都将被收集在收集桶8内。
过滤网14可以定期更换,在过滤网14的底部设置卡圈16,而收集桶8内的底部设置卡槽15,直接将卡圈16卡入卡槽15中,实现过滤网14和收集桶8的固定连接,卡圈16一方面可以方便卡入卡槽15中,另一方面也可以对过滤网14的网体进行定型。进一步为了让过滤网14能更加牢固的固定在卡槽15内,可以在卡槽15的内侧壁设置若干的凸点,通过凸点减小卡圈16和卡槽15侧壁之间的间隙,从而在卡圈16卡入卡槽15后形成过盈配合。
边料收集机构可以安装在现有的分切机了,对现有分切机进行改装,而不太需要更改现有分切机的其他部件结构,在切刀本体2切下物料的边料后吹风嘴5开始向收集槽6内吹风,将边料向下吹,同时抽风机9开始抽风,使收集槽6内形成负压,将边料通过收集槽6收集后经过收集管7进入到收集桶8内,边料被收集桶8内的过滤网14拦截,留在收集桶8内,当收集桶8收集满后,工作人员可以方便的对边料进行处理。
以上所述仅为本实用新型的具体实施例,但本实用新型的技术特征并不局限于此,任何本领域的技术人员在本实用新型的领域内,所作的变化或修饰皆涵盖在本实用新型的专利范围之中。
技术特征:
1.带吹边收集的分切机,包括机架(1)和设置在机架(1)上的切刀机构和边料收集机构,所述切刀机构包括两排分别用于切除原料两侧边料的切刀本体(2),其特征在于:所述边料收集机构包括上吹风机构(3)、下收集机构和阻挡罩(10);
所述上吹风机构(3)包括上吹风管(4),所述上吹风管(4)设有两个吹风嘴(5),两个所述吹风嘴(5)分别位于两个所述切刀本体(2)的外侧;
所述下收集机构包括收集槽(6)、收集管(7)和收集桶(8),所述收集槽(6)有两个,分别位于切刀本体(2)的正下方,所述收集槽(6)的底端与收集管(7)相连,所述收集管(7)还与收集桶(8)相连,所述收集桶(8)与抽风机(9)相连,所述阻挡罩(10)的底部与收集槽(6)相连,所述阻挡罩(10)的顶部高于待切物料的水平高度。
2.如权利要求1所述的带吹边收集的分切机,其特征在于:所述阻挡罩(10)包括第一阻挡板(11)和第二阻挡板(12),所述第一阻挡板(11)的底部与第二阻挡板(12)的顶部连接,所述第一阻挡板(11)的顶部向切刀本体(2)方向倾斜,所述第二阻挡板(12)的底部与收集槽(6)相连,所述阻挡罩(10)上与吹风嘴(5)对应的位置开有吹风口(17)。
3.如权利要求1所述的带吹边收集的分切机,其特征在于:所述收集槽(6)为上大下小的倒棱台形。
4.如权利要求1所述的带吹边收集的分切机,其特征在于:所述收集管(7)位于机架(1)的底部。
5.如权利要求1所述的带吹边收集的分切机,其特征在于:所述收集桶(8)底部的中心开有抽风口(13),抽风机(9)与抽风口(13)相连,所述收集桶(8)内设有圆柱形的过滤网(14),所述过滤网(14)罩在抽风口(13)上。
6.如权利要求5所述的带吹边收集的分切机,其特征在于:所述抽风口(13)旁的收集桶(8)的底部设有卡槽(15),所述卡槽(15)的侧壁上设有若干凸点,所述过滤网(14)的底部设有卡圈(16),所述卡圈(16)卡入卡槽(15)内,所述凸点与卡槽(15)底部的间距大于卡圈(16)的厚度。
技术总结
本实用新型公开了带吹边收集的分切机,包括机架、切刀本体和边料收集机构,边料收集机构包括上吹风机构、下收集机构和阻挡罩;上吹风机构包括上吹风管,上吹风管设有两个吹风嘴,两个吹风嘴分别位于两个切刀本体的外侧;下收集机构包括收集槽、收集管和收集桶,收集槽有两个,分别位于切刀本体的正下方,收集槽的底端与收集管相连,收集管还与收集桶相连,收集桶与抽风机相连,阻挡罩的底部与收集槽相连,阻挡罩的顶部高于待切物料的水平高度。优点是:给切除的边料施加向下的力,加速边料的下降,减少其飘动的时间,防止边料随意飘散,风力更加集中,提高风力利用效率,而下收集机构通过收集桶,可以将切下的边料集中到一起,方便后续清理。
技术研发人员:宋云青;胡金动;高福源;周文龙;李志伟;胡明红;方国栋;沈有良;肖祥宇;左汉才
受保护的技术使用者:浙江亚欣包装材料有限公司
技术研发日:2020.11.04
技术公布日:2021.07.23