
本技术涉及铝箔纸分切领域,特别涉及一种铝箔纸分切机松紧调节机构。
背景技术:
1、分切机按照材料来分有:薄膜分切机,纸张分切机,布料分切机,皮革分切机,铜铝箔分切机等。铝箔分切机是材料分切机中的其中之一,通常最适合薄纸、铜箔、铝箔、pvdc、透气膜的分切。
2、目前,铝箔纸分切机在使用过程中,分切到后端不设置松紧调节机构,铝箔纸输送时,铝箔纸过松容易造成铝箔纸下垂和刀片接触出现刀片无法切断铝箔纸,导致刀片直接拉扯撕裂铝箔纸的情况,过紧又会造成铝箔纸分切后出现收卷褶皱的情况。
3、现有的,为了解决上述所存在的问题,我们提出一种铝箔纸分切机松紧调节机构。
技术实现思路
1、本实用新型的目的是提供一种铝箔纸分切机松紧调节机构,其优点是能够调节铝箔纸输送时的松紧度。
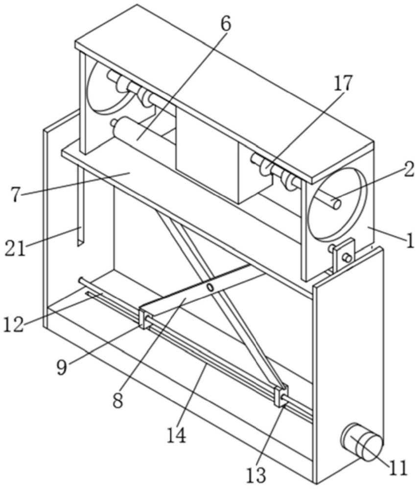
2、本实用新型的上述技术目的是通过以下技术方案得以实现的:一种铝箔纸分切机松紧调节机构,包括固定架,所述固定架的内部设有收集杆,所述收集杆的表面固定套接有齿轮一,所述齿轮一的表面啮合有齿轮二,所述固定架的内部设有收集电机,所述收集电机输出端的表面与齿轮二的内部固定套接;所述固定架的内部套设有调节辊,所述调节辊的底部设有活动板,所述活动板的底部设有伸缩架,所述伸缩架底部的两端通过两个转动块分别转动连接有两个螺纹块,所述活动板的表面套设有底部支架,所述底部支架的一侧安装有调节电机,所述调节电机的输出端贯穿至底部支架的内部并通过连接安装有与两个螺纹块螺纹连接的双向螺杆,所述螺纹块的底端栓接有两个滑块一,所述底部支架内腔的底部开设有与滑块一滑动连接的滑槽一。
3、采用上述技术方案,通过设置调节电机、螺纹块、双向螺杆、伸缩架、活动板和调节辊,能够驱动调节辊进行上下升降,从而利用调节辊可以下压铝箔纸,使松弛状态的铝箔纸达到合适的松紧状态;通过设置收集电机、齿轮二、齿轮一和收集杆能够对铝箔纸在分切时的边角料进行收卷收集。
4、本实用新型进一步设置为:所述固定架内腔的底部栓接有固定板,所述收集电机靠近固定板的一侧与收集电机栓接,所述固定板的内部与收集电机输出端的表面套设。
5、采用上述技术方案,通过固定板的设置,用于对收集电机和收集杆进行支撑。
6、本实用新型进一步设置为:所述收集杆的表面转动套接有轴承一,所述固定板的内部与轴承一的表面固定套接。
7、采用上述技术方案,通过轴承一的设置,用于对收集杆进行限位,并保证收集杆可以在固定的位置进行转动。
8、本实用新型进一步设置为:每组所述纸筒固定座的数量为两个。
9、采用上述技术方案,通过纸筒固定座的设置,两组纸筒固定座可以分别用于固定用于收卷边角料的纸筒,并能够同时对铝箔纸在分切后,对其两侧的边角料进行同步收集。
10、本实用新型进一步设置为:所述伸缩架顶部的两端通过两个转动块分别栓接有两个滑块二,所述活动板的底部开设有与滑块二滑动连接的滑槽二。
11、采用上述技术方案,通过滑块二和滑槽二的设置,用于对伸缩架的伸缩进行导向,保证了伸缩架在伸缩时的稳定。
12、本实用新型进一步设置为:所述活动板的两侧均栓接有滑块三,所述底部支架内腔的两侧均开设有与滑块三滑动连接的滑槽三。
13、采用上述技术方案,通过滑块三和滑槽三的设置,用于对活动板上下活动进行导向。
14、本实用新型进一步设置为:所述底部支架的内部还内嵌有两个轴承二,两个所述轴承二的内部分别与双向螺杆的表面和调节电机输出端的表面转动套接。
15、采用上述技术方案,通过轴承二的设置,轴承二的数量为两个,两个轴承二分别用于增加双向螺杆和调节电机输出端在转动时的稳定性。
16、本实用新型进一步设置为:所述活动板的内部内嵌有两个转轴,两个所述转轴的内部均与调节辊的表面转动套接。
17、采用上述技术方案,转轴的设置用于增加调节辊在转动时的稳定性,同时使得调节辊可以跟随活动板进行上下移动。
18、综上所述,本实用新型具有以下有益效果:
19、1.本实用新型通过设置活动板连接调节辊,铝箔纸通过调节辊的下表面穿过,利用调节电机驱动双向螺杆转动,利用双向螺杆驱动两个螺纹块向一起靠近和远离,从而让伸缩架上下伸缩能够驱动活动板和调节辊上下活动,从而利用调节辊对铝箔纸进行压紧和放松,而调节辊的正常状态位于滑槽三的中心处;
20、2.本实用新型通过设置收集杆用于放置收集边角料的纸筒,通过纸筒固定座固定纸筒,通过将铝箔纸边角料和纸筒缠绕,利用收集电机驱动齿轮二和齿轮一转动,齿轮一转动带动收集杆转动,收集杆带动纸筒转动可以让纸筒对铝箔纸在进行分切时的边角料进行收集。
技术特征:
1.一种铝箔纸分切机松紧调节机构,包括固定架(1),其特征在于,所述固定架(1)的内部设有收集杆(2),所述收集杆(2)的表面安装有两组纸筒固定座(17),所述收集杆(2)的表面固定套接有齿轮一(3),所述齿轮一(3)的表面啮合有齿轮二(4),所述固定架(1)的内部设有收集电机(5),所述收集电机(5)输出端的表面与齿轮二(4)的内部固定套接;所述固定架(1)的内部套设有调节辊(6),所述调节辊(6)的底部设有活动板(7),所述活动板(7)的底部设有伸缩架(8),所述伸缩架(8)底部的两端通过两个转动块分别转动连接有两个螺纹块(9),所述活动板(7)的表面套设有底部支架(10),所述底部支架(10)的一侧安装有调节电机(11),所述调节电机(11)的输出端贯穿至底部支架(10)的内部并通过连接安装有与两个螺纹块(9)螺纹连接的双向螺杆(12),所述螺纹块(9)的底端栓接有两个滑块一(13),所述底部支架(10)内腔的底部开设有与滑块一(13)滑动连接的滑槽一(14)。
2.根据权利要求1所述的一种铝箔纸分切机松紧调节机构,其特征在于,所述固定架(1)内腔的底部栓接有固定板(15),所述收集电机(5)靠近固定板(15)的一侧与收集电机(5)栓接,所述固定板(15)的内部与收集电机(5)输出端的表面套设。
3.根据权利要求2所述的一种铝箔纸分切机松紧调节机构,其特征在于,所述收集杆(2)的表面转动套接有轴承一(16),所述固定板(15)的内部与轴承一(16)的表面固定套接。
4.根据权利要求1所述的一种铝箔纸分切机松紧调节机构,其特征在于,每组所述纸筒固定座(17)的数量为两个。
5.根据权利要求1所述的一种铝箔纸分切机松紧调节机构,其特征在于,所述伸缩架(8)顶部的两端通过两个转动块分别栓接有两个滑块二(18),所述活动板(7)的底部开设有与滑块二(18)滑动连接的滑槽二(19)。
6.根据权利要求1所述的一种铝箔纸分切机松紧调节机构,其特征在于,所述活动板(7)的两侧均栓接有滑块三(20),所述底部支架(10)内腔的两侧均开设有与滑块三(20)滑动连接的滑槽三(21)。
7.根据权利要求1所述的一种铝箔纸分切机松紧调节机构,其特征在于,所述底部支架(10)的内部还内嵌有两个轴承二(22),两个所述轴承二(22)的内部分别与双向螺杆(12)的表面和调节电机(11)输出端的表面转动套接。
8.根据权利要求1所述的一种铝箔纸分切机松紧调节机构,其特征在于,所述活动板(7)的内部内嵌有两个转轴(23),两个所述转轴(23)的内部均与调节辊(6)的表面转动套接。
技术总结
本技术公开了一种铝箔纸分切机松紧调节机构,应用在铝箔纸分切领域,包括固定架,所述固定架的内部设有收集杆;本技术通过设置活动板连接调节辊,铝箔纸通过调节辊的下表面穿过,利用调节电机驱动双向螺杆转动,利用双向螺杆驱动两个螺纹块向一起靠近和远离,让伸缩架上下伸缩能够驱动活动板和调节辊上下活动,利用调节辊对铝箔纸进行压紧和放松,而调节辊的正常状态位于滑槽三的中心处;通过设置收集杆用于放置收集边角料的纸筒,通过纸筒固定座固定纸筒,通过将铝箔纸边角料和纸筒缠绕,利用收集电机驱动齿轮二和齿轮一转动,齿轮一转动带动收集杆转动,收集杆带动纸筒转动可以让纸筒对铝箔纸的边角料进行收集。
技术研发人员:许永石,陈勇军,赵翰林
受保护的技术使用者:昆山市生力包装材料有限公司
技术研发日:20230718
技术公布日:2024/1/22