
本实用新型涉及一种用于不干胶分切机的上料装置。
背景技术:
目前,不干胶使用越来越广泛。现有的不干胶主要包括表层和胶层两个部分,其中,胶层涂布于表层的一侧。
现有生产不干胶的设备主要为印刷机,通过将卷状的表层放卷,继而经过沾有胶水的涂胶辊,继而烘干后绕卷。
由于成卷的不干胶宽度较大,为了适应不同的工作场景,需要将其分切。现有的分切机主要包括上料装置、分切装置和下料装置。
目前的上料装置主要包括机架以及转动连接于机架上的支撑轮,相邻的两个支撑轮之间形成用于放置上料辊的上料区。上料辊上绕卷有不干胶。
由于待放卷的不干胶的厚度较、质量较大,因而支撑轮的高度位置较高,造成工人用手将上料辊置于支撑轮上较为不便,从而严重影响生产效率。
技术实现要素:
针对现有技术存在的不足,本实用新型在于提供一种用于不干胶分切机的上料装置,通过支撑杆上移将上料辊抬升,达到提升生产效率的目的。
为实现上述目的,本实用新型提供了如下技术方案:一种用于不干胶分切机的上料装置,包括机架,所述的机架上转动连接有支撑轮,相邻所述支撑轮之间形成用于放置上料辊的容纳腔,所述的机架通过电机转动连接有驱动杆,所述的驱动杆通过联动组件连接有转动柱,所述转动柱转动连接于机架上且上端开设有传导斜面,所述的机架上滑动连接有由于与上料辊抵触的支撑杆。
通过采用上述技术方案,将上料辊置于支撑杆上,通过驱动杆旋转,使驱动杆通过联动组件带动转动柱旋转,使转动柱通过传导斜面带动支撑杆上移,从而使上料辊能够抬升,继而将上料辊轻松推落到容纳腔中,随着驱动杆继续旋转,通过重力作用即可使转动柱带动支撑杆下移,操作简便,免去了工人用手抬上料辊的过程,极大提升生产效率。
本实用新型进一步设置为:所述的支撑杆的上端开设有放置凹槽。
通过采用上述技术方案,将上料辊置于放置凹槽中,支撑杆通过转动柱旋转以上升时,上料辊不易从支撑杆上滚落,提升安全性。
本实用新型进一步设置为:所述的支撑杆上转动连接有传导轮,所述的传导轮与传导斜面抵触。
通过采用上述技术方案,传导轮与传导斜面抵触,减少了磨损,延长使用寿命,并且使转动柱旋转更为平顺。
本实用新型进一步设置为:所述的联动组件包括齿轮和齿环,所述的齿环固定于转动柱上且同轴设置,所述的齿轮固定于驱动杆上,所述的齿轮与齿环啮合。
通过采用上述技术方案,驱动杆转动,齿轮随着驱动杆同步转动,即可使齿环带动转动柱旋转,结构紧凑。
本实用新型进一步设置为:所述的支撑杆靠近支撑轮的一侧开设有引导弧面。
通过采用上述技术方案,将上料辊从支撑杆上推落时,通过引导弧面的引导作用,使上料辊沿着引导弧面下移更为平顺,从而能够更为准确地置于支撑轮上。
综上所述,本实用新型具有以下有益效果:
将上料辊置于支撑杆上,通过驱动杆旋转,使驱动杆通过联动组件带动转动柱旋转,使转动柱通过传导斜面带动支撑杆上移,从而使上料辊能够抬升,继而将上料辊轻松推落到容纳腔中,随着驱动杆继续旋转,通过重力作用即可使转动柱带动支撑杆下移,操作简便,免去了工人用手抬上料辊的过程,极大提升生产效率。
附图说明
图1为本实用新型的结构示意图。
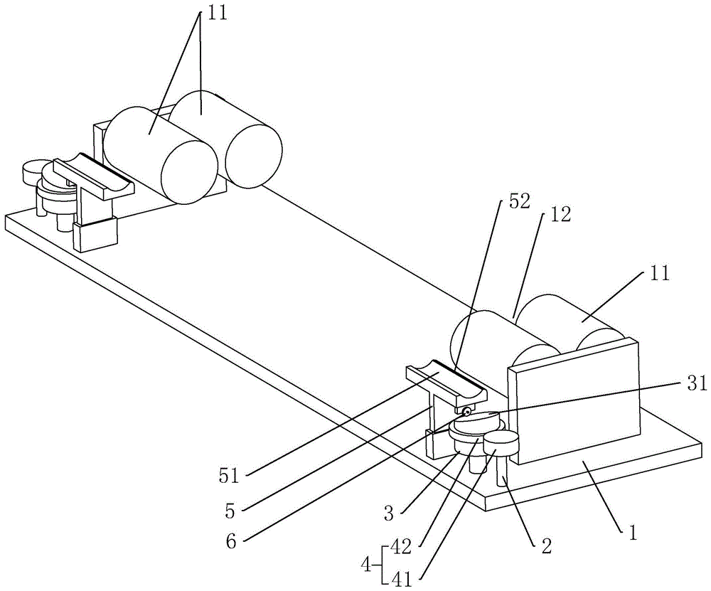
附图标记:1、机架;11、支撑轮;12、容纳腔;2、驱动杆;3、转动柱;31、传导斜面;4、联动组件;41、齿轮;42、齿环;5、支撑杆;51、放置凹槽;52、引导弧面;6、传导轮。
具体实施方式
参照附图对本实用新型做进一步说明。
如图1所示,一种用于不干胶分切机的上料装置,包括机架1。在机架1上转动连接有支撑轮11,相邻的两个支撑轮11之间形成用于放置上料辊的容纳腔12。
机架1通过电机(图中未示出)转动连接有驱动杆2。驱动杆2竖直设置,驱动杆2通过联动组件4连接有转动柱3。
该联动组件4包括齿轮41和齿环42。齿环42固定于转动柱3上且同轴设置;齿轮41固定于驱动杆2上且与驱动杆2同轴设置,将齿轮41与齿环42啮合。
为了转动柱3旋转更为平顺,齿轮41的外径小于齿环42的外径。
转动柱3转动连接于机架1上且上端开设有传导斜面31。在机架1上滑动连接有由于与上料辊抵触的支撑杆5。支撑杆5竖直设置。
在支撑杆5的上端开设有用于放置上料辊的放置凹槽51。并在支撑杆5靠近支撑轮11的一侧开设有引导弧面52。
为了延长使用寿命,在支撑杆5上转动连接有传导轮6,该传导轮6与传导斜面31抵触。
综上所述,使用时,不干胶置于地面上,滚动不干胶,使上料辊位于支撑杆5的上方,并且使上料辊的位置与放置凹槽51对应。通过电机带动驱动杆2旋转,使驱动杆2通过联动组件4带动转动柱3旋转,使转动柱3通过传导斜面31带动支撑杆5上移,从而使上料辊置于放置凹槽51中并随着支撑杆5向上抬升。
当上料辊的水平高度高于支撑轮11的高度时,电机关闭,驱动杆2停止转动。继而将上料辊轻松推落到容纳腔12中。从而实现上料辊的安装。
继而电机启动,随着驱动杆2继续旋转,通过重力作用即可使转动柱3带动支撑杆5下移,操作简便,免去了工人用手抬上料辊的过程,极大提升生产效率。
以上所述仅是本实用新型的优选实施方式,本实用新型的保护范围并不仅局限于上述实施例,凡属于本实用新型思路下的技术方案均属于本实用新型的保护范围。应当指出,对于本技术领域的普通技术人员来说,在不脱离本实用新型原理前提下的若干改进和润饰,这些改进和润饰也应视为本实用新型的保护范围。
技术特征:
1.一种用于不干胶分切机的上料装置,包括机架,所述的机架上转动连接有支撑轮,相邻所述支撑轮之间形成用于放置上料辊的容纳腔,其特征是:所述的机架通过电机转动连接有驱动杆,所述的驱动杆通过联动组件连接有转动柱,所述转动柱转动连接于机架上且上端开设有传导斜面,所述的机架上滑动连接有由于与上料辊抵触的支撑杆。
2.根据权利要求1所述的用于不干胶分切机的上料装置,其特征是:所述的支撑杆的上端开设有放置凹槽。
3.根据权利要求1所述的用于不干胶分切机的上料装置,其特征是:所述的支撑杆上转动连接有传导轮,所述的传导轮与传导斜面抵触。
4.根据权利要求1所述的用于不干胶分切机的上料装置,其特征是:所述的联动组件包括齿轮和齿环,所述的齿环固定于转动柱上且同轴设置,所述的齿轮固定于驱动杆上,所述的齿轮与齿环啮合。
5.根据权利要求2所述的用于不干胶分切机的上料装置,其特征是:所述的支撑杆靠近支撑轮的一侧开设有引导弧面。
技术总结
本实用新型涉及一种用于不干胶分切机的上料装置,包括机架,所述的机架上转动连接有支撑轮,相邻所述支撑轮之间形成用于放置上料辊的容纳腔,所述的机架通过电机转动连接有驱动杆,所述的驱动杆通过联动组件连接有转动柱,所述转动柱转动连接于机架上且上端开设有传导斜面,所述的机架上滑动连接有由于与上料辊抵触的支撑杆。本实用新型具有以下优点和效果:本方案利用新机械结构,达到提升生产效率的目的。
技术研发人员:陈文强
受保护的技术使用者:龙港市中创印刷有限公司
技术研发日:2020.11.16
技术公布日:2021.07.20