
本实用新型涉及纸张分切机设备技术领域,具体为一种纸张高速分切机的进纸导纸机构。
背景技术:
纸张分切机是将宽幅卷筒纸分切并复卷成宽度不等,直径大小不等卷材的纸张加工设备。广泛用于纸张加工界或印前印后的机械设备。传统的纸张分切机的进料导纸机构为单一的导辊,纸张在高速进料过程中容易发生断裂,传输效果差,且功能单一,因此,需要一种纸张高速分切机的进纸导纸机构。
技术实现要素:
本实用新型的目的在于提供一种纸张高速分切机的进纸导纸机构,以解决上述背景技术中提出的问题。
为实现上述目的,本实用新型提供如下技术方案:
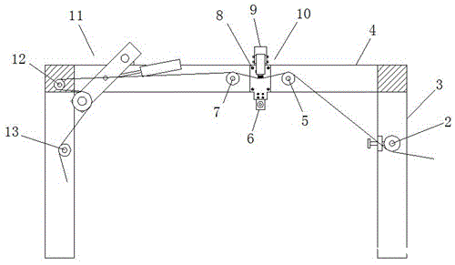
一种纸张高速分切机的进纸导纸机构,包括矩形框,所述矩形框底端面四周固定连接设置有若干支撑立柱,所述矩形框底端面右侧在前后方向上设置的支撑立柱之间连接有第一导辊,所述矩形框前后侧横杆之间连接有清洁装置,所述清洁装置左右两侧分别设置有第二导辊和第三导辊,所述清洁装置左侧设置有张紧调节装置,所述张紧调节装置左侧设置有第四导辊,所述矩形框底端面左侧在前后方向上设置的支撑立柱之间连接有第五导辊。
优选的,所述清洁装置包括中间板,所述中间板在矩形框前后侧横杆相对一侧端面固定设置并通过第一螺栓固定连接,所述中间板上端一体化设置有第一竖板,前后侧第一竖板相离一侧端面通过第二螺栓固定设置有连接板,前后两侧连接板通过第三螺栓与矩形框前后侧横杆上端面固定连接,所述中间板下端一体化设置有第二竖板,前后侧中间板相对一侧端面固定连接有夹板,前后侧夹板之间设置有纵杆。
优选的,前后侧第二竖板相离一侧端面通过第四螺栓连接有固定板,前后侧固定板之间转动连接有第六导辊。
优选的,所述纵杆上设置有通孔,所述纵杆前后两端通过第五螺栓与前后侧夹板固定连接,所述纵杆底端面固定设置有若干固定框,所述固定框为‘u’形框设置,所述固定框内前后侧壁连接有转轴,所述转轴外表面设置有滚轮,若干滚轮下方设置有磨砂条。
优选的,所述张紧调节装置包括转动座,所述转动座在矩形框前后侧横杆上端面安装设置,前后侧转动座之间转动连接有第七导辊。
优选的,所述第七导辊前后侧外表面转动设置有矩形板,前后侧矩形板下端之间连接有第八导辊,前后侧矩形板右侧安装有气缸,所述气缸在矩形框侧壁安装设置,所述矩形板中间设置有转杆,所述气缸输出端与转杆转动铰连接设置。
与现有技术相比,本实用新型的有益效果是:本实用新型结构简单,构造清晰易懂,纸张在传输过程中通过清洁装置进行纸张表面清洁作业,提高生产质量,此外,通过张紧调节装置可以对纸张传输时的张紧度进行调节,避免传输速度不稳定时造成纸张堆叠或者断裂,提高传输稳定性,操作简单,值得推广。
附图说明
图1为一种纸张高速分切机的进纸导纸机构的主视图部分截面结构示意图;
图2为一种纸张高速分切机的进纸导纸机构的俯视图结构示意图;
图3为一种纸张高速分切机的进纸导纸机构的清洁装置结构示意图。
图中:1-磨砂条,2-第一导辊,3-支撑立柱,4-矩形框,5-第三导辊,6-固定板,7-第二导辊,8-第一螺栓,9-第一竖板,10-清洁装置,11-张紧调节装置,12-第四导辊,13-第五导辊,14-第七导辊,15-第八导辊,16-矩形板,17-转杆,18-转动座,19-气缸,20-第四螺栓,21-第二竖板,22-中间板,23-第三螺栓,24-第二螺栓,25-连接板,26-夹板,27-第五螺栓,28-纵杆,29-通孔,30-固定块,31-滚轮,32-转轴,33-第六导辊。
具体实施方式
下面将结合本实用新型实施例中的附图,对本实用新型实施例中的技术方案进行清楚、完整地描述,显然,所描述的实施例仅仅是本实用新型一部分实施例,而不是全部的实施例。基于本实用新型中的实施例,本领域普通技术人员在没有做出创造性劳动前提下所获得的所有其他实施例,都属于本实用新型保护的范围。
请参阅图1~3,本实用新型提供一种技术方案:一种纸张高速分切机的进纸导纸机构,包括矩形框4,所述矩形框4底端面四周固定连接设置有若干支撑立柱3,所述矩形框4底端面右侧在前后方向上设置的支撑立柱3之间连接有第一导辊2,所述矩形框4前后侧横杆之间连接有清洁装置10,所述清洁装置10左右两侧分别设置有第二导辊7和第三导辊5,所述清洁装置10左侧设置有张紧调节装置11,所述张紧调节装置11左侧设置有第四导辊12,所述矩形框4底端面左侧在前后方向上设置的支撑立柱3之间连接有第五导辊13,所述清洁装置10包括中间板22,所述中间板22在矩形框4前后侧横杆相对一侧端面固定设置并通过第一螺栓8固定连接,所述中间板22上端一体化设置有第一竖板9,前后侧第一竖板9相离一侧端面通过第二螺栓24固定设置有连接板25,前后两侧连接板25通过第三螺栓23与矩形框4前后侧横杆上端面固定连接,所述中间板22下端一体化设置有第二竖板21,前后侧中间板22相对一侧端面固定连接有夹板26,前后侧夹板26之间设置有纵杆28,前后侧第二竖板21相离一侧端面通过第四螺栓20连接有固定板6,前后侧固定板6之间转动连接有第六导辊33,所述纵杆28上设置有通孔29,所述纵杆28前后两端通过第五螺栓27与前后侧夹板26固定连接,所述纵杆28底端面固定设置有若干固定框30,所述固定框30为‘u’形框设置,所述固定框30内前后侧壁连接有转轴32,所述转轴32外表面设置有滚轮31,若干滚轮31下方设置有磨砂条1,所述张紧调节装置11包括转动座18,所述转动座18在矩形框4前后侧横杆上端面安装设置,前后侧转动座18之间转动连接有第七导辊14,所述第七导辊14前后侧外表面转动设置有矩形板16,前后侧矩形板16下端之间连接有第八导辊15,前后侧矩形板16右侧安装有气缸19,所述气缸19在矩形框4侧壁安装设置,所述矩形板16中间设置有转杆17,所述气缸19输出端与转杆17转动铰连接设置。
纸张沿着第一导辊2传输,随后沿着第三导辊5和第二导辊7传输,第三导辊5和第二导辊7之间设置有清洁装置10,因为第三导辊5和第二导辊7的高度高于磨砂条的高度,所以,纸张通过清洁装置10中的磨砂条1时会被磨砂条1进行表面清洁,随后沿第四导辊12和第八导辊15传输,最后从第五导辊13输出,其中,气缸19能够推动矩形板17沿着第七导辊14转动,从而调节第八导辊15的高度,实现纸张的张紧调节。
对于本领域技术人员而言,显然本实用新型不限于上述示范性实施例的细节,而且在不背离本实用新型的精神或基本特征的情况下,能够以其他的具体形式实现本实用新型。因此,无论从哪一点来看,均应将实施例看作是示范性的,而且是非限制性的,本实用新型的范围由所附权利要求而不是上述说明限定,因此旨在将落在权利要求的等同要件的含义和范围内的所有变化囊括在本实用新型内。不应将权利要求中的任何附图标记视为限制所涉及的权利要求。
此外,应当理解,虽然本说明书按照实施方式加以描述,但并非每个实施方式仅包含一个独立的技术方案,说明书的这种叙述方式仅仅是为清楚起见,本领域技术人员应当将说明书作为一个整体,各实施例中的技术方案也可以经适当组合,形成本领域技术人员可以理解的其他实施方式。
技术特征:
1.一种纸张高速分切机的进纸导纸机构,包括矩形框(4),其特征在于:所述矩形框(4)底端面四周固定连接设置有若干支撑立柱(3),所述矩形框(4)底端面右侧在前后方向上设置的支撑立柱(3)之间连接有第一导辊(2),所述矩形框(4)前后侧横杆之间连接有清洁装置(10),所述清洁装置(10)左右两侧分别设置有第二导辊(7)和第三导辊(5),所述清洁装置(10)左侧设置有张紧调节装置(11),所述张紧调节装置(11)左侧设置有第四导辊(12),所述矩形框(4)底端面左侧在前后方向上设置的支撑立柱(3)之间连接有第五导辊(13)。
2.根据权利要求1所述的一种纸张高速分切机的进纸导纸机构,其特征在于:所述清洁装置(10)包括中间板(22),所述中间板(22)在矩形框(4)前后侧横杆相对一侧端面固定设置并通过第一螺栓(8)固定连接,所述中间板(22)上端一体化设置有第一竖板(9),前后侧第一竖板(9)相离一侧端面通过第二螺栓(24)固定设置有连接板(25),前后两侧连接板(25)通过第三螺栓(23)与矩形框(4)前后侧横杆上端面固定连接,所述中间板(22)下端一体化设置有第二竖板(21),前后侧中间板(22)相对一侧端面固定连接有夹板(26),前后侧夹板(26)之间设置有纵杆(28)。
3.根据权利要求2所述的一种纸张高速分切机的进纸导纸机构,其特征在于:前后侧第二竖板(21)相离一侧端面通过第四螺栓(20)连接有固定板(6),前后侧固定板(6)之间转动连接有第六导辊(33)。
4.根据权利要求3所述的一种纸张高速分切机的进纸导纸机构,其特征在于:所述纵杆(28)上设置有通孔(29),所述纵杆(28)前后两端通过第五螺栓(27)与前后侧夹板(26)固定连接,所述纵杆(28)底端面固定设置有若干固定框(30),所述固定框(30)为‘u’形框设置,所述固定框(30)内前后侧壁连接有转轴(32),所述转轴(32)外表面设置有滚轮(31),若干滚轮(31)下方设置有磨砂条(1)。
5.根据权利要求4所述的一种纸张高速分切机的进纸导纸机构,其特征在于:所述张紧调节装置(11)包括转动座(18),所述转动座(18)在矩形框(4)前后侧横杆上端面安装设置,前后侧转动座(18)之间转动连接有第七导辊(14)。
6.根据权利要求5所述的一种纸张高速分切机的进纸导纸机构,其特征在于:所述第七导辊(14)前后侧外表面转动设置有矩形板(16),前后侧矩形板(16)下端之间连接有第八导辊(15),前后侧矩形板(16)右侧安装有气缸(19),所述气缸(19)在矩形框(4)侧壁安装设置,所述矩形板(16)中间设置有转杆(17),所述气缸(19)输出端与转杆(17)转动铰连接设置。
技术总结
本实用新型公开了一种纸张高速分切机的进纸导纸机构,包括矩形框,所述矩形框底端面四周固定连接设置有若干支撑立柱,所述矩形框底端面右侧在前后方向上设置的支撑立柱之间连接有第一导辊,所述矩形框前后侧横杆之间连接有清洁装置,所述清洁装置左右两侧分别设置有第二导辊和第三导辊,所述清洁装置左侧设置有张紧调节装置,所述张紧调节装置左侧设置有第四导辊,结构简单,构造清晰易懂,纸张在传输过程中通过清洁装置进行纸张表面清洁作业,提高生产质量,此外,通过张紧调节装置可以对纸张传输时的张紧度进行调节,避免传输速度不稳定时造成纸张堆叠或者断裂,提高传输稳定性,操作简单,值得推广。
技术研发人员:陈钟;李勇
受保护的技术使用者:无锡中江彩印包装有限公司
技术研发日:2019.07.08
技术公布日:2020.05.12