
本实用新型涉及纸张分切技术领域,尤其是涉及一种具有静电消除功能的分切机。
背景技术:
分切机是一种能将宽幅纸张分切成多条窄幅材料的机械设备,常用于造纸机械、电线电缆云母带及印刷包装机械。
参照图2,为现有技术中的一种分切机,包括呈u形的机架1、储料辊2、分切刀3、第一收料辊4、第二收料辊5及纸张6。储料辊2、第一收料辊4和第二收料辊5均水平设置且与机架1转动连接,分切刀3位于第一收料辊4正上方。纸张6沿储料辊2出发,从分切刀3和第一收料辊4之间穿过至第二收料辊5。
上述现有技术方案存在以下缺陷:当分切机工作过程中,待切割件和料辊之间会产生大量静电,静电耦合在产品内部,会造成客户使用时产品出现粘附,不宜分离,电击等问题。
技术实现要素:
针对现有技术存在的不足,本实用新型的目的在于提供一种具有静电消除功能的分切机,其能够消除分切机工作过程中所产生的静电。
本实用新型的上述目的是通过以下技术方案得以实现的:
一种具有静电消除功能的分切机,包括机架、储料辊、分切刀、第一收料辊、第二收料辊及纸张,所述储料辊与第一收料辊之间水平设置有与机架两侧壁顶端固定连接的静电消除辊,所述静电消除辊内沿其轴向方向开设有圆柱形空腔,所述静电消除辊的一端面设有与空腔连通的进水管,所述静电消除辊的圆周面上开设有若干与空腔连通的微型出水孔,所述纸张从静电消除辊的顶面经过。
通过采用上述技术方案,纸张静电的产生和空气的相对湿度、纸张的含水量有关,纸张干燥极易引起静电的产生。纸张经过静电消除辊时,其表面被微微浸湿,纸张含水量的改变就是一个静电释放的过程,从而达到了消除静电的目的。
本实用新型在一较佳示例中可以进一步配置为:所述静电消除辊外套设有海绵垫,所述海绵垫在纸张的带动下围绕静电消除辊的轴线转动。
通过采用上述技术方案,出水孔流出的水被海绵垫吸收并均匀散布在表面,纸张在经过海绵垫时表面被均匀打湿,从而提高了静电消除效果;海绵垫在外力的作用下可以转动,保证了纸张经过海绵垫时摩擦力较小,减少了静电的产生。
本实用新型在一较佳示例中可以进一步配置为:所述静电消除辊两端的圆周面上设有防止海绵垫脱离静电消除辊的限位环。
通过采用上述技术方案,纸张运动时,带动海绵垫转动,海绵垫可能从静电消除辊一端脱离,导致工作异常,限位环有效的解决了这一问题。
本实用新型在一较佳示例中可以进一步配置为:所述进水管上连通有电磁阀,所述机架上设置有用于检测海绵垫含水量的湿度传感器及与湿度传感器、电磁阀电连接的控制器,所述控制器控制电磁阀的开度。
通过采用上述技术方案,当海绵垫含水量较高时,湿度传感器接收到信号并反馈给控制器,控制器处理信号并减小电磁阀的开度以减少水的进入量,直到湿度传感器的检测值处于设定范围内。该设计避免了纸张经过海绵垫时含水量过大,造成纸张报废或发生褶皱的问题。
本实用新型在一较佳示例中可以进一步配置为:所述静电消除辊与储料辊之间设置有水平设置的静电消除棒,所述静电消除棒位于纸张上方且与纸张的顶面接触。
通过采用上述技术方案,静电消除棒消除了纸张从储料辊输出时所产生的静电,提升了该分切机的整体静电消除效果。
本实用新型在一较佳示例中可以进一步配置为:所述静电消除棒的正上方竖直设置有呈“冂”字形的支撑架,所述支撑架开口朝向机架且其底端分别与机架的两侧壁顶端连接,所述静电消除棒与支撑架之间竖直设置有压力弹簧,所述压力弹簧连接于静电消除棒的顶面和支撑架的顶面之间,当储料辊的纸张匝数变化时,所述压力弹簧始终能够将静电消除棒与纸张接触。
通过采用上述技术方案,当纸张不断从储料辊上输出时,储料辊上的纸张匝数会减少,此时位于静电消除辊和储料辊之间的纸张会向下偏移,如果将静电消除棒设置在固定高度可能会导致储料辊上的纸张匝数减少时,静电消除棒无法与纸张接触从而造成静电消除棒不起作用的问题;如果将静电消除棒的高度设置的过低,使静电消除棒始终能将纸张抵紧,又会造成纸张在通过静电消除棒时摩擦力过大,影响正常生产工作。压力弹簧的设置在一定程度上解决了上述问题,具有较好的实用性。
本实用新型在一较佳示例中可以进一步配置为:所述静电消除棒顶面的两侧分别竖直设置有导向杆,所述导向杆的顶端贯穿支撑架的顶面,所述导向杆的长度大于弹簧的最大伸长量。
通过采用上述技术方案,导向杆的设置保证了静电消除棒的稳固性,使其不会因为纸张的运动而发生偏移;导向杆的长度大于弹簧的最大伸长量,保证了当储料辊上的纸张匝数降低造成静电消除棒下移时,导向杆不会脱离支撑架。
本实用新型在一较佳示例中可以进一步配置为:所述第二收料辊远离切刀的一侧设置有除静电毛刷,所述除静电毛刷包括与机架两侧壁固定连接的刷板、设于刷板上且与纸张接触的若干刷毛。
通过采用上述技术方案,除静电毛刷消除了纸张从切刀和第一收料辊之间输出时所产生的静电,进一步提升了该分切机的整体静电消除效果。
综上所述,本实用新型的有益技术效果为:
1.通过设置静电消除辊、进水管及出水孔,使纸张经过静电消除辊时,其表面被微微浸湿,从而达到了消除静电的目的;
2.通过设置海绵垫、电磁阀、控制器及湿度传感器,使纸张在经过海绵垫时表面被均匀打湿,从而提高了静电消除效果且避免了纸张经过海绵垫时含水量过大,造成纸张报废或发生褶皱的问题;
3.通过设置静电消除棒、除静电毛刷进一步提升了该分切机的静电消除效果。
附图说明
图1是本实施例公开的一种具有静电消除功能的分切机的结构示意图;
图2是现有技术中公开的一种分切机结构示意图。
附图标记:1、机架;2、储料辊;3、分切刀;4、第一收料辊;5、第二收料辊;6、纸张;7、静电消除辊;8、进水管;9、出水孔;10、海绵垫;11、限位环;12、电磁阀;13、湿度传感器;14、控制器;15、静电消除棒;16、支撑架;17、压力弹簧;18、导向杆;19、除静电毛刷;20、刷板;21、刷毛。
具体实施方式
以下结合附图对本实用新型作进一步详细说明。
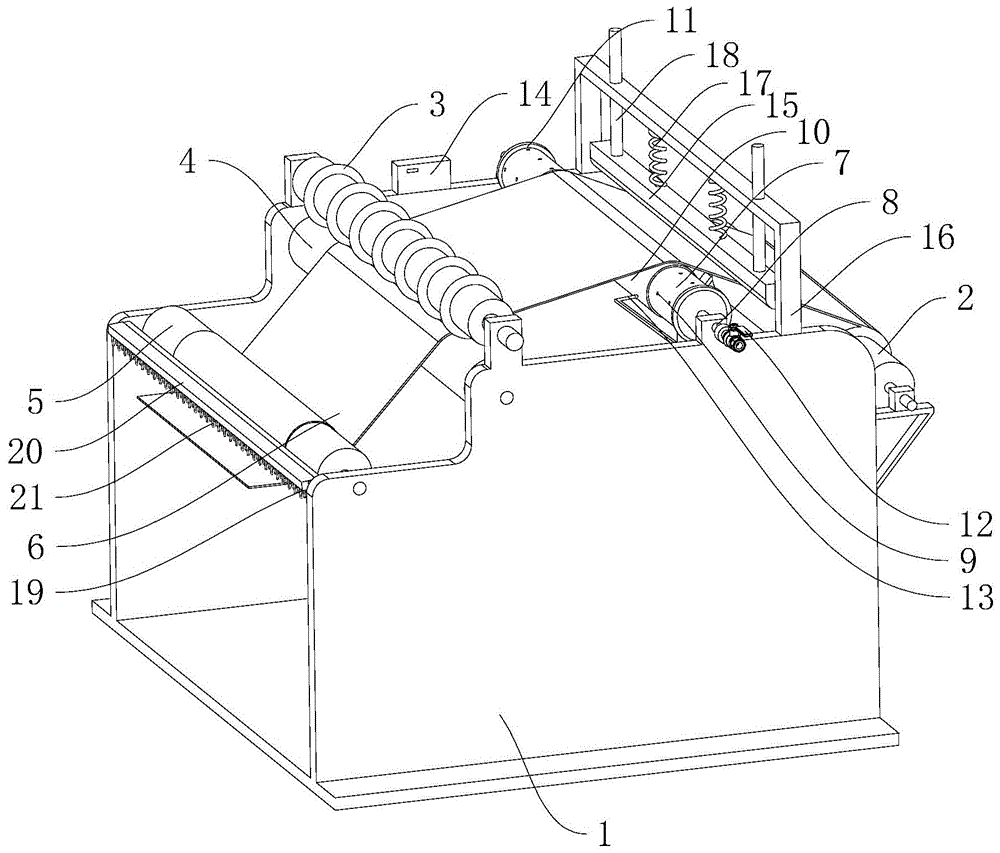
参照图1,为本实用新型公开的一种具有静电消除功能的分切机,包括呈u形的机架1、储料辊2、分切刀3、第一收料辊4、第二收料辊5及纸张6。储料辊2、第一收料辊4和第二收料辊5均水平设置且与机架1转动连接,分切刀3位于第一收料辊4的正上方,纸张6沿储料辊2出发,从分切刀3和第一收料辊4之间穿过至第二收料辊5。纸张6静电的产生和空气的相对湿度、纸张6的含水量有关,纸张6干燥极易引起静电的产生,因此,增加纸张6的含水量可以有效的消除纸张6的静电。在本实施例中,为了达到此目的,在储料辊2与第一收料辊4之间水平设置有与机架1两侧壁顶端焊接的静电消除辊7,静电消除辊7内沿其轴向方向开设有圆柱形空腔,静电消除辊7的一端面设有与空腔连通的进水管8,静电消除辊7的圆周面上开设有多个均匀分布且与空腔连通的微型出水孔9,出水孔9的直径为1mm,纸张6从静电消除辊7的顶面经过。纸张6经过静电消除辊7时,其表面被微微浸湿,从而达到了消除静电的目的。
为了使纸张6表面被均匀打湿,提高静电消除效果,在静电消除辊7外套设有由聚氨酯材料制成的海绵垫10,海绵垫10在纸张6的带动下围绕静电消除辊7的轴线转动。在纸张6运动而带动海绵垫10的转动时,海绵垫10可能从静电消除辊7一端脱离,导致工作异常,因此,在静电消除辊7两端的圆周面上粘接有防止海绵垫10脱离静电消除辊7的限位环11。
当出水孔9流入静电消除辊7内的水过多,海绵垫10的含水量较高时,可能会导致纸张6经过海绵垫10的过程中浸水过多造成报废或发生褶皱的问题,在进水管8上连通有电磁阀12,机架1上的顶端安装有用于检测海绵垫10含水量的湿度传感器13及与湿度传感器13、电磁阀12电连接的控制器14,控制器14控制电磁阀12的开度。当海绵垫10含水量较高时,湿度传感器13接收到信号并反馈给控制器14,控制器14处理信号并减小电磁阀12的开度以减少水的进入量,直到湿度传感器13的检测值处于设定范围内。
为了进一步提升该分切机的静电消除效果,在第二收料辊5远离切刀的一侧设置有位于纸张6上方的除静电毛刷19,除静电毛刷19包括与机架1两侧壁焊接的刷板20、设于刷板20上且与纸张6顶面接触的若干刷毛21,在本实施例中,刷毛21选用意大利碳纤维毛生产而成。优选的,在静电消除辊7与储料辊2之间水平设置有静电消除棒15,静电消除棒15位于纸张6上方且与纸张6的顶面接触。静电消除棒15的正上方竖直设置有呈“冂”字形的支撑架16,支撑架16开口朝向机架1且其底端分别与机架1的两侧壁顶端焊接,静电消除棒15与支撑架16之间竖直设置有压力弹簧17,压力弹簧17焊接于静电消除棒15的顶面和支撑架16的顶面之间,当储料辊2的纸张6匝数变化时,压力弹簧17始终能够将静电消除棒15与纸张6接触。压力弹簧17的主要目的是使储料辊2上的纸张6匝数减少时,静电消除棒15始终能够与纸张6接触,在本实施例中,为了提高静电消除棒15与支撑架16之间的稳固性,在静电消除棒15顶面的两侧分别竖直焊接有导向杆18,导向杆18的顶端贯穿支撑架16的顶面,导向杆18的长度大于弹簧的最大伸长量。
本实施例的实施原理为:工作时,从储料辊2上输出的纸张6在静电消除棒15的作用下被除去了大部分静电,当储料辊2上的纸张6匝数减少导致位于储料辊2与静电消除辊7之间的纸张6高度降低时,压力弹簧17会使静电消除棒15始终与纸张6顶面接触,保证静电消除效果。当纸张经过静电消除辊7时,海绵垫10将纸张6的底面微微浸湿,从而彻底消除了纸张6上的静电。当纸张6经过分切刀3和第一收料辊4时,可能会产生少量静电,在除静电毛刷19的作用下消除了该部分产生的静电。可见,该分切机具有非常好的静电消除效果。
本具体实施方式的实施例均为本实用新型的较佳实施例,并非依此限制本实用新型的保护范围,故:凡依本实用新型的结构、形状、原理所做的等效变化,均应涵盖于本实用新型的保护范围之内。
技术特征:
1.一种具有静电消除功能的分切机,包括机架(1)、储料辊(2)、分切刀(3)、第一收料辊(4)、第二收料辊(5)及纸张(6),其特征在于,所述储料辊(2)与第一收料辊(4)之间水平设置有与机架(1)两侧壁顶端固定连接的静电消除辊(7),所述静电消除辊(7)内沿其轴向方向开设有圆柱形空腔,所述静电消除辊(7)的一端面设有与空腔连通的进水管(8),所述静电消除辊(7)的圆周面上开设有若干与空腔连通的微型出水孔(9),所述纸张(6)从静电消除辊(7)的顶面经过。
2.根据权利要求1所述的具有静电消除功能的分切机,其特征在于,所述静电消除辊(7)外套设有海绵垫(10),所述海绵垫(10)在纸张(6)的带动下围绕静电消除辊(7)的轴线转动。
3.根据权利要求2所述的具有静电消除功能的分切机,其特征在于,所述静电消除辊(7)两端的圆周面上设有防止海绵垫(10)脱离静电消除辊(7)的限位环(11)。
4.根据权利要求3所述的具有静电消除功能的分切机,其特征在于,所述进水管(8)上连通有电磁阀(12),所述机架(1)上设置有用于检测海绵垫(10)含水量的湿度传感器(13)及与湿度传感器(13)、电磁阀(12)电连接的控制器(14),所述控制器(14)控制电磁阀(12)的开度。
5.根据权利要求1所述的具有静电消除功能的分切机,其特征在于,所述静电消除辊(7)与储料辊(2)之间设置有水平设置的静电消除棒(15),所述静电消除棒(15)位于纸张(6)上方且与纸张(6)的顶面接触。
6.根据权利要求5所述的具有静电消除功能的分切机,其特征在于,所述静电消除棒(15)的正上方竖直设置有呈“冂”字形的支撑架(16),所述支撑架(16)开口朝向机架(1)且其底端分别与机架(1)的两侧壁顶端连接,所述静电消除棒(15)与支撑架(16)之间竖直设置有压力弹簧(17),所述压力弹簧(17)连接于静电消除棒(15)的顶面和支撑架(16)的顶面之间,当储料辊(2)的纸张(6)匝数变化时,所述压力弹簧(17)始终能够将静电消除棒(15)与纸张(6)接触。
7.根据权利要求6所述的具有静电消除功能的分切机,其特征在于,所述静电消除棒(15)顶面的两侧分别竖直设置有导向杆(18),所述导向杆(18)的顶端贯穿支撑架(16)的顶面,所述导向杆(18)的长度大于弹簧的最大伸长量。
8.根据权利要求7所述的具有静电消除功能的分切机,其特征在于,所述第二收料辊(5)远离切刀的一侧设置有除静电毛刷(19),所述除静电毛刷(19)包括与机架(1)两侧壁固定连接的刷板(20)、设于刷板(20)上且与纸张(6)接触的若干刷毛(21)。
技术总结
本实用新型公开了一种具有静电消除功能的分切机,涉及纸张分切技术领域。其包括机架、储料辊、分切刀、第一收料辊、第二收料辊及纸张,所述储料辊与第一收料辊之间水平设置有与机架两侧壁顶端固定连接的静电消除辊,所述静电消除辊内沿其轴向方向开设有圆柱形空腔,所述静电消除辊的一端面设有与空腔连通的进水管,所述静电消除辊的圆周面上开设有若干与空腔连通的微型出水孔,所述纸张从静电消除辊的顶面经过。本实用新型具有能够消除分切机工作过程中所产生的静电的优点。
技术研发人员:曹亚青
受保护的技术使用者:西安天成印务有限公司
技术研发日:2020.01.07
技术公布日:2020.10.02