
1.本实用新型涉及机械装置技术领域,尤其涉及一种无纺布分切机摩擦放卷机械装置。
背景技术:
2.分切机是一种将宽幅纸张、云母带或薄膜分切成多条窄幅材料的机械设备,常用于造纸机械、电线电缆云母带及印刷包装机械。分切机主要的运用于:无纺布、云母带、纸张、绝缘材料及各种薄膜材料分切、特别适宜于窄带(无纺布,纸张,绝缘材料、云母带、薄膜等等)的分切,分切机放卷机械装置是带动成卷的布料转动,布料便展开,由于成卷的布料的卷布筒直径不一,目前的放卷机械装置不能很好固定卷布筒,卷布筒容易滑动,造成放出的布料松弛,影响分切机分切,导致分切效率变低。
技术实现要素:
3.本实用新型的目的是为了解决现有技术中目前的放卷机械装置不能很好固定卷布筒,卷布筒容易滑动,造成放出的布料松弛,影响分切机分切,导致分切效率变低问题,而提出的一种无纺布分切机摩擦放卷机械装置。
4.为了实现上述目的,本实用新型采用了如下技术方案:
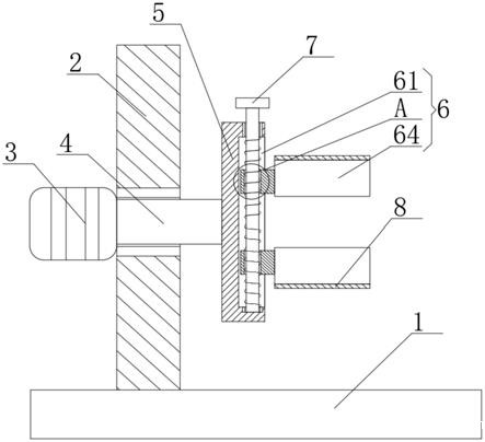
5.一种无纺布分切机摩擦放卷机械装置,包括固定板,所述固定板的顶部固定连接有支撑板,所述支撑板的一侧固定连接有驱动电机,所述驱动电机的输出端通过联轴器连接有转动轴,所述转动轴通过第一轴承转动连接在支撑板上,所述第一轴承固定设在支撑板上,所述转动轴远离驱动电机的一端固定连接有转盘,所述转盘连接有固定机构;
6.所述固定机构包括螺纹槽、螺纹杆、两块移动块、两块张紧板和两个螺纹孔,所述螺纹槽开设在转盘远离驱动电机的一端,所述螺纹杆的两端均通过第二轴承转动连接在螺纹槽对应的侧壁上,且所述螺纹杆为对称螺纹设置,所述第二轴承固定设在螺纹槽槽壁上,所述螺纹杆的顶部穿过对应的第二轴承内圈并向外延伸,两个所述螺纹孔分别开设在对应的移动块上,所述螺纹杆穿过螺纹孔并与螺纹孔螺纹连接,两块张紧板分别固定连接在对应的移动块远离螺纹槽槽底的一端。
7.优选的,所述螺纹杆的顶部固定连接有转动块。
8.优选的,两块所述张紧板的相背端为弧形设置。
9.优选的,两块所述张紧板的相背端均固定连接有橡胶垫。
10.优选的,所述固定机构材料为不锈合金材质。
11.与现有技术相比,本实用新型提供了一种无纺布分切机摩擦放卷机械装置,具备以下有益效果:
12.该无纺布分切机摩擦放卷机械装置,通过设置螺纹槽、螺纹杆、两块移动块、两块张紧板和两个螺纹孔组成一个固定机构,可以固定住不同直径的卷布筒,便于推广,防止卷布筒滑动,放出的布料张力一致,便于分切机分切,分切效果高。
13.该装置中未涉及部分均与现有技术相同或可采用现有技术加以实现,本实用新型可以固定住不同直径的卷布筒,便于推广,防止卷布筒滑动,放出的布料张力一致,便于分切机分切,分切效果高。
附图说明
14.图1为本实用新型提出的一种无纺布分切机摩擦放卷机械装置的结构示意图;
15.图2为图1中a部分的放大图。
16.图中:1固定板、2支撑板、3驱动电机、4转动轴、5转盘、6固定机构、61螺纹槽、62螺纹杆、63移动块、64张紧板、65螺纹孔、7转动块、8橡胶垫。
具体实施方式
17.下面将结合本实用新型实施例中的附图,对本实用新型实施例中的技术方案进行清楚、完整地描述,显然,所描述的实施例仅仅是本实用新型一部分实施例,而不是全部的实施例。
18.参照图1‑2,一种无纺布分切机摩擦放卷机械装置,包括固定板1,固定板1的顶部固定连接有支撑板2,支撑板2的一侧固定连接有驱动电机3,驱动电机3的输出端通过联轴器连接有转动轴4,转动轴4通过第一轴承转动连接在支撑板2上,第一轴承固定设在支撑板2上,转动轴4远离驱动电机3的一端固定连接有转盘5,转盘5连接有固定机构6;
19.固定机构6包括螺纹槽61、螺纹杆62、两块移动块63、两块张紧板64和两个螺纹孔65,螺纹槽61开设在转盘5远离驱动电机3的一端,螺纹杆62的两端均通过第二轴承转动连接在螺纹槽61对应的侧壁上,且螺纹杆62为对称螺纹设置,第二轴承固定设在螺纹槽槽壁上,螺纹杆62的顶部穿过对应的第二轴承内圈并向外延伸,两个螺纹孔65分别开设在对应的移动块63上,螺纹杆62穿过螺纹孔65并与螺纹孔65螺纹连接,两块张紧板64分别固定连接在对应的移动块63远离螺纹槽61槽底的一端,将卷布筒插在两块张紧板64上,转动螺纹杆62,两块移动块63向相背方向移动,移动块63带动张紧板64移动,张紧板64将卷布筒张紧,启动驱动电机3,驱动电机3带动转动轴4转动,转动轴4带动转盘5转动,转盘5通过固定机构6带动卷布筒转动,卷布筒上的布料按一定速率展开,可以固定住不同直径的卷布筒,便于推广,防止卷布筒滑动,放出的布料张力一致,便于分切机分切,分切效果高。
20.螺纹杆62的顶部固定连接有转动块7,转动螺纹杆62更省力。
21.两块张紧板64的相背端为弧形设置,便于张紧住卷布筒。
22.两块张紧板64的相背端均固定连接有橡胶垫8,不易打滑,固定效果更好。
23.固定机构6材料为不锈合金材质,使固定机构6不易上锈,增加固定机构6的使用寿命。
24.本实用新型中,将卷布筒插在两块张紧板64上,转动螺纹杆62,两块移动块63向相背方向移动,移动块63带动张紧板64移动,张紧板64将卷布筒张紧,启动驱动电机3,驱动电机3带动转动轴4转动,转动轴4带动转盘5转动,转盘5通过固定机构6带动卷布筒转动,卷布筒上的布料按一定速率展开,可以固定住不同直径的卷布筒,便于推广,防止卷布筒滑动,放出的布料张力一致,便于分切机分切,分切效果高。
25.以上所述,仅为本实用新型较佳的具体实施方式,但本实用新型的保护范围并不
局限于此,任何熟悉本技术领域的技术人员在本实用新型揭露的技术范围内,根据本实用新型的技术方案及其实用新型构思加以等同替换或改变,都应涵盖在本实用新型的保护范围之内。
技术特征:
1.一种无纺布分切机摩擦放卷机械装置,包括固定板(1),其特征在于,所述固定板(1)的顶部固定连接有支撑板(2),所述支撑板(2)的一侧固定连接有驱动电机(3),所述驱动电机(3)的输出端通过联轴器连接有转动轴(4),所述转动轴(4)通过第一轴承转动连接在支撑板(2)上,所述第一轴承固定设在支撑板(2)上,所述转动轴(4)远离驱动电机(3)的一端固定连接有转盘(5),所述转盘(5)连接有固定机构(6);所述固定机构(6)包括螺纹槽(61)、螺纹杆(62)、两块移动块(63)、两块张紧板(64)和两个螺纹孔(65),所述螺纹槽(61)开设在转盘(5)远离驱动电机(3)的一端,所述螺纹杆(62)的两端均通过第二轴承转动连接在螺纹槽(61)对应的侧壁上,且所述螺纹杆(62)为对称螺纹设置,所述第二轴承固定设在螺纹槽()槽壁上,所述螺纹杆(62)的顶部穿过对应的第二轴承内圈并向外延伸,两个所述螺纹孔(65)分别开设在对应的移动块(63)上,所述螺纹杆(62)穿过螺纹孔(65)并与螺纹孔(65)螺纹连接,两块张紧板(64)分别固定连接在对应的移动块(63)远离螺纹槽(61)槽底的一端。2.根据权利要求1所述的一种无纺布分切机摩擦放卷机械装置,其特征在于,所述螺纹杆(62)的顶部固定连接有转动块(7)。3.根据权利要求1所述的一种无纺布分切机摩擦放卷机械装置,其特征在于,两块所述张紧板(64)的相背端为弧形设置。4.根据权利要求1所述的一种无纺布分切机摩擦放卷机械装置,其特征在于,两块所述张紧板(64)的相背端均固定连接有橡胶垫(8)。5.根据权利要求1所述的一种无纺布分切机摩擦放卷机械装置,其特征在于,所述固定机构(6)材料为不锈合金材质。
技术总结
本实用新型涉及机械装置技术领域,且公开了一种无纺布分切机摩擦放卷机械装置,包括固定板,固定板的顶部固定连接有支撑板,支撑板的一侧固定连接有驱动电机,驱动电机通过联轴器连接有转动轴,转动轴通过第一轴承转动连接在支撑板上,第一轴承固定设在支撑板上,转动轴远离驱动电机的一端固定连接有转盘,转盘连接有固定机构,固定机构包括螺纹槽、螺纹杆、两块移动块、两块张紧板和两个螺纹孔,螺纹槽开设在转盘远离驱动电机的一端,螺纹杆的两端均通过第二轴承转动连接在螺纹槽对应的侧壁上。本实用新型可以固定住不同直径的卷布筒,便于推广,防止卷布筒滑动,放出的布料张力一致,便于分切机分切,分切效果高。分切效果高。分切效果高。
技术研发人员:郑思阳
受保护的技术使用者:泉州市深于蓝网络科技有限公司
技术研发日:2020.05.18
技术公布日:2021/7/8