
1.本实用新型涉及淋膜纸分切机技术领域,具体是一种淋膜纸分切机。
背景技术:
2.分切机是一种将宽幅纸张、云母带或薄膜分切成多条窄幅材料的机械设备,常用于造纸机械、电线电缆云母带及印刷包装机械。
3.经检索公开号为cn212146585u,公开了一种淋膜纸分切机,包括机体,所述机体从前到后依次包括输送机构和裁切机构,所述裁切机构包括第一电机,所述第一电机输出轴贯连接有护垫轴,所述护垫轴的上端设有裁切轴,所述裁切轴上焊接有滚刀,所述护垫轴后端设有与之相平行的第一橡胶滚筒,所述裁切轴后端设有与之相平行的第二橡胶滚筒,所述第二橡胶滚筒后端设有闸刀,所述闸刀上端设有闸刀柄,所述闸刀柄的两端通过螺栓连接两个有气缸,两个所述气缸通过螺栓固定在机体两侧。
4.这种上述专利以及背景技术中还存在很大的不足之处:
5.现有的一种淋膜纸分切机,大多数的张紧机构都是固定的,导致对淋膜纸的张紧效果不理想,进而影响对淋膜纸进行分切。
技术实现要素:
6.本实用新型的目的在于提供一种淋膜纸分切机,以解决上述背景技术中提出的问题。
7.本实用新型的技术方案是:一种淋膜纸分切机,包括底座,所述底座的顶部固定连接有两个支撑板,其中一个支撑板的一侧固定连接有l形板,l形板的一侧固定连接有驱动电机,驱动电机的输出端通过联轴器连接有驱动轴,两个支撑板相互靠近的一侧均开设有转动孔,驱动轴的一端依次贯穿两个转动孔,两个支撑板的一侧均开设有活动孔,两个活动孔内均转动连接有从动轴,驱动轴与从动轴上均键连接有转动齿轮,两个转动齿轮相啮合,驱动轴与从动轴上均固定套接有输送辊,两个支撑板相互靠近的一侧固定连接有安装板,安装板上安装有调节张紧机构,支撑板上安装有切割机构。
8.优选的,所述调节张紧机构包括开设于安装板顶部的螺纹孔,螺纹孔内螺接有螺纹杆,螺纹杆的底端转动连接有u形杆,u形杆的两个底端均开设有滑槽,两个滑槽内均滑动连接活动块,两个活动块相互靠近的一侧转动连接有张紧辊。
9.优选的,两个所述滑槽内均设有缓冲弹簧,缓冲弹簧的两端分别与u形杆和活动块固定连接。
10.优选的,所述u形杆的顶部固定连接有两个滑动柱,两个滑动柱的顶端均滑动连接有固定柱,两个固定柱的顶端固定连接于安装板的底部。
11.优选的,所述切割机构包括两个分别开设于两个支撑板相互靠近一侧的旋转孔,两个旋转孔内均转动连接有转动杆,转动杆上固定套接有两个切片两个支撑板相互靠近的一侧固定连接有固定板,固定板的顶部开设有两个刀槽,两个刀槽分别与两个切片相对应。
12.优选的,其中一个所述支撑板的一侧转动连接有转动圆柱,转动圆柱与转动杆的一端均固定套接有传动轮,两个传动轮上均张紧套接有传动带,转动圆柱上键连接有加速齿轮,加速齿轮与其中一个转动齿轮相啮合。
13.优选的,两个所述支撑板相互靠近的一侧固定连接有放卷筒,两个支撑板相互靠近的一侧均转动连接有两个相适配的压紧辊。
14.本实用新型通过改进在此提供一种淋膜纸分切机,与现有技术相比,具有如下改进及优点:
15.其一:本实用新型通过转动螺纹杆带动u形杆进行升降,u形杆升降带动滑动柱在固定柱内进行移动,在两个滑动柱的作用下,能够使得u形杆更稳定的进行移动,u形杆移动带动两个活动块进行升降,两个活动块升降带动张紧辊进行升降,在缓冲弹簧的弹力作用下,能够更好的对淋膜纸进行张紧,实现了对张紧机构进行调节,进而提高了张紧机构张紧效果;
16.其二:本实用新型通过驱动电机转动带动驱动轴进行转动,驱动轴转动通过两个转动齿轮带动从动轴进行转动,使得驱动轴和从动轴带动两个输送辊同步进行转动,两个输送辊转动能够对淋膜纸进行输送,其中一个转动齿轮转动带动加速齿轮和转动圆柱转动,转动圆柱通过传动带和两个传动轮带动转动杆和切片转动,实现了同一个动力源既能对淋膜纸进行输送,也能带动切片进行切割,更加节能环保。
附图说明
17.下面结合附图和实施例对本实用新型作进一步解释:
18.图1是本实用新型的立体结构示意图;
19.图2是本实用新型的另一视角立体结构示意图;
20.图3是本实用新型的调节张紧机构立体结构示意图;
21.图4是本实用新型的图2中a处立体结构示意图;
22.图5是本实用新型的u形杆和滑动柱配合的立体结构示意图。
23.附图标记说明:
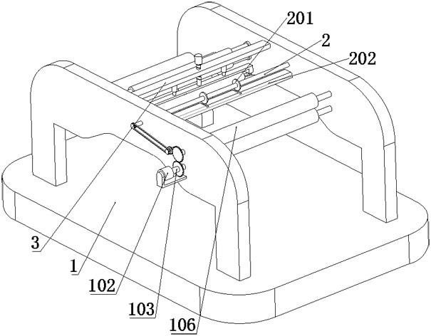
24.1、底座;101、支撑板;102、驱动电机;103、驱动轴;104、转动齿轮;105、从动轴;106、输送辊;107、放卷筒;108、压紧辊;2、转动杆;201、切片;202、固定板;203、传动轮;204、传动带;205、加速齿轮;3、安装板;301、螺纹杆;302、u形杆;303、滑动柱;304、固定柱;305、活动块;306、张紧辊;307、缓冲弹簧。
具体实施方式
25.下面对本实用新型进行详细说明,对本实用新型实施例中的技术方案进行清楚、完整地描述,显然,所描述的实施例仅仅是本实用新型一部分实施例,而不是全部的实施例。基于本实用新型中的实施例,本领域普通技术人员在没有做出创造性劳动前提下所获得的所有其他实施例,都属于本实用新型保护的范围。
26.本实用新型通过改进在此提供一种淋膜纸分切机,本实用新型的技术方案是:
27.如图1-图5所示,一种淋膜纸分切机,包括底座1,底座1的顶部固定连接有两个支撑板101,其中一个支撑板101的一侧固定连接有l形板,l形板的一侧固定连接有驱动电机
102,驱动电机102的输出端通过联轴器连接有驱动轴103,两个支撑板101相互靠近的一侧均开设有转动孔,驱动轴103的一端依次贯穿两个转动孔,两个支撑板101的一侧均开设有活动孔,两个活动孔内均转动连接有从动轴105,驱动轴103与从动轴105上均键连接有转动齿轮104,两个转动齿轮104相啮合,驱动轴103与从动轴105上均固定套接有输送辊106,两个支撑板101相互靠近的一侧固定连接有安装板3,安装板3上安装有调节张紧机构,支撑板101上安装有切割机构;借由上述结构,通过输送辊106的设置,输送辊106的材质为橡胶材质,实现了更好的进行输送。
28.进一步的,调节张紧机构包括开设于安装板3顶部的螺纹孔,螺纹孔内螺接有螺纹杆301,螺纹杆301的底端转动连接有u形杆302,u形杆302的两个底端均开设有滑槽,两个滑槽内均滑动连接活动块305,两个活动块305相互靠近的一侧转动连接有张紧辊306;借由上述结构,通过螺纹杆301的设置,实现了带动u形杆302进行升降。
29.进一步的,两个滑槽内均设有缓冲弹簧307,缓冲弹簧307的两端分别与u形杆302和活动块305固定连接;借由上述结构,通过缓冲弹簧307的设置,实现了更好的对淋膜纸进行张紧。
30.进一步的,u形杆302的顶部固定连接有两个滑动柱303,两个滑动柱303的顶端均滑动连接有固定柱304,两个固定柱304的顶端固定连接于安装板3的底部;借由上述结构,通过固定柱304的设置,与滑动柱303配合下,实现了u形杆302在移动过程中更加稳定。
31.进一步的,切割机构包括两个分别开设于两个支撑板101相互靠近一侧的旋转孔,两个旋转孔内均转动连接有转动杆2,转动杆2上固定套接有两个切片201两个支撑板101相互靠近的一侧固定连接有固定板202,固定板202的顶部开设有两个刀槽,两个刀槽分别与两个切片201相对应;借由上述结构,通过刀槽的设置,实现了对切片201进行保护。
32.进一步的,其中一个支撑板101的一侧转动连接有转动圆柱,转动圆柱与转动杆2的一端均固定套接有传动轮203,两个传动轮203上均张紧套接有传动带204,转动圆柱上键连接有加速齿轮205,加速齿轮205与其中一个转动齿轮104相啮合;借由上述结构,通过加速齿轮205的设置,起到了提高转速的效果。
33.进一步的,两个支撑板101相互靠近的一侧固定连接有放卷筒107,两个支撑板101相互靠近的一侧均转动连接有两个相适配的压紧辊108;借由上述结构,通过压紧辊108的设置,实现了对淋膜纸进行压紧,使得淋膜纸更好的进行输送。
34.工作原理:转动螺纹杆301带动u形杆302进行升降,u形杆302升降带动滑动柱303在固定柱304内进行移动,在两个滑动柱303的作用下,能够使得u形杆302更稳定的进行移动,u形杆302移动带动两个活动块305进行升降,两个活动块305升降带动张紧辊306进行升降,在缓冲弹簧307的弹力作用下,能够更好的对淋膜纸进行张紧,实现了对张紧机构进行调节,进而提高了张紧机构张紧效果。
35.驱动电机102转动带动驱动轴103进行转动,驱动轴103转动通过两个转动齿轮104带动从动轴105进行转动,使得驱动轴103和从动轴105带动两个输送辊106同步进行转动,两个输送辊106转动能够对淋膜纸进行输送,其中一个转动齿轮104转动带动加速齿轮205和转动圆柱转动,转动圆柱通过传动带204和两个传动轮203带动转动杆2和切片201转动,实现了同一个动力源既能对淋膜纸进行输送,也能带动切片201进行切割,更加节能环保。
技术特征:
1.一种淋膜纸分切机,包括底座(1),其特征在于:所述底座(1)的顶部固定连接有两个支撑板(101),其中一个支撑板(101)的一侧固定连接有l形板,l形板的一侧固定连接有驱动电机(102),驱动电机(102)的输出端通过联轴器连接有驱动轴(103),两个支撑板(101)相互靠近的一侧均开设有转动孔,驱动轴(103)的一端依次贯穿两个转动孔,两个支撑板(101)的一侧均开设有活动孔,两个活动孔内均转动连接有从动轴(105),驱动轴(103)与从动轴(105)上均键连接有转动齿轮(104),两个转动齿轮(104)相啮合,驱动轴(103)与从动轴(105)上均固定套接有输送辊(106),两个支撑板(101)相互靠近的一侧固定连接有安装板(3),安装板(3)上安装有调节张紧机构,支撑板(101)上安装有切割机构。2.根据权利要求1所述的一种淋膜纸分切机,其特征在于:所述调节张紧机构包括开设于安装板(3)顶部的螺纹孔,螺纹孔内螺接有螺纹杆(301),螺纹杆(301)的底端转动连接有u形杆(302),u形杆(302)的两个底端均开设有滑槽,两个滑槽内均滑动连接活动块(305),两个活动块(305)相互靠近的一侧转动连接有张紧辊(306)。3.根据权利要求2所述的一种淋膜纸分切机,其特征在于:两个所述滑槽内均设有缓冲弹簧(307),缓冲弹簧(307)的两端分别与u形杆(302)和活动块(305)固定连接。4.根据权利要求2所述的一种淋膜纸分切机,其特征在于:所述u形杆(302)的顶部固定连接有两个滑动柱(303),两个滑动柱(303)的顶端均滑动连接有固定柱(304),两个固定柱(304)的顶端固定连接于安装板(3)的底部。5.根据权利要求1所述的一种淋膜纸分切机,其特征在于:所述切割机构包括两个分别开设于两个支撑板(101)相互靠近一侧的旋转孔,两个旋转孔内均转动连接有转动杆(2),转动杆(2)上固定套接有两个切片(201)两个支撑板(101)相互靠近的一侧固定连接有固定板(202),固定板(202)的顶部开设有两个刀槽,两个刀槽分别与两个切片(201)相对应。6.根据权利要求5所述的一种淋膜纸分切机,其特征在于:其中一个所述支撑板(101)的一侧转动连接有转动圆柱,转动圆柱与转动杆(2)的一端均固定套接有传动轮(203),两个传动轮(203)上均张紧套接有传动带(204),转动圆柱上键连接有加速齿轮(205),加速齿轮(205)与其中一个转动齿轮(104)相啮合。7.根据权利要求1所述的一种淋膜纸分切机,其特征在于:两个所述支撑板(101)相互靠近的一侧固定连接有放卷筒(107),两个支撑板(101)相互靠近的一侧均转动连接有两个相适配的压紧辊(108)。
技术总结
本实用新型涉及淋膜纸分切机技术领域,具体是一种淋膜纸分切机,底座,所述底座的顶部固定连接有两个支撑板,其中一个支撑板的一侧固定连接有L形板,L形板的一侧固定连接有驱动电机,驱动电机的输出端通过联轴器连接有驱动轴,两个支撑板相互靠近的一侧均开设有转动孔;本实用新型能够通过转动螺纹杆带动U形杆进行升降,U形杆升降带动滑动柱在固定柱内进行移动,在两个滑动柱的作用下,能够使得U形杆更稳定的进行移动,U形杆移动带动两个活动块进行升降,两个活动块升降带动张紧辊进行升降,在缓冲弹簧的弹力作用下,能够更好的对淋膜纸进行张紧,实现了对张紧机构进行调节,进而提高了张紧机构张紧效果。而提高了张紧机构张紧效果。而提高了张紧机构张紧效果。
技术研发人员:张新东 李宝林
受保护的技术使用者:青州博睿包装印务有限公司
技术研发日:2022.02.22
技术公布日:2022/4/20