
本实用新型涉及薄膜生产领域,尤其涉及一种带防护装置的金属化薄膜分切机。
背景技术:
薄膜分切机可将:聚酯薄膜、镀铝薄膜、boppldpe、hdpe、lldpe、pp等薄膜。也可将云母带、pe分切成不同尺寸,广泛运用于包装及其他覆膜行业。
随着社会的发展,越来越多的产品需要用到金属薄膜,需要对其进行分切后使用,然而在分切的过程中或分切后会产生大量的碎屑,飘扬在空中会对工作环境造成影响。
技术实现要素:
为解决上述技术问题,本实用新型提供一种带防护装置的金属化薄膜分切机。
本实用新型采用如下技术方案:
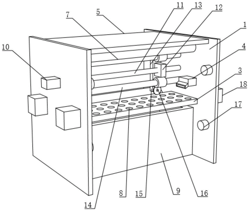
一种带防护装置的金属化薄膜分切机,包括支架,所述支架上设置有送料辊,所述送料辊的一侧设置有分切台,所述分切台的上方设置有分切机构,所述支架上还设置有鼓风机,所述鼓风机的出风口倾斜设置,并与所述分切台相对,所述支架之间还设置有防护板,所述防护板以及支架的表面包覆有滤布,所述防护板的底部固定设置有静电除尘棒,所述分切台上设置有多个通孔,所述分切台的下方还设置有收集槽,所述收集槽的侧壁顶端与所述分切台密封连接。
优选的,所述分切机构包括固定设置在所述支架上的驱动电机,所述驱动电机的输出轴连接有丝杠,所述丝杠上螺纹连接有滑动块,所述滑动块上设置有连接板,所述丝杠的两侧设置有限位杆,所述连接板的两侧通过滑套与所述限位杆连接,所述连接板的底部设置有分切电机,所述分切电机的输出轴连接有分切刀片。
优选的,所述防护板的表面包覆有滤布。
优选的,所述支架的两侧壁上还设置有多个雾化喷淋头,所述雾化喷淋头连接有供水装置。
优选的,所述供水装置包括设置在所述支架外壁上的供水箱,所述供水箱连接有增压泵,所述增压泵通过水管与所述雾化喷淋头相连通。
本实用新型具有以下有益效果:本实用新型的带防护装置的金属化薄膜分切机通过在分切机构的一侧设置有鼓风机,并且在顶部设置有带有滤布以及静电除尘棒的防护板,可以吸附分切后残留的碎屑,并且两侧的支架还可以作为挡板,减少碎屑的散播。
附图说明
下面结合附图对本实用新型作优选的说明:
图1为本实用新型整体结构示意图;
图2为本实用新型送料辊结构示意图;
图3为本实用新型滤布结构示意图。
图中标记为:1、支架;2、送料辊;3、分切台;4、鼓风机;5、防护板;6、滤布;7、静电除尘棒;8、通孔;9、收集槽;10、驱动电机;11、丝杠;12、滑动块;13、连接板;14、限位杆;15、分切电机;16、分切刀片;17、雾化喷淋头;18、供水箱。
具体实施方式
如图1-3所示,为本实用新型的一种带防护装置的金属化薄膜分切机,包括支架1,支架1上设置有送料辊2,送料辊2的一侧设置有分切台3,分切台3的上方设置有分切机构,支架1上还设置有鼓风机4,鼓风机4的出风口倾斜设置,并与分切台3相对,支架1之间还设置有防护板5,支架1的表面包覆有滤布6,防护板5的底部固定设置有静电除尘棒7,分切台3上设置有多个通孔8,分切台3的下方还设置有收集槽9,收集槽9的侧壁顶端与分切台3密封连接。
如图1和2所示,工作时,将薄膜通过送料辊2送至分切台3上,由分切机构对薄膜进行分切,分切完毕后,取走薄膜,由鼓风机4对分切台3表面进行吹扫,部分碎屑通过通孔8进入到收集槽9内,部分碎屑飘扬到顶部被静电除尘棒7除去,并且两侧的支架1还可以作为挡板,减少碎屑的散播,有效保护了工作环境。
分切机构包括固定设置在支架1上的驱动电机10,驱动电机10的输出轴连接有丝杠11,丝杠11上螺纹连接有滑动块12,滑动块12上设置有连接板13,丝杠11的两侧设置有限位杆14,连接板13的两侧通过滑套与限位杆14连接,连接板13的底部设置有分切电机15,分切电机15的输出轴连接有分切刀片16。
防护板5的表面包覆有滤布6,可以对静电除尘棒7未除去的碎屑进行进一步的吸附。
此外,支架1的两侧壁上还设置有多个雾化喷淋头17,雾化喷淋头17连接有供水装置,供水装置包括设置在支架1外壁上的供水箱18,供水箱18连接有增压泵,增压泵通过水管与雾化喷淋头17相连通,通过供水箱18提供水,从雾化喷淋头17喷出的水雾可以对飘扬的碎屑进行进一步的吸附。
以上仅为本实用新型的具体实施例,但本实用新型的技术特征并不局限于此。任何以本实用新型为基础,为解决基本相同的技术问题,实现基本相同的技术效果,所作出的简单变化、等同替换或者修饰等,皆涵盖于本实用新型的保护范围之中。
技术特征:
1.一种带防护装置的金属化薄膜分切机,其特征在于:包括支架(1),所述支架(1)上设置有送料辊(2),所述送料辊(2)的一侧设置有分切台(3),所述分切台(3)的上方设置有分切机构,所述支架(1)上还设置有鼓风机(4),所述鼓风机(4)的出风口倾斜设置,并与所述分切台(3)相对,所述支架(1)之间还设置有防护板(5),所述支架(1)的表面包覆有滤布(6),所述防护板(5)的底部固定设置有静电除尘棒(7),所述分切台(3)上设置有多个通孔(8),所述分切台(3)的下方还设置有收集槽(9),所述收集槽(9)的侧壁顶端与所述分切台(3)密封连接。
2.根据权利要求1所述的一种带防护装置的金属化薄膜分切机,其特征在于:所述分切机构包括固定设置在所述支架(1)上的驱动电机(10),所述驱动电机(10)的输出轴连接有丝杠(11),所述丝杠(11)上螺纹连接有滑动块(12),所述滑动块(12)上设置有连接板(13),所述丝杠(11)的两侧设置有限位杆(14),所述连接板(13)的两侧通过滑套与所述限位杆(14)连接,所述连接板(13)的底部设置有分切电机(15),所述分切电机(15)的输出轴连接有分切刀片(16)。
3.根据权利要求1所述的一种带防护装置的金属化薄膜分切机,其特征在于:所述防护板(5)的表面包覆有滤布(6)。
4.根据权利要求1所述的一种带防护装置的金属化薄膜分切机,其特征在于:所述支架(1)的两侧壁上还设置有多个雾化喷淋头(17),所述雾化喷淋头(17)连接有供水装置。
5.根据权利要求4所述的一种带防护装置的金属化薄膜分切机,其特征在于:所述供水装置包括设置在所述支架(1)外壁上的供水箱(18),所述供水箱(18)连接有增压泵,所述增压泵通过水管与所述雾化喷淋头(17)相连通。
技术总结
本实用新型公开了一种带防护装置的金属化薄膜分切机,涉及薄膜生产领域,包括支架,支架上设置有送料辊,送料辊的一侧设置有分切台,分切台的上方设置有分切机构,支架上还设置有鼓风机,鼓风机的出风口倾斜设置,并与分切台相对,支架之间还设置有防护板,防护板以及支架的表面包覆有滤布,防护板的底部固定设置有静电除尘棒,分切台上设置有多个通孔,分切台的下方还设置有收集槽,收集槽的侧壁顶端与分切台密封连接。本实用新型的带防护装置的金属化薄膜分切机通过在分切机构的一侧设置有鼓风机,并且在顶部设置有带有滤布以及静电除尘棒的防护板,可以吸附分切后残留的碎屑,并且两侧的支架还可以作为挡板,减少碎屑的散播。
技术研发人员:陈熙贯;陈银满;陈银平
受保护的技术使用者:江苏中立方实业有限公司
技术研发日:2020.09.28
技术公布日:2021.07.13