
1.本实用新型涉及分切机及技术领域,具体为一种牛皮纸生产用定米数分切机。
背景技术:
2.分切机是一种将宽幅纸张、云母带或薄膜分切成多条窄幅材料的机械设备,常用于造纸机械、电线电缆云母带及印刷包装机械;因此在牛皮纸制造行业中也经常被使用,而在牛皮纸生产过程中常常需要对牛皮纸进行定长或定米数切割,而现有技术中的分切机未带有这样的结构,因此降低了其在使用过程中的实用性。鉴于此,我们提出一种牛皮纸生产用定米数分切机。
技术实现要素:
3.为了弥补以上不足,本实用新型提供了一种牛皮纸生产用定米数分切机。
4.本实用新型的技术方案是:
5.一种牛皮纸生产用定米数分切机,包括最下方的底板,所述底板顶部中心处设有辅助部件,所述辅助部件右侧安装有割断部件;所述辅助部件包括前后对称固定连接在所述底板上的第二支撑板,两个第二支撑板之间转动连接有两个皮带轴,两个所述皮带轴上安装有若干等间距设置的传送带,两个所述第二支撑板内壁位于所述传送带上下两侧均安装有测速仪,前侧的所述第二支撑板外壁通过螺栓固定连接有第二伺服电机,所述第二伺服电机与其中一个所述皮带轴输出轴同轴固定;前侧的所述第二支撑板外壁上固定连接有定时器。
6.作为优选的技术方案,两个相邻的所述传送带之间设有固定环,所述固定环顶部中心处固定连接有切刀,所述固定环内部设有与前后两个所述第二支撑板均固定连接的固定板;所述第二支撑板顶部和底部均一体成型有若干个与固定环固定连接的延伸块,所述固定环与两个所述皮带轴均不接触。
7.作为优选的技术方案,所述第二支撑板顶部固定连接有顶板。
8.作为优选的技术方案,所述割断部件包括固定在所述顶板上的上安装板和固定在所述第二支撑板上的下安装板。
9.作为优选的技术方案,所述上安装板内部开设有限位槽并在所述限位槽下方开设有与所述限位槽连通的条形孔。
10.作为优选的技术方案,所述限位槽内转动连接有一个丝杆、滑动连接有一个活动块,所述活动块与所述丝杆螺纹连接,所述活动块底部固定连接有气缸。
11.作为优选的技术方案,所述上安装板前侧外壁上固定连接有一个驱动电机,所述驱动电机与所述丝杆同轴固定。
12.作为优选的技术方案,所述气缸底部固定连接有割刀,所述下安装板顶部开设有凹槽。
13.与现有技术相比,本实用新型的有益效果是:
14.本实用新型通过设置测速仪,并通过上方的测速仪测得通过传送带上的牛皮纸的速度,然后通过调节第二伺服电机的转速来调节传送带运动的速度,使得传送带的速度与牛皮纸的运动速度相等,即可以减少牛皮纸与传送带之间的摩擦,从而对牛皮纸进行一定的保护,当牛皮纸到达割刀正下方时启动定时器,根据所需米数除以牛皮纸运行速度可知收卷时间,当定时器达到指定时间后,停止收卷,并通过割断部件将牛皮纸切断即可以定长切割。
附图说明
15.图1为本实用新型的整体结构的左视图;
16.图2为本实用新型的整体结构的右视图;
17.图3为本实用新型中隔断部件的结构示意图;
18.图4为本实用新型中上安装板的截面图;
19.图5为本实用新型中辅助部件的结构示意图;
20.图6为本实用新型中传送带和皮带轴的结构示意图;
21.图7为本实用新型中固定环及其连接部件的结构示意图。
22.图中各个标号的意义为:
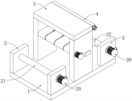
23.底板1;第一支撑板2;第一伺服电机20;进料辊21;出料辊22;辅助部件3;第二支撑板30;顶板31;固定环32;切刀33;传送带34;测速仪35;定时器36;第二伺服电机37;皮带轴38;固定板39;延伸块390;割断部件4;下安装板40;凹槽41;上安装板42;限位槽420;条形孔421;丝杆43;活动块44;气缸45;割刀46;驱动电机47。
具体实施方式
24.下面将结合本实用新型实施例中的附图,对本实用新型实施例中的技术方案进行清楚、完整地描述,显然,所描述的实施例仅仅是本实用新型一部分实施例,而不是全部的实施例。基于本实用新型中的实施例,本领域普通技术人员在没有做出创造性劳动前提下所获得的所有其他实施例,都属于本实用新型保护的范围。
25.在本实用新型的描述中,需要理解的是,术语“中心”、“纵向”、“横向”、“长度”、“宽度”、“厚度”、“上”、“下”、“前”、“后”、“左”、“右”、“竖直”、“水平”、“顶”、“底”、“内”、“外”、“顺时针”、“逆时针”等指示的方位或位置关系为基于附图所示的方位或位置关系,仅是为了便于描述本实用新型和简化描述,而不是指示或暗示所指的设备或元件必须具有特定的方位、以特定的方位构造和操作,因此不能理解为对本实用新型的限制。
26.请参阅图1-7,本实用新型提供一种技术方案:
27.一种牛皮纸生产用定米数分切机,包括最下方的底板1,底板1顶部中心处设有辅助部件3,辅助部件3右侧安装有割断部件4;辅助部件3包括前后对称固定连接在底板1上的第二支撑板30,两个第二支撑板30之间转动连接有两个皮带轴38,两个皮带轴38上安装有若干等间距设置的传送带34,两个第二支撑板30内壁位于传送带34上下两侧均安装有测速仪35,前侧的第二支撑板30外壁通过螺栓固定连接有第二伺服电机37,第二伺服电机37与其中一个皮带轴38输出轴同轴固定;前侧的第二支撑板30外壁上固定连接有定时器36。
28.需要补充的是,本实施例中的测速仪35采用的是非接触式的激光测速传感器,首
先通过上方的测速仪测得通过传送带34上的牛皮纸的速度,然后通过调节第二伺服电机37的转速来调节传送带34运动的速度,使得传送带34的速度与牛皮纸的运动速度相等,即可以减少牛皮纸与传送带34之间的摩擦,从而对牛皮纸进行一定的保护,当牛皮纸到达割刀46正下方时启动定时器36,根据所需米数除以牛皮纸运行速度可知收卷时间,当定时器36达到指定时间后,停止收卷,并通过割断部件4将牛皮纸切断即可以定长切割。
29.需要说明的是,本实施例中通过第二伺服电机37带动皮带轴38转动,从而带动传送带34进行转动,而牛皮纸在传送带34上运动的过程中可以经过切刀33记性分切。
30.作为本实施例的优选,两个相邻的传送带34之间设有固定环32,固定环32顶部中心处固定连接有切刀33,固定环32内部设有与前后两个第二支撑板30均固定连接的固定板39;第二支撑板30顶部和底部均一体成型有若干个与固定环32固定连接的延伸块390,固定环32与两个皮带轴38均不接触。
31.作为本实施例的优选,第二支撑板30顶部固定连接有顶板31。
32.作为本实施例的优选,割断部件4包括固定在顶板31上的上安装板42和固定在第二支撑板30上的下安装板40。
33.作为本实施例的优选,上安装板42内部开设有限位槽420并在限位槽420下方开设有与限位槽420连通的条形孔421。
34.作为本实施例的优选,限位槽420内转动连接有一个丝杆43、滑动连接有一个活动块44,活动块44与丝杆43螺纹连接,活动块44底部固定连接有气缸45。
35.作为本实施例的优选,上安装板42前侧外壁上固定连接有一个驱动电机47,驱动电机47与丝杆43同轴固定。
36.作为本实施例的优选,气缸45底部固定连接有割刀46,下安装板40顶部开设有凹槽41。
37.需要说明的是,在对牛皮纸进行割断时,由驱动电机47带动丝杆43转动,进而带动活动块44从后往前运动进而带动割刀46从后往前运动,进而可以对牛皮纸进行切割,在活动块44运动之前,需要通过气缸45将位于其底部的割刀46伸至与牛皮纸接触,即可以对牛皮纸进行切割。
38.需要补充的是,本实施例中的下安装板40采用的是橡胶材质,配合凹槽41可以对割刀46进行很好的保护。
39.需要补充的是,底板1顶部左右两侧均前后对称固定连接有两个第一支撑板2,左侧的两个第一支撑板2之间转动连接有进料辊21,右侧的两个第一支撑板2之间转动连接有出料辊22,位于前后同侧的两个第一支撑板2上均固定连接有一个第一伺服电机20,进料辊21和出料辊22均与第一伺服电机20同轴固定。
40.本实用新型的牛皮纸生产用定米数分切机在使用时,本实施例中的测速仪35采用的是非接触式的激光测速传感器,首先通过上方的测速仪测得通过传送带34上的牛皮纸的速度,然后通过调节第二伺服电机37的转速来调节传送带34运动的速度,使得传送带34的速度与牛皮纸的运动速度相等,即可以减少牛皮纸与传送带34之间的摩擦,从而对牛皮纸进行一定的保护,当牛皮纸到达割刀46正下方时启动定时器36,根据所需米数除以牛皮纸运行速度可知收卷时间,当定时器36达到指定时间后,停止收卷,并通过割断部件4将牛皮纸切断即可以定长切割;通过第二伺服电机37带动皮带轴38转动,从而带动传送带34进行
转动,而牛皮纸在传送带34上运动的过程中可以经过切刀33记性分切;在对牛皮纸进行割断时,由驱动电机47带动丝杆43转动,进而带动活动块44从后往前运动进而带动割刀46从后往前运动,进而可以对牛皮纸进行切割,在活动块44运动之前,需要通过气缸45将位于其底部的割刀46伸至与牛皮纸接触,即可以对牛皮纸进行切割。
41.以上显示和描述了本实用新型的基本原理、主要特征和本实用新型的优点。本行业的技术人员应该了解,本实用新型不受上述实施例的限制,上述实施例和说明书中描述的仅为本实用新型的优选例,并不用来限制本实用新型,在不脱离本实用新型精神和范围的前提下,本实用新型还会有各种变化和改进,这些变化和改进都落入要求保护的本实用新型范围内。本实用新型要求保护范围由所附的权利要求书及其等效物界定。
技术特征:
1.一种牛皮纸生产用定米数分切机,包括最下方的底板(1),其特征在于:所述底板(1)顶部中心处设有辅助部件(3),所述辅助部件(3)右侧安装有割断部件(4);所述辅助部件(3)包括前后对称固定连接在所述底板(1)上的第二支撑板(30),两个第二支撑板(30)之间转动连接有两个皮带轴(38),两个所述皮带轴(38)上安装有若干等间距设置的传送带(34),两个所述第二支撑板(30)内壁位于所述传送带(34)上下两侧均安装有测速仪(35),前侧的所述第二支撑板(30)外壁通过螺栓固定连接有第二伺服电机(37),所述第二伺服电机(37)与其中一个所述皮带轴(38)输出轴同轴固定;前侧的所述第二支撑板(30)外壁上固定连接有定时器(36)。2.如权利要求1所述的牛皮纸生产用定米数分切机,其特征在于:两个相邻的所述传送带(34)之间设有固定环(32),所述固定环(32)顶部中心处固定连接有切刀(33),所述固定环(32)内部设有与前后两个所述第二支撑板(30)均固定连接的固定板(39);所述第二支撑板(30)顶部和底部均一体成型有若干个与固定环(32)固定连接的延伸块(390),所述固定环(32)与两个所述皮带轴(38)均不接触。3.如权利要求2所述的牛皮纸生产用定米数分切机,其特征在于:所述第二支撑板(30)顶部固定连接有顶板(31)。4.如权利要求3所述的牛皮纸生产用定米数分切机,其特征在于:所述割断部件(4)包括固定在所述顶板(31)上的上安装板(42)和固定在所述第二支撑板(30)上的下安装板(40)。5.如权利要求4所述的牛皮纸生产用定米数分切机,其特征在于:所述上安装板(42)内部开设有限位槽(420)并在所述限位槽(420)下方开设有与所述限位槽(420)连通的条形孔(421)。6.如权利要求5所述的牛皮纸生产用定米数分切机,其特征在于:所述限位槽(420)内转动连接有一个丝杆(43)、滑动连接有一个活动块(44),所述活动块(44)与所述丝杆(43)螺纹连接,所述活动块(44)底部固定连接有气缸(45)。7.如权利要求6所述的牛皮纸生产用定米数分切机,其特征在于:所述上安装板(42)前侧外壁上固定连接有一个驱动电机(47),所述驱动电机(47)与所述丝杆(43)同轴固定。8.如权利要求6所述的牛皮纸生产用定米数分切机,其特征在于:所述气缸(45)底部固定连接有割刀(46),所述下安装板(40)顶部开设有凹槽(41)。
技术总结
本实用新型公开了一种牛皮纸生产用定米数分切机,包括最下方的底板,所述底板顶部中心处设有辅助部件,所述辅助部件右侧安装有割断部件;通过上方的测速仪测得通过传送带上的牛皮纸的速度,然后通过调节第二伺服电机的转速来调节传送带运动的速度,使得传送带的速度与牛皮纸的运动速度相等,即可以减少牛皮纸与传送带之间的摩擦,从而对牛皮纸进行一定的保护,当牛皮纸到达割刀正下方时启动定时器,根据所需米数除以牛皮纸运行速度可知收卷时间,当定时器达到指定时间后,停止收卷,并通过割断部件将牛皮纸切断即可以定长切割。断部件将牛皮纸切断即可以定长切割。断部件将牛皮纸切断即可以定长切割。
技术研发人员:王敏英 范利剑 王记英
受保护的技术使用者:张家港保税区顺强包装材料有限公司
技术研发日:2022.01.13
技术公布日:2022/7/8