
本实用新型涉及除尘装置技术领域,尤其涉及一种带有除尘装置的复卷机。
背景技术:
复卷机一般用于:云母带、纸张、薄膜的复卷分切、起到一切为二的作用,常用于将宽幅的卷材分切、更为后续的再次分切起到了重要的作用、是一种用于纸类、云母带、薄膜专用设备。
而纸张在复卷过程中,其表面的粉尘会随着纸张的移动而飘散在复卷机的四周,而且现有技术中在复卷机的四周没有设置对粉尘处理的装置,随着粉尘浓度的增加,而复卷机周围的工作人员通过呼吸会吸收粉尘,用于对工作人员的健康造成伤害。
技术实现要素:
本实用新型的目的是为了解决现有技术中存在的缺点,而提出的一种带有除尘装置的复卷机。
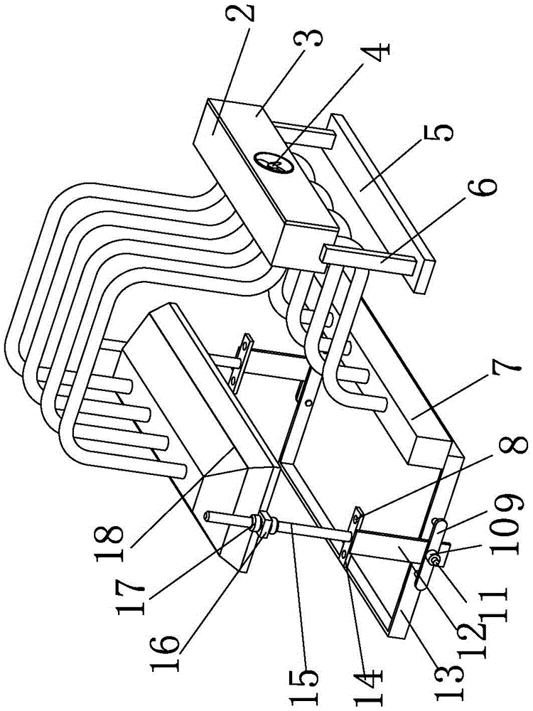
为达到以上目的,本实用新型采用的技术方案为:一种带有除尘装置的复卷机,包括两个底板,两个所述底板的上方设有第二罩体,所述第二罩体和两个底板之间均安装有调节机构,所述调节机构包括上第二螺杆,所述第二螺杆的一端通过螺钉连接在底板的顶部,所述第二螺杆的另一端套设有活动块,所述第二螺杆的表面螺纹套设有两个第二螺管,两个所述第二螺管的端部分别与活动块的上下表面接触,所述活动块的侧面通过螺钉安装在第二罩体的外部,所述第二罩体的一侧设有存储箱,所述存储箱的底部设有支撑机构,所述第二罩体和存储箱之间通过输气软管连接,两个所述底板的表面通过连接机构安装有储灰盒,所述储灰盒的侧面通过螺钉安装有第一罩体,所述第一罩体和存储箱之间通过输气软管连接,所述存储箱的侧面开设有开口,所述存储箱的侧面通过螺钉安装有与开口位置对应的箱板,所述箱板的侧面贯穿安装有排风扇,所述箱板的侧面焊接有框体,所述框体位于箱板的内部,所述框体的内部匹配焊接有滤网。
优选的,所述支撑机构包括两个支撑杆,两个所述支撑杆均焊接在存储箱的两个对称侧面,两个所述支撑杆的底端焊接有底座。
优选的,两个所述底板的两端均开设有对称排列的安装孔,所述安装孔为螺纹孔。
优选的,所述连接机构包括支撑板,所述支撑板的一端通过螺钉连接在底板的表面,所述支撑板的底端焊接有第一螺杆,所述第一螺杆的表面套设有长条板,所述长条板的两端均焊接有插杆,两个所述插杆的一端均贯穿安装在储灰盒的内壁中,所述第一螺杆的一端螺纹连接有第一螺杆管,所述第一螺杆管的侧面与长条板的侧面接触。
优选的,所述存储箱的侧面粘接有密封橡胶垫,所述密封橡胶垫沿着开口的四周排列,所述箱板的侧面与密封橡胶垫的表面接触。
与现有技术相比,本实用新型具有以下有益效果:
本实用新型通过设置排风扇、第一罩体、第二罩体和存储箱,随着排风扇的工作带动气体的流动,便于外界气体分别从第一罩体和第二罩体再经输气软管输送至存储箱的内部,随着气体的流动,气体带动纸张上掉落的粉尘一同流入存储箱的内部,而存储箱内部设置滤网,滤网用于将粉尘过滤,进而方便将粉尘存储在存储箱内部,防止粉尘扩散在复卷机的四周,用于提高复卷机四周环境的洁净度;
本实用新型通过设置调节机构,用于对第二罩体的高度进行调节,进而方便调节第二罩体和纸张之间的距离,用于根据安装在不同位置调节第二罩体和纸张之间的距离,方便了对纸张上的粉尘进行吸附处理;
本实用新型通过设置储灰盒和第一罩体,储灰盒用于存储从纸张底部掉落的粉尘,而第二罩体供气体流动,用于方便第二罩体四周的粉尘输送至存储箱的内部,进而方便对纸张下方的粉尘进行清理。
附图说明
图1为本实用新型的一种带有除尘装置的复卷机的第一轴测图;
图2为本实用新型的一种带有除尘装置的复卷机的第二轴测图;
图3为本实用新型的一种带有除尘装置的复卷机的箱板和滤网连接结构示意图。
图中:框体1、存储箱2、箱板3、排风扇4、底座5、支撑杆6、第一罩体7、安装孔8、长条板9、第一螺杆管10、第一螺杆11、支撑板12、储灰盒13、底板14、第二螺杆15、活动块16、第二螺管17、第二罩体18、插杆19、滤网20。
具体实施方式
以下描述用于揭露本实用新型以使本领域技术人员能够实现本实用新型。以下描述中的优选实施例只作为举例,本领域技术人员可以想到其他显而易见的变型。
如图1-3所示的一种带有除尘装置的复卷机,包括两个底板14,两个底板14的上方设有第二罩体18,两个底板14的两端均开设有对称排列的安装孔8,安装孔8为螺纹孔,在将该除尘装置安装的过程中,通过将两个底板14的底部放置在复卷机两个机架的顶部,接着使用螺钉将安装板14固定在机架的顶部,随着安装板14位置的固定,用于提高两个第二螺杆15安装在复卷机上的稳定性。
第二罩体18和两个底板14之间均安装有调节机构,调节机构包括第二螺杆15,第二螺杆15的一端通过螺钉连接在底板14的顶部,第二螺杆15的另一端套设有活动块16,第二螺杆15的表面螺纹套设有两个第二螺管17,两个第二螺管17的端部分别与活动块16的上下表面接触,活动块16的侧面通过螺钉安装在第二罩体18的外部,第二罩体18的一侧设有存储箱2,在对第二罩体18和纸张之间的高度调节的过程中,通过同时转动两个第二螺管17,随着两个第二螺管17同时在第二螺杆15的表面螺纹滑动,便于带动活动块16在第二螺杆15的表面滑动,而活动块16的移动,用于带动第二罩体18的移动,进而方便调节第二罩体18和纸张之间的距离,方便了对纸张上方的粉尘进行吸收。
存储箱2的底部设有支撑机构,支撑机构包括两个支撑杆6,两个支撑杆6均焊接在存储箱2的两个对称侧面,两个支撑杆6的底端焊接有底座5,两个支撑杆6用于对存储箱2起到支撑的作用,进而方便输气软管和存储箱2连接,而且底座5的设置,底座5的底部与地面的接触大于两个支撑杆6与地面接触的面积,进而提高存储箱2所处位置的稳定性。
第二罩体18和存储箱2之间通过输气软管连接,两个底板14的表面通过连接机构安装有储灰盒13,连接机构包括支撑板12,支撑板12的一端通过螺钉连接在底板14的表面,支撑板12的底端焊接有第一螺杆11,第一螺杆11的表面套设有长条板9,长条板9的两端均焊接有插杆19,两个插杆19的一端均贯穿安装在储灰盒13的内壁中,第一螺杆11的一端螺纹连接有第一螺杆管10,第一螺杆管10的侧面与长条板9的侧面接触,随着底板14和机架连接固定后,通过螺钉将两个支撑板12和两个底板14连接固定,接着将储灰盒13放置在两个支撑板12之间,通过转动螺管10,螺管10在第一螺杆11的表面螺纹转动,随着螺管10的移动,螺管10推动长条板9,而长条板9推动两个插杆19插接在储灰盒13的内壁中,用于完成该连接机构与储灰盒13之间的连接固定,在两个连接机构均通过上述方式和储灰盒13连接固定后,即可完成储灰盒13位置的固定。
在将储灰盒13拆卸时,只需转动两个第一螺杆管10,在将两个第一螺杆管10分别从两个第一螺杆11上转出后,即可拉动两个长条板9,将两个长条板9分别从第一螺杆11上拆下后,即可将插杆19从储灰盒13中移出,提高了操作的便捷性。
储灰盒13在安装完成后,存储盒13位于纸张的下方,使得第一罩体7同样位于纸张的下方,而第二罩体18位于纸张的上方,因此,第一罩体7和第二罩体18分别对纸张的下方和上方漂浮的粉尘进行处理,用于提高复卷机四周工作环境的洁净度。
储灰盒13的侧面通过螺钉安装有第一罩体7,第一罩体7和存储箱2之间通过输气软管连接,存储箱2的侧面开设有开口,存储箱2的侧面通过螺钉安装有与开口位置对应的箱板3,存储箱2的侧面粘接有密封橡胶垫,密封橡胶垫沿着开口的四周排列,箱板3的侧面与密封橡胶垫的表面接触,密封橡胶垫用于提高存储箱2和箱板3之间连接的密封性,进而防止外界气体从存储箱2和箱板3之间缝隙处流入,进而提高气体流动时的稳定性。
箱板3的侧面贯穿安装有排风扇4,排风扇4通过导线与按钮开关连接,接着将按钮开关通过电源线与外界电源连接,通过操控按钮开关,排风扇4通电后工作,随着排风扇4的工作,排风扇4带动气体的流动,随着气体的流动,气体带动粉尘分别从第一罩体7和第二罩体18流入存储箱2的内部,进而方便粉尘积存在存储箱2的内部。
输气软管的设置,便于存储箱2的位置变换,同时方便气体流出存储箱2的内部,用于提高存储箱吸收粉尘的稳定性,因此,方便了纸张从第一罩体7和第二罩体18之间穿过。
箱板3的侧面焊接有框体1,框体1位于箱板3的内部,框体1的内部匹配焊接有滤网20,框体1用于供滤网20的安装,提高了滤网20所处位置的稳定性,滤网20用于对气体中的粉尘进行过滤处理,进而将粉尘通过滤网20阻挡在存储箱2的内部,进而方便粉尘积存在存储箱2的内部,方便了粉尘的收集和处理。
以上显示和描述了本实用新型的基本原理、主要特征和本实用新型的优点。本行业的技术人员应该了解,本实用新型不受上述实施例的限制,上述实施例和说明书中描述的只是本实用新型的原理,在不脱离本实用新型精神和范围的前提下本实用新型还会有各种变化和改进,这些变化和改进都落入要求保护的本实用新型的范围内。本实用新型要求的保护范围由所附的权利要求书及其等同物界定。
技术特征:
1.一种带有除尘装置的复卷机,包括两个底板(14),其特征在于,两个所述底板(14)的上方设有第二罩体(18),所述第二罩体(18)和两个底板(14)之间均安装有调节机构,所述调节机构包括上第二螺杆(15),所述第二螺杆(15)的一端通过螺钉连接在底板(14)的顶部,所述第二螺杆(15)的另一端套设有活动块(16),所述第二螺杆(15)的表面螺纹套设有两个第二螺管(17),两个所述第二螺管(17)的端部分别与活动块(16)的上下表面接触,所述活动块(16)的侧面通过螺钉安装在第二罩体(18)的外部,所述第二罩体(18)的一侧设有存储箱(2),所述存储箱(2)的底部设有支撑机构,所述第二罩体(18)和存储箱(2)之间通过输气软管连接,两个所述底板(14)的表面通过连接机构安装有储灰盒(13),所述储灰盒(13)的侧面通过螺钉安装有第一罩体(7),所述第一罩体(7)和存储箱(2)之间通过输气软管连接,所述存储箱(2)的侧面开设有开口,所述存储箱(2)的侧面通过螺钉安装有与开口位置对应的箱板(3),所述箱板(3)的侧面贯穿安装有排风扇(4),所述箱板(3)的侧面焊接有框体(1),所述框体(1)位于箱板(3)的内部,所述框体(1)的内部匹配焊接有滤网(20)。
2.根据权利要求1所述的一种带有除尘装置的复卷机,其特征在于,所述支撑机构包括两个支撑杆(6),两个所述支撑杆(6)均焊接在存储箱(2)的两个对称侧面,两个所述支撑杆(6)的底端焊接有底座(5)。
3.根据权利要求1所述的一种带有除尘装置的复卷机,其特征在于,两个所述底板(14)的两端均开设有对称排列的安装孔(8),所述安装孔(8)为螺纹孔。
4.根据权利要求1所述的一种带有除尘装置的复卷机,其特征在于,所述连接机构包括支撑板(12),所述支撑板(12)的一端通过螺钉连接在底板(14)的表面,所述支撑板(12)的底端焊接有第一螺杆(11),所述第一螺杆(11)的表面套设有长条板(9),所述长条板(9)的两端均焊接有插杆(19),两个所述插杆(19)的一端均贯穿安装在储灰盒(13)的内壁中,所述第一螺杆(11)的一端螺纹连接有第一螺杆管(10),所述第一螺杆管(10)的侧面与长条板(9)的侧面接触。
5.根据权利要求1所述的一种带有除尘装置的复卷机,其特征在于,所述存储箱(2)的侧面粘接有密封橡胶垫,所述密封橡胶垫沿着开口的四周排列,所述箱板(3)的侧面与密封橡胶垫的表面接触。
技术总结
本实用新型涉及除尘装置技术领域,尤其是一种带有除尘装置的复卷机,包括两个底板,两个所述底板的上方设有第二罩体,所述第二罩体和两个底板之间均安装有调节机构,所述调节机构包括第二螺杆,所述第二螺杆的一端通过螺钉连接在底板的顶部。本实用新型通过设置排风扇、第一罩体、第二罩体和存储箱,随着排风扇的工作带动气体的流动,便于外界气体分别从第一罩体和第二罩体再经输气软管输送至存储箱的内部,随着气体的流动,气体带动纸张上掉落的粉尘一同流入存储箱的内部,而存储箱内部设置滤网,滤网用于将粉尘过滤,进而方便将粉尘存储在存储箱内部,防止粉尘扩散在复卷机的四周,用于提高复卷机四周环境的洁净度。
技术研发人员:牛浩蒙;李伟东;房瑜
受保护的技术使用者:山东海天造纸机械有限公司
技术研发日:2020.08.24
技术公布日:2021.06.11