
本实用新型涉及分切机领域,具体涉及一种单张分切机。
背景技术:
分切机是一种将宽幅纸张、云母带或薄膜分切成多条窄幅材料的机械设备,常用于造纸机械、电线电缆云母带及印刷包装机械,分切机主要的运用于,无纺布、云母带、纸张、绝缘材料及各种薄膜材料分切、特别适宜于窄带(无纺布,纸张,绝缘材料、云母带、薄膜等等)的分切。
但是其在实际使用时,传统的分切机无法精切的对分割刀具切分的深度进行有限调节来保障分切厚度的精度,导致对产品切割厚度切割效果差,同时在分切时,需要根据不同厚度的产品进行夹固推动,需要工人进行手动调节,费时费力。
因此,发明一种单张分切机来解决上述问题很有必要。
技术实现要素:
本实用新型的目的是提供一种单张分切机,通过设置上滚轮、下滚轮、主调节杆与副调节杆,便于根据所需不同的切割厚度尺寸进行切割,提升切割效果,便于根据不同厚度的产品带进行有效的固定与推送,通过设置卡块,便于对切刀片进行有效的固定,省时省力,避免在切刀片损坏时将整体更换的情况,节约生产成本,以解决技术中的上述不足之处。
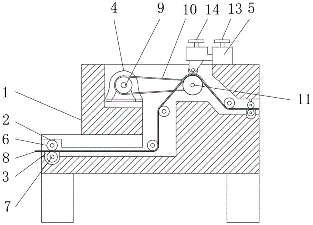
为了实现上述目的,本实用新型提供如下技术方案:一种单张分切机,包括机架,所述机架的一侧安装有推杆,所述机架一侧位于推杆的底端安装有步进电机,所述机架的顶端安装有主电机,所述机架顶端位于主电机的一侧安装有固定块,所述推杆的底端连接有上滚轮,所述步进电机的输出端连接有下滚轮,所述下滚轮的顶端放置有产品带,所述主电机的输出端连接有主转轮,所述主转轮的外壁连接有传动带,所述传动带的一端内侧连接有副转轮,所述固定块的内壁安装有主移动块,所述固定块的顶端连接有主调节杆,所述主移动块的顶端连接有副调节杆,所述副调节杆的底端连接有副移动块,所述副移动块的一侧连接有安装杆,所述安装杆的外壁连接有切刀片,所述安装杆的一侧连接有第一弹簧,所述安装杆的两侧均安装有卡块,所述卡块的内侧连接有第二弹簧。
优选的,所述主电机通过螺栓固定在机架的顶端,所述固定块焊接在机架的顶端。
优选的,所述主电机的输出端通过转轴与主转轮转动连接,所述推杆通过螺栓固定在机架的一侧。
优选的,所述步进电机通过螺栓固定在机架的一侧,所述步进电机的输出端通过转轴与下滚轮转动连接。
优选的,所述主移动块在与主调节杆相接触的位置设置有与主调节杆外壁相匹配的螺纹结构,所述副移动块在与副调节杆相接触的位置设置有与副调节杆相匹配的螺纹结构。
优选的,所述安装杆焊接在副移动块一侧,所述第二弹簧通过螺栓固定在卡块的一端。
在上述技术方案中,本实用新型提供的技术效果和优点:
1、通过设置上滚轮、下滚轮、主调节杆与副调节杆,在使用该装置时,根据所需产品带的切割厚度先转动主调节杆推动主移动块移动至大致位置,再转动副调节杆推动副移动块移动至所需切割的厚度位置,控制推杆推动上滚轮至与产品带厚度相同的位置,此时控制步进电机带动下滚轮进行转动,推动产品带向前运动进行,同时控制主电机进行转动,通过主转轮与传动带带动副转轮进行转动,从而带动产品带进行运动,从而对产品带进行精确的切割,便于根据所需不同的切割厚度尺寸进行切割,提升切割效果,便于根据不同厚度的产品带进行有效的固定与推送;
2、通过设置卡块,在使用该装置时,在长时间使用后,切刀片会出现磨损需要更换时,通过用手推动卡块一端,使卡块进入安装杆内部,切刀片在第一弹簧弹力的作用下弹出,再将新的切刀片用力按在的一端,第一弹簧在弹力的作用下对切刀片进行固定,便于对切刀片进行有效的固定,省时省力,避免在切刀片损坏时将整体更换的情况,节约生产成本。
附图说明
为了更清楚地说明本申请实施例或现有技术中的技术方案,下面将对实施例中所需要使用的附图作简单地介绍,显而易见地,下面描述中的附图仅仅是本实用新型中记载的一些实施例,对于本领域普通技术人员来讲,还可以根据这些附图获得其他的附图。
图1为本实用新型的结构示意图;
图2为本实用新型的俯视图;
图3为本实用新型的固定块的结构示意图;
图4为本实用新型的推杆结构示意图;
图5为本实用新型的安装杆结构示意图。
附图标记说明:
1机架、2推杆、3步进电机、4主电机、5固定块、6上滚轮、7下滚轮、8产品带、9主转轮、10传动带、11副转轮、12主移动块、13主调节杆、14副调节杆、15副移动块、16安装杆、17切刀片、18第一弹簧、19卡块、20第二弹簧。
具体实施方式
为了使本领域的技术人员更好地理解本实用新型的技术方案,下面将结合附图对本实用新型作进一步的详细介绍。
本实用新型提供了如图1-5所示的一种单张分切机,包括机架1,所述机架1的一侧安装有推杆2,所述机架1一侧位于推杆2的底端安装有步进电机3,所述机架1的顶端安装有主电机4,所述机架1顶端位于主电机4的一侧安装有固定块5,所述推杆2的底端连接有上滚轮6,所述步进电机3的输出端连接有下滚轮7,所述下滚轮7的顶端放置有产品带8,所述主电机4的输出端连接有主转轮9,所述主转轮9的外壁连接有传动带10,所述传动带10的一端内侧连接有副转轮11,所述固定块5的内壁安装有主移动块12,所述固定块5的顶端连接有主调节杆13,所述主移动块12的顶端连接有副调节杆14,所述副调节杆14的底端连接有副移动块15,所述副移动块15的一侧连接有安装杆16,所述安装杆16的外壁连接有切刀片17,所述安装杆16的一侧连接有第一弹簧18,所述安装杆16的两侧均安装有卡块19,所述卡块19的内侧连接有第二弹簧20。
进一步的,在上述技术方案中,所述主电机4通过螺栓固定在机架1的顶端,便于主电机4的安装与固定,所述固定块5焊接在机架1的顶端,便于增强固定块5与机架1之间的稳固性。
进一步的,在上述技术方案中,所述主电机4的输出端通过转轴与主转轮9转动连接,便于主电机4对主转轮9的动力传输,所述推杆2通过螺栓固定在机架1的一侧,便于推杆2的安装与固定。
实施方式具体为:在使用该装置时,根据所需产品带8的切割厚度先转动主调节杆13推动主移动块12移动至大致位置,再转动副调节杆14推动副移动块15移动至所需切割的厚度位置,控制推杆2推动上滚轮6至与产品带厚度相同的位置,此时控制步进电机3带动下滚轮7进行转动,推动产品带8向前运动进行,同时控制主电机4进行转动,通过主转轮9与传动带10带动副转轮11进行转动,从而带动产品带8进行运动,从而对产品带进行精确的切割,便于根据所需不同的切割厚度尺寸进行切割,提升切割效果,便于根据不同厚度的产品带进行有效的固定与推送,该实施方式具体解决了现有技术中存在的传统的分切机无法精切的对分割刀具切分的深度进行有限调节来保障分切厚度的精度,导致对产品切割厚度切割效果差问题。
如图1-5所示:所述步进电机3通过螺栓固定在机架1的一侧,便于步进电机3的安装与固定,所述步进电机3的输出端通过转轴与下滚轮7转动连接,便于步进电机3对下滚轮7的动力传动。
进一步的,在上述技术方案中,所述主移动块12在与主调节杆13相接触的位置设置有与主调节杆13外壁相匹配的螺纹结构,便于主调节杆13对主移动块12的动力传动,所述副移动块15在与副调节杆14相接触的位置设置有与副调节杆14相匹配的螺纹结构,便于副调节杆14对副移动块15的动力传动。
进一步的,在上述技术方案中,所述安装杆16焊接在副移动块15一侧,便于增强安装杆16与移动块15之间的稳固性,所述第二弹簧20通过螺栓固定在卡块19的一端,便于第二弹簧20位置的固定。
实施方式具体为:在使用该装置时,在长时间使用后,切刀片17会出现磨损需要更换时,通过用手推动卡块19一端,使卡块19进入安装杆16内部,切刀片17在第一弹簧18弹力的作用下弹出,再将新的切刀片17用力按在16的一端,第一弹簧18在弹力的作用下对切刀片17进行固定,便于对切刀片17进行有效的固定,省时省力,避免在切刀片17损坏时将整体更换的情况,节约生产成本,该实施方式具体解决了现有技术中存在的切刀片17不便于安装与拆卸的问题。
本实用工作原理:
参照说明书附图1-5,在使用该装置时,根据所需产品带8的切割厚度先转动主调节杆13推动主移动块12移动至大致位置,再转动副调节杆14推动副移动块15移动至所需切割的厚度位置,控制推杆2推动上滚轮6至与产品带厚度相同的位置,此时控制步进电机3带动下滚轮7进行转动,推动产品带8向前运动进行,同时控制主电机4进行转动,通过主转轮9与传动带10带动副转轮11进行转动,从而带动产品带8进行运动,从而对产品带进行精确的切割;
参照说明书附图1-5,在使用该装置时,在长时间使用后,切刀片17会出现磨损需要更换时,通过用手推动卡块19一端,使卡块19进入安装杆16内部,切刀片17在第一弹簧18弹力的作用下弹出,再将新的切刀片17用力按在16的一端,第一弹簧18在弹力的作用下对切刀片17进行固定。
以上只通过说明的方式描述了本实用新型的某些示范性实施例,毋庸置疑,对于本领域的普通技术人员,在不偏离本实用新型的精神和范围的情况下,可以用各种不同的方式对所描述的实施例进行修正。因此,上述附图和描述在本质上是说明性的,不应理解为对本实用新型权利要求保护范围的限制。
技术特征:
1.一种单张分切机,包括机架(1),其特征在于:所述机架(1)的一侧安装有推杆(2),所述机架(1)一侧位于推杆(2)的底端安装有步进电机(3),所述机架(1)的顶端安装有主电机(4),所述机架(1)顶端位于主电机(4)的一侧安装有固定块(5),所述推杆(2)的底端连接有上滚轮(6),所述步进电机(3)的输出端连接有下滚轮(7),所述下滚轮(7)的顶端放置有产品带(8),所述主电机(4)的输出端连接有主转轮(9),所述主转轮(9)的外壁连接有传动带(10),所述传动带(10)的一端内侧连接有副转轮(11),所述固定块(5)的内壁安装有主移动块(12),所述固定块(5)的顶端连接有主调节杆(13),所述主移动块(12)的顶端连接有副调节杆(14),所述副调节杆(14)的底端连接有副移动块(15),所述副移动块(15)的一侧连接有安装杆(16),所述安装杆(16)的外壁连接有切刀片(17),所述安装杆(16)的一侧连接有第一弹簧(18),所述安装杆(16)的两侧均安装有卡块(19),所述卡块(19)的内侧连接有第二弹簧(20)。
2.根据权利要求1所述的一种单张分切机,其特征在于:所述主电机(4)通过螺栓固定在机架(1)的顶端,所述固定块(5)焊接在机架(1)的顶端。
3.根据权利要求1所述的一种单张分切机,其特征在于:所述主电机(4)的输出端通过转轴与主转轮(9)转动连接,所述推杆(2)通过螺栓固定在机架(1)的一侧。
4.根据权利要求1所述的一种单张分切机,其特征在于:所述步进电机(3)通过螺栓固定在机架(1)的一侧,所述步进电机(3)的输出端通过转轴与下滚轮(7)转动连接。
5.根据权利要求1所述的一种单张分切机,其特征在于:所述主移动块(12)在与主调节杆(13)相接触的位置设置有与主调节杆(13)外壁相匹配的螺纹结构,所述副移动块(15)在与副调节杆(14)相接触的位置设置有与副调节杆(14)相匹配的螺纹结构。
6.根据权利要求1所述的一种单张分切机,其特征在于:所述安装杆(16)焊接在副移动块(15)一侧,所述第二弹簧(20)通过螺栓固定在卡块(19)的一端。
技术总结
本实用新型公开了一种单张分切机,包括机架,所述机架的一侧安装有推杆,所述机架一侧位于推杆的底端安装有步进电机,所述机架的顶端安装有主电机,所述机架顶端位于主电机的一侧安装有固定块,所述推杆的底端连接有上滚轮,所述步进电机的输出端连接有下滚轮。本实用新型通过设置上滚轮、下滚轮、主调节杆与副调节杆,在使用该装置时,根据所需产品带的切割厚度先转动主调节杆推动主移动块移动至大致位置,再转动副调节杆推动副移动块移动至所需切割的厚度位置,控制推杆推动上滚轮至与产品带厚度相同的位置,此时控制步进电机带动下滚轮进行转动,推动产品带向前运动进行,同时控制主电机进行转动。
技术研发人员:林彰海;冯道春;罗春生;吴汉洲;贺化才
受保护的技术使用者:江华九恒数码科技有限公司
技术研发日:2020.06.23
技术公布日:2021.04.30