
本技术涉及防火岩棉条的分切机,具体为防火岩棉条的分切机,属于分切机。
背景技术:
1、分切机是一种将宽幅纸张、云母带或薄膜分切成多条窄幅材料的机械设备,常用于造纸机械、电线电缆云母带及印刷包装机械。分切机主要的运用于:无纺布;云母带、纸张、绝缘材料及各种薄膜材料分切、特别适宜于窄带(无纺布,纸张,绝缘材料、云母带、薄膜等等)的分切,岩棉条是以天然玄武岩为主要原料,经高温熔融后,由高速离心设备制成人造无机纤维,同时加入特制的粘结剂和防尘油,再经加温固化,制作成各种规格,不同要求的岩棉保温制品,岩棉条使用时根据使用需要经分切机进行分切。
2、现有技术的分切机有以下缺点:1、岩棉条持续分切过程中产生切割碎屑,碎屑进入空气中随人们呼吸进入人体,危害人们健康;2、岩棉条分切时常通过人们手动送料,推料使岩棉条移动进行分切,分切时岩棉条易歪斜,因此,针对上述问题进行改进。
技术实现思路
1、本实用新型的目的就在于为了解决上述问题而提供防火岩棉条的分切机,风机启动可带动分切后的粉尘进入集尘罩内进行收集;电机a转动带动侧板a和侧板b间相互靠近,从而对岩棉条两侧位置进行固定,避免其分切时歪斜。
2、本实用新型通过以下技术方案来实现上述目的,防火岩棉条的分切机,包括输送架,所述输送架固定连接有支架,所述支架安装有电机a,所述电机a的输出端固定连接有转轴b,所述转轴b通过皮带传动连接有辅助轴,所述转轴b安装有齿轮,所述齿轮右侧啮合连接有齿板a,所述齿板a固定连接有侧板a,所述输送架安装有机体,所述输送架固定连接有集尘罩,所述集尘罩内转动连接有主动轴,所述主动轴通过滤布传动连接有从动轴,所述滤布位于空气过滤棉的上方,所述集尘罩与风机互通。
3、优选的,所述辅助轴转动连接有支架,所述齿轮右侧啮合连接有齿板b,所述齿板b固定连接有侧板b。
4、优选的,所述支架内侧固定连接有滑架,所述滑架滑动连接有侧板a,所述侧板a位于侧板b的后方。
5、优选的,所述机体内转动连接有转轴a,所述转轴a安装有刀片。
6、优选的,所述集尘罩安装有电机b,所述电机b的输出端固定连接有主动轴。
7、优选的,所述集尘罩内两侧安装有导板,所述导板位于滤布的上方。
8、本实用新型的有益效果是:
9、1、风机启动可带动分切后的粉尘进入集尘罩内进行收集;输送架上固定有机体,机体位于刀片的外侧,岩棉条持续右移进入机体内经旋转的刀片进行切割,机体可对切割粉尘进行遮挡,持续切割过程中风机启动,风机与集尘罩互通,即集尘罩的上方产生吸力,可对上方空气进行抽取,切割后的碎屑及含有切割粉尘的空气在吸力作用下下移进入集尘罩内,空气持续下移后经过滤布,滤布具有细密的网眼可对碎屑进行拦截过滤,同时集尘罩外侧的电机b启动,电机b启动可带动连接的主动轴转动,主动轴转动带动连接的滤布和从动轴转动,滤布持续旋转过程中上表面与导板接触,导板可持续对滤布表面进行刮取,避免其堵塞,过滤后的空气再次下移经过空气过滤棉,空气过滤棉可对空气再次过滤,可避免切割碎屑飘在空气中危害工人健康。
10、2、电机a转动带动侧板a和侧板b间相互靠近,从而对岩棉条两侧位置进行固定,避免其分切时歪斜;对岩棉条进行分切时,把岩棉条放入输送架内,放置后支架上电机a启动,电机a转动带动连接的转轴b转动,转轴b通过皮带与辅助轴连接,转轴b和辅助轴底端结构相同,均安装有齿轮且齿轮与齿板啮合,电机a顺时针转动带动连接的转轴b转动,转轴b底端的齿轮两侧分别与齿板a和齿板b啮合,齿轮顺时针转动带动一侧的齿板a向内移动,另一侧的齿板b也向内移动,齿板a内移带动连接的侧板a内移靠近岩棉条一侧,齿板b内移带动连接的侧板b内移靠近岩棉条另一侧,侧板持续内移与岩棉条两侧相贴,可固定其位置,使其沿侧板水平右移输送进机体内进行分切。
技术特征:
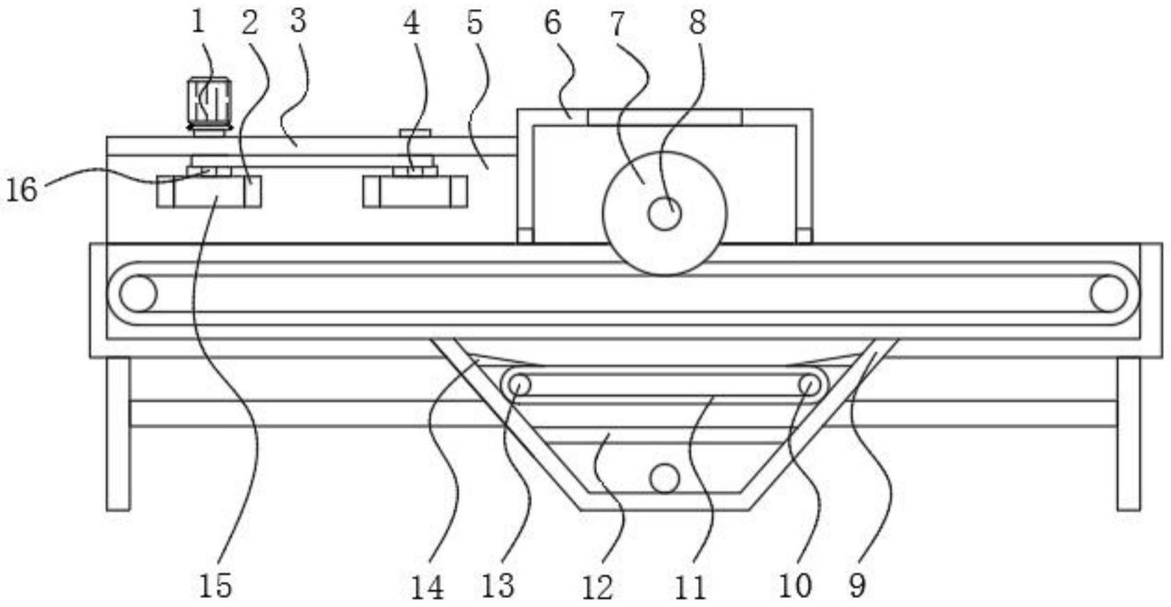
1.防火岩棉条的分切机,包括输送架(17),其特征在于:所述输送架(17)固定连接有支架(3),所述支架(3)安装有电机a(1),所述电机a(1)的输出端固定连接有转轴b(16),所述转轴b(16)通过皮带(21)传动连接有辅助轴(4),所述转轴b(16)安装有齿轮(15),所述齿轮(15)右侧啮合连接有齿板a(2),所述齿板a(2)固定连接有侧板a(5),所述输送架(17)安装有机体(6),所述输送架(17)固定连接有集尘罩(9),所述集尘罩(9)内转动连接有主动轴(13),所述主动轴(13)通过滤布(11)传动连接有从动轴(10),所述滤布(11)位于空气过滤棉(12)的上方,所述集尘罩(9)与风机(19)互通。
2.根据权利要求1所述的防火岩棉条的分切机,其特征在于:所述辅助轴(4)转动连接有支架(3),所述齿轮(15)右侧啮合连接有齿板b(22),所述齿板b(22)固定连接有侧板b(23)。
3.根据权利要求1所述的防火岩棉条的分切机,其特征在于:所述支架(3)内侧固定连接有滑架(20),所述滑架(20)滑动连接有侧板a(5),所述侧板a(5)位于侧板b(23)的后方。
4.根据权利要求1所述的防火岩棉条的分切机,其特征在于:所述机体(6)内转动连接有转轴a(8),所述转轴a(8)安装有刀片(7)。
5.根据权利要求1所述的防火岩棉条的分切机,其特征在于:所述集尘罩(9)安装有电机b(18),所述电机b(18)的输出端固定连接有主动轴(13)。
6.根据权利要求1所述的防火岩棉条的分切机,其特征在于:所述集尘罩(9)内两侧安装有导板(14),所述导板(14)位于滤布(11)的上方。
技术总结
本技术公开了防火岩棉条的分切机,包括输送架,所述输送架固定连接有支架,所述支架安装有电机a,所述电机a的输出端固定连接有转轴b,所述转轴b通过皮带传动连接有辅助轴,所述转轴b安装有齿轮,所述齿轮右侧啮合连接有齿板a,所述齿板a固定连接有侧板a,所述输送架安装有机体,所述输送架固定连接有集尘罩,所述集尘罩内转动连接有主动轴,所述主动轴通过滤布传动连接有从动轴,所述滤布位于空气过滤棉的上方,所述集尘罩与风机互通。风机启动可带动分切后的粉尘进入集尘罩内进行收集;电机a转动带动侧板a和侧板b间相互靠近,从而对岩棉条两侧位置进行固定,避免其分切时歪斜。
技术研发人员:胡全胜
受保护的技术使用者:胡全胜
技术研发日:20230216
技术公布日:2024/1/12