
1.本实用新型涉及分切机技术领域,具体为一种新型收银纸分切机。
背景技术:
2.收银纸的加工是采用收银纸分切机将大幅的原纸分切成一定长度的小卷收银纸的过程,收银纸分切机包括原纸上料机构、原纸输送机构、切刀机构以及小卷成卷机构,切刀机构的切刀辊上安装有多个间距可调的圆盘形切刀,原纸分切过程中,纸幅两侧的多余纸边会被切刀辊上两端的切刀裁下,为了避免被裁切的纸边卷入原纸输送机构中,对成品质量造成影响,现有技术中分切机机不能根据纸张的大小夹持纸张,且结构复杂,同时操作麻烦,工作耗时较长,并且现有分切机不能实现切割刀具的上下往复移动,结构复杂,有益效果不明显,实用性较差。
技术实现要素:
3.本实用新型的目的在于提供一种新型收银纸分切机,以解决上述背景技术中提出的问题。
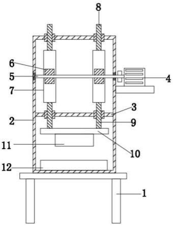
4.为实现上述目的,本实用新型提供如下技术方案:一种新型收银纸分切机,包括底座,所述底座的顶端螺栓连接有机壳,所述机壳的内腔中心位置焊接有横板,所述机壳的右端螺栓连接有第一减速电机,所述第一减速电机的输出端过盈配合有转轴的一端,所述转轴的另一端贯穿机壳并轴接在机壳的内壁,所述转轴的外壁左右两侧焊接有第五齿轮,所述第五齿轮的外壁啮合有导轨,所述导轨的顶端焊接有第一竖杆,所述导轨的底端焊接有第二竖杆的一端,所述第二竖杆的另一端贯穿横板焊接有压板,所述压板的底端螺栓连接有切割刀具,所述底座的中心位置沿左右方向开设有凹槽,所述底座的顶端外壁后侧螺栓连接有支撑板,所述支撑板的底端外壁中心位置左侧螺栓连接有第二减速电机,所述第二减速电机的输出端贯穿支撑板焊接有第一齿轮,所述第一齿轮的左侧外壁啮合有第二齿轮,所述第一齿轮的右侧外壁啮合有第三齿轮,所述第三齿轮的右侧外壁啮合有第四齿轮,所述第四齿轮与第二齿轮的外侧均焊接有夹手,所述夹手的内侧均轴接有连杆的一端,所述连杆的另一端轴接在支撑板的顶端外壁。
5.优选的,所述第五齿轮的数量为两个,且位于转轴的外壁左右两侧。
6.优选的,所述第五齿轮的轮缘处的三分之一处有齿其余三分之二处无齿。
7.优选的,所述夹手由一个横杆与一个竖杆轴接而成。
8.优选的,所述夹手的内侧均粘贴有橡胶垫。
9.与现有技术相比,本实用新型的有益效果是:
10.1.该新型收银纸分切机,通过底座、机壳、横板、第一减速电机、转轴、第五齿轮、导轨、第一竖杆、第二竖杆、压板、切割刀具等结构实现切割刀具的上下往复运动,对收银纸进行有效切割。
11.2.该新型收银纸分切机,通过支撑板、第三减速电机、第一齿轮、第二齿轮、第三齿轮、第四齿轮、连杆、夹手、凹槽等结构实现装置对不同型号收银纸的夹持,产品合格率高,结构简单合理,适用性强。
附图说明
12.图1为本实用新型机壳结构主视剖面图;
13.图2为本实用新型机壳结构左视剖面图;
14.图3为本实用新型的支撑板结构俯视图。
15.图中:1、底座,2、机壳,3、横板,4、第一减速电机,5、转轴,6、第五齿轮,7、导轨,8、第一竖杆,9、第二竖杆,10、压板,11、切割刀具,12、支撑板,13、第二减速电机,14、第一齿轮,15、第二齿轮,16、第三齿轮,17、第四齿轮,18、连杆,19、夹手,20、凹槽。
具体实施方式
16.下面将结合本实用新型实施例中的附图,对本实用新型实施例中的技术方案进行清楚、完整地描述,显然,所描述的实施例仅仅是本实用新型一部分实施例,而不是全部的实施例。基于本实用新型中的实施例,本领域普通技术人员在没有做出创造性劳动前提下所获得的所有其他实施例,都属于本实用新型保护的范围。
17.请参阅图1-3,本实用新型提供一种技术方案:一种新型收银纸分切机,包括底座1,底座1对其顶端结构起支撑作用,底座1的顶端螺栓连接有机壳2,机壳2对其内部结构起支撑作用,机壳2的内腔中心位置焊接有横板3,机壳2的右端螺栓连接有第一减速电机4,第一减速电机4顺时针转动,第一减速电机4的输出端过盈配合有转轴5的一端,第一减速电机4带动转轴5顺时针转动,转轴5的另一端贯穿机壳2并轴接在机壳2的内壁,转轴5的外壁左右两侧焊接有第五齿轮6,转轴5带动第五齿轮6顺时针转动,第五齿轮6的外壁啮合有导轨7,第五齿轮6带动导轨7上下往复运动,导轨7的顶端焊接有第一竖杆8,导轨7的底端焊接有第二竖杆9的一端,第二竖杆9的另一端贯穿横板3焊接有压板10,压板10的底端螺栓连接有切割刀具11,导轨7上下往复运动通过第二竖杆9与压板10的配合实现切割刀具11的上下往复运动,对收银纸进行切割,底座1的中心位置沿左右方向开设有凹槽20,底座1的顶端外壁后侧螺栓连接有支撑板12,支撑板12的底端外壁中心位置左侧螺栓连接有第二减速电机13,第二减速电机13的输出端贯穿支撑板12焊接有第一齿轮14,第二减速电机13顺时针转动带动第一齿轮14顺时针转动,第一齿轮14的左侧外壁啮合有第二齿轮15,第一齿轮14带动第二齿轮15逆时针转动,第一齿轮14的右侧外壁啮合有第三齿轮16,第三齿轮16的右侧外壁啮合有第四齿轮17,第一齿轮14通过第三齿轮16带动第四齿轮17顺时针转动,第四齿轮17与第二齿轮15的外侧均焊接有夹手19,第一齿轮14逆时针转动和第四齿轮17顺时针转动带动夹手19向内侧运动将收银纸夹紧,夹手19的内侧均轴接有连杆18的一端,连杆18的另一端轴接在支撑板12的顶端外壁。
18.作为优选方案,第五齿轮6的数量为两个,且位于转轴5的外壁左右两侧,转轴5带动第五齿轮6顺时针转动。
19.作为优选方案,第五齿轮6的轮缘处的三分之一处有齿其余三分之二处无齿,第五齿轮6带动导轨7上下往复运动。
20.作为优选方案,夹手19由一个横杆与一个竖杆轴接而成,第一齿轮14逆时针转动和第四齿轮17顺时针转动带动夹手19向内侧运动将收银纸夹紧。
21.作为优选方案,夹手19的内侧均粘贴有橡胶垫,橡胶垫起防滑作用。
22.工作原理:当需要用该设备对收银纸进行分切时,首先将收银纸放置在底座1的顶端,接通第二减速电机13的外部电源,第二减速电机13顺时针转动带动第一齿轮14顺时针转动,第一齿轮14带动第二齿轮15逆时针转动,第一齿轮14通过第三齿轮16带动第四齿轮17顺时针转动,第一齿轮14逆时针转动和第四齿轮17顺时针转动带动夹手19向内侧运动将收银纸夹紧,此时接通第一减速电机4的外界电源,第一减速电机4顺时针转动,第一减速电机4带动转轴5顺时针转动,转轴5带动第五齿轮6顺时针转动,第五齿轮6带动导轨7上下往复运动,导轨7上下往复运动通过第二竖杆9与压板10的配合实现切割刀具11的上下往复运动,对收银纸进行切割,合格率高,结构简单合理,适用性强,益推广使用。
23.在本实用新型的描述中,需要理解的是,术语“同轴”、“底部”、“一端”、“顶部”、“中部”、“另一端”、“上”、“一侧”、“顶部”、“内”、“前部”、“中央”、“两端”等指示的方位或位置关系为基于附图所示的方位或位置关系,仅是为了便于描述本实用新型和简化描述,而不是指示或暗示所指的装置或元件必须具有特定的方位、以特定的方位构造和操作,因此不能理解为对本实用新型的限制。
24.此外,术语“第一”、“第二”、“第三”、“第四”仅用于描述目的,而不能理解为指示或暗示相对重要性或者隐含指明所指示的技术特征的数量,由此,限定有“第一”、“第二”、“第三”、“第四”的特征可以明示或者隐含地包括至少一个该特征。
25.尽管已经示出和描述了本实用新型的实施例,对于本领域的普通技术人员而言,可以理解在不脱离本实用新型的原理和精神的情况下可以对这些实施例进行多种变化、修改、替换和变型,本实用新型的范围由所附权利要求及其等同物限定。
技术特征:
1.一种新型收银纸分切机,包括底座(1),其特征在于:所述底座(1)的顶端螺栓连接有机壳(2),所述机壳(2)的内腔中心位置焊接有横板(3),所述机壳(2)的右端螺栓连接有第一减速电机(4),所述第一减速电机(4)的输出端过盈配合有转轴(5)的一端,所述转轴(5)的另一端贯穿机壳(2)并轴接在机壳(2)的内壁,所述转轴(5)的外壁左右两侧焊接有第五齿轮(6),所述第五齿轮(6)的外壁啮合有导轨(7),所述导轨(7)的顶端焊接有第一竖杆(8),所述导轨(7)的底端焊接有第二竖杆(9)的一端,所述第二竖杆(9)的另一端贯穿横板(3)焊接有压板(10),所述压板(10)的底端螺栓连接有切割刀具(11),所述底座(1)的中心位置沿左右方向开设有凹槽(20),所述底座(1)的顶端外壁后侧螺栓连接有支撑板(12),所述支撑板(12)的底端外壁中心位置左侧螺栓连接有第二减速电机(13),所述第二减速电机(13)的输出端贯穿支撑板(12)焊接有第一齿轮(14),所述第一齿轮(14)的左侧外壁啮合有第二齿轮(15),所述第一齿轮(14)的右侧外壁啮合有第三齿轮(16),所述第三齿轮(16)的右侧外壁啮合有第四齿轮(17),所述第四齿轮(17)与第二齿轮(15)的外侧均焊接有夹手(19),所述夹手(19)的内侧均轴接有连杆(18)的一端,所述连杆(18)的另一端轴接在支撑板(12)的顶端外壁。2.根据权利要求1所述的一种新型收银纸分切机,其特征在于:所述第五齿轮(6)的数量为两个,且位于转轴(5)的外壁左右两侧。3.根据权利要求1所述的一种新型收银纸分切机,其特征在于:所述第五齿轮(6)的轮缘处的三分之一处有齿其余三分之二处无齿。4.根据权利要求1所述的一种新型收银纸分切机,其特征在于:所述夹手(19)由一个横杆与一个竖杆轴接而成。5.根据权利要求1所述的一种新型收银纸分切机,其特征在于:所述夹手(19)的内侧均粘贴有橡胶垫。
技术总结
本实用新型公开了一种新型收银纸分切机,包括底座,所述底座的顶端螺栓连接有机壳,所述机壳的内腔中心位置焊接有横板,所述机壳的右端螺栓连接有第一减速电机,所述第一减速电机的输出端过盈配合有转轴的一端,所述转轴的另一端贯穿机壳并轴接在机壳的内壁,所述转轴的外壁左右两侧焊接有第五齿轮,所述第五齿轮的外壁啮合有导轨,所述导轨的顶端焊接有第一竖杆。该新型收银纸分切机,通过底座、机壳、横板、第一减速电机、转轴、第五齿轮、导轨、第一竖杆、第二竖杆、压板、切割刀具等结构实现切割刀具的上下往复运动,对收银纸进行有效切割。对收银纸进行有效切割。对收银纸进行有效切割。
技术研发人员:赵冬梅 张立福
受保护的技术使用者:沈阳万博龙迈电子科技有限公司
技术研发日:2022.02.15
技术公布日:2022/9/26

自创立以来,米兰体育官方正版下载地址始终致力于打造全球领先的分切设备,以创新技术、优质产品和专业服务赢得了广泛赞誉。

本实用新型涉及一种熔喷无纺布加工领域,特别涉及一种医用熔喷无纺布检测分切机。背景技术:1)目前通过对加入驻极体的熔喷无纺布进行静电处理,可用于口罩,呼吸机等空气过滤产品。其原理主要是物理过滤大颗粒物质

本实用新型涉及一种分切机母卷上料装置。背景技术:目前薄膜生产线在薄膜输送过程中需要将薄膜从母卷上放置在分切机上,然后进行分切操作。传统的母卷需要人工搬运到分切机上,这样分切效率下降,而且人工搬运十分辛