
1.本发明涉及分切机技术领域,尤其涉及一种双剪切系统分切机。
背景技术:
2.目前,铝箔用分切机专利比较多,但是都是单剪切系统分切机,双剪切系统的分切机目前没有,以铝箔分切机为例,现有的分切机都是单个剪切系统的分切,其工作原理是将双张的铝箔先进入剪切系统进行裁切客户需求的宽度,再进行双张铝箔的分离,最后进行缠绕卷取。此工作原理有以下几个局限性:当双张的铝箔出现厚度不一样(或者表面质量不一样时),因为宽度是统一进行剪切的,同一宽度的铝箔因为不同厚度(不同表面质量的铝箔)无法同时满足某一个客户的需求,导致只能保证一张铝箔合格,另外一张铝箔就是废品。分切机随着厚度增加,其剪切的边部质量越难保证,容易导致加工工序的增加,生产成本高。
技术实现要素:
3.本发明为解决目前背景技术中存在的缺点,改变了现有分切机的带材传递路线,配合独创的双剪切系统,提出了一种双剪切系统分切机,包括底座,所述底座上表面设有母卷与胶辊,所述胶辊的下方设有钢棍,所述胶辊与钢棍组成了双剪切系统的分离辊系;
4.所述胶辊的左右两侧分别设有刀片的调节手轮a与调节手轮b控制刀片的上升、下降与左右的调节;
5.所述调节手轮a与调节手轮b上分别配合设有母刀轴a与母刀轴b,所述调节手轮a与调节手轮b的上方分别设有转动轴a与转动轴b,所述转动轴a与转动轴b的内测设有压平辊a与压平辊b,压平辊a与压平辊b之间连接有压力气缸,所述母卷、钢辊、调节手轮a、母刀轴b与转动轴b形成一条传输路径,所述母卷、钢棍、调节手轮a、母刀周a与转动轴a形成另一条传输路径;
6.所述底座上还设有入口钢辊与调节钢辊。
7.进一步的,所述母刀轴a与母刀轴b采用钢制淬火表面镀锌材料,间距凸出环1mm。凹进环1mm。
8.进一步的,所述母卷为铝箔母卷。
9.进一步的,所述胶辊为硬度70度的聚氨酯胶辊。
10.进一步的,所述压力气缸为长条状呈水平方向设置。
11.进一步的,所述底座为可移动开卷底座。
12.进一步的,所述聚氨酯胶辊为分离辊,邵氏硬度75‑85度。
13.进一步的,所述调节手轮a与调节手轮b控制刀片上升、下降与左右的调节。
14.进一步的,所述母刀轴为钢制淬火表面镀锌材料,间距凸出环1mm,凹进环1mm。
15.进一步的,所述压平辊a与压平辊b的邵氏硬度为80‑95度。
16.采用上述技术方案,具有如下有益效果:
17.本发明结构简单,使用方便,改变现有电池铝箔行业加工流程,实现取消薄剪机的工序。双剪切分切机节约生产成本,实现超薄铝箔双张叠轧后,不同厚度铝箔的分切,并且实现分切一次成品率100%合格。采用双张叠轧厚度不一致的铝箔可以实现厚度更薄,实现双张叠轧厚度不一致的铝箔分切一次成品率达到100%,可以助推拥有进口轧机设备的企业往更薄的铝箔轧制发展。
附图说明
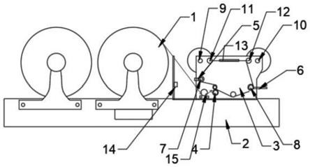
18.图1为本发明的结构示意图;
19.图2为本发明的现有的单切系统的示意图;
20.图中:1‑母卷;2‑底座;3‑聚氨酯胶辊;4‑钢辊;5‑调节手轮a;6‑调节手轮b;7‑母刀轴a;8‑母刀轴b;9‑转动轴a;10‑转动轴b;11‑压平辊a;12‑压平辊b;13‑压力气缸;14‑调节钢辊;15‑入口钢辊。
具体实施方式
21.下面结合附图对本发明做进一步说明。
22.实施例1:如图1至图2所示的一种双剪切系统分切机,包括底座2,所述底座2上表面设有母卷1与胶辊,所述胶辊的下方设有钢棍,所述胶辊与钢棍组成了双剪切系统的分离辊系;
23.所述胶辊的左右两侧分别设有刀片的调节手轮a5与调节手轮b6控制刀片的上升、下降与左右的调节;
24.所述调节手轮a5与调节手轮b6上分别配合设有母刀轴a7与母刀轴b8,所述调节手轮a5与调节手轮b6的上方分别设有转动轴a9与转动轴b10,所述转动轴a9与转动轴b10的内测设有压平辊a11与压平辊b,压平辊a11与压平辊b之间连接有压力气缸13,所述母卷1、钢辊4、调节手轮a5、母刀轴b8与转动轴b10形成一条传输路径,所述母卷1、钢棍、调节手轮a5、母刀周a与转动轴a9形成另一条传输路径;
25.所述底座2上还设有入口钢辊154与调节钢辊144。
26.所述母刀轴a7与母刀轴b8采用钢制淬火表面镀锌材料,间距凸出环1mm。凹进环1mm,所述母卷1为铝箔母卷1,所述胶辊为硬度70度的聚氨酯胶辊3,所述压力气缸13为长条状呈水平方向设置,所述底座2为可移动开卷底座2,所述聚氨酯胶辊3为分离辊,邵氏硬度75‑85度,所述调节手轮a5与调节手轮b6控制刀片上升、下降与左右的调节,所述母刀轴为钢制淬火表面镀锌材料,间距凸出环1mm,凹进环1mm,所述压平辊a11与压平辊b的邵氏硬度为80‑95度。
27.本发明工作时,双张铝箔母卷1放置在分切机可移动开卷底座2上,从后移动到前面的分切机开卷机上。双张铝箔母卷1带材穿带经过开卷铝箔版型调节钢混,根据实际情况可调节开卷铝箔版型调节钢棍高低来实现调节铝箔的版型情况。
28.双张铝箔带材然后再从分离系统入口钢辊154下方经过,准备进入分切机分离辑系。双张铝箔带材从聚氨酯胶辊3与钢辊4的中间经过。
29.然后双张铝箔分为两条传递路线,一条铝箔传递路线从母刀轴a7绕过,并且通过刀片调节手轮a5对带材进行剪切成为不同宽度的带材;另外一条铝箔传递路线母刀轴b8绕
过,并且通过刀片调节手轮b6对带材进行剪切成为不同宽度的带材。
30.被剪切后的铝箔带材从母刀轴a7和母刀轴a7绕过压平辊a11与压平辊b,最后分别缠绕在转动轴a9与转动轴b10上。
31.本发明可需要设置相关长度或者卷径,卷取轴电机按照记米器和位置传感器,当铝箔卷缠绕到设置的米数或者卷径时,自动停机。
32.另外每个转动轴的压平辊a11与压平辊b可以是单侧的胶辊设置,也可以根据情况,每个转动轴设置2根压平胶辊,可以是水平对置方向,也可以是上下垂直对置方向,将铝箔卷取轴包夹在2根压平辊中心,并且2根胶辊和转动轴的中心线在同一直线上。
33.具体优点如下:优点一:通过以上方案能实现不同厚度带材各自实现不同的宽度。
34.例如双张铝箔厚度分别为0.006mm/0.007mm,0.006厚度需要对应700mm宽度,0.007厚度需要对应720mm宽度,通过本专利分切机能够实现0.006mm*700mm规格和0.007mm*720mm双张铝箔都能满足客户需求,一次成品率提升到100%。
35.优点二:通过以上方案将厚度超过现有分切机能力的双张带材实现一次剪切成功,减少加工道次的浪费。
36.例如厚度为0.015mm的双张电池铝箔,采用此方案的双剪切系统的铝箔分切机,能实现将双张电池铝箔先分为单张,然后再进行单张的切边,实现一次分切成功。实现一次分切的切边合格,将实现取消薄剪机工序,能够成功避免薄剪机的设备投入,以及完全杜绝了操作人员、二次切边的成品率损失、二次加工的其他污染。
37.本发明结构简单,使用方便,改变现有电池铝箔行业加工流程,实现取消薄剪机的工序。双剪切分切机节约生产成本,实现超薄铝箔双张叠轧后,不同厚度铝箔的分切,并且实现分切一次成品率100%合格。采用双张叠轧厚度不一致的铝箔可以实现厚度更薄,实现双张叠轧厚度不一致的铝箔分切一次成品率达到100%,可以助推拥有进口轧机设备的企业往更薄的铝箔轧制发展。
38.目前分切机外形有立式、卧式、斜式等,本发明双剪切系统只是使用卧式分切机举例,在立式、斜式分切机上能实现通用。
39.以上描述了本发明的基本原理和主要特征,本行业的技术人员应该了解,本发明不受上述实施例的限制,上述实施例和说明书中描述的只是说明本发明的原理,在不脱离本发明精神和范围的前提下,本发明还会有各种变化和改进,这些变化和改进都落入要求保护的本发明范围内,发明要求保护范围由所附的权利要求书及其等效物界定。
技术特征:
1.一种双剪切系统分切机,包括底座,其特征在于,所述底座上表面设有母卷与胶辊,所述胶辊的下方设有钢棍,所述胶辊与钢棍组成了双剪切系统的分离辊系;所述胶辊的左右两侧分别设有刀片的调节手轮a与调节手轮b控制刀片的上升、下降与左右的调节;所述调节手轮a与调节手轮b上分别配合设有母刀轴a与母刀轴b,所述调节手轮a与调节手轮b的上方分别设有转动轴a与转动轴b,所述转动轴a与转动轴b的内测设有压平辊a与压平辊b,压平辊a与压平辊b之间连接有压力气缸,所述母卷、钢辊、调节手轮a、母刀轴b与转动轴b形成一条传输路径,所述母卷、钢棍、调节手轮a、母刀周a与转动轴a形成另一条传输路径;所述底座上还设有入口钢辊与调节钢辊。2.根据权利要求1所述的一种双剪切系统分切机,其特征在于,所述母刀轴a与母刀轴b采用钢制淬火表面镀锌材料,间距凸出环1mm。凹进环1mm。3.根据权利要求1所述的一种双剪切系统分切机,其特征在于,所述母卷为铝箔母卷,。4.根据权利要求1所述的一种双剪切系统分切机,其特征在于,所述胶辊为硬度70度的聚氨酯胶辊。5.根据权利要求1所述的一种双剪切系统分切机,其特征在于,所述压力气缸为长条状呈水平方向设置。6.根据权利要求1所述的一种双剪切系统分切机,其特征在于,所述底座为可移动开卷底座。7.根据权利要求1所述的一种双剪切系统分切机,其特征在于,所述聚氨酯胶辊为分离辊,邵氏硬度75‑85度。8.根据权利要求1所述的一种双剪切系统分切机,其特征在于,所述调节手轮a与调节手轮b控制刀片上升、下降与左右的调节。9.根据权利要求1所述的一种双剪切系统分切机,其特征在于,所述母刀轴为钢制淬火表面镀锌材料,间距凸出环1mm,凹进环1mm。10.根据权利要求1所述的一种双剪切系统分切机,其特征在于,所述压平辊a与压平辊b的邵氏硬度为80‑95度。
技术总结
本发明公开一种双剪切系统分切机,包括底座,所述底座上表面设有母卷与胶辊,所述胶辊的下方设有钢棍,所述胶辊与钢棍组成了双剪切系统的分离辊系;所述胶辊的左右两侧分别设有刀片的调节手轮A与调节手轮B控制刀片的上升、下降与左右的调节;本发明结构简单,使用方便,改变现有电池铝箔行业加工流程,实现取消薄剪机的工序。双剪切分切机节约生产成本,实现超薄铝箔双张叠轧后,不同厚度铝箔的分切,并且实现分切一次成品率100%合格。采用双张叠轧厚度不一致的铝箔可以实现厚度更薄,实现双张叠轧厚度不一致的铝箔分切一次成品率达到100%,可以助推拥有进口轧机设备的企业往更薄的铝箔轧制发展。薄的铝箔轧制发展。薄的铝箔轧制发展。
技术研发人员:刘国茂
受保护的技术使用者:刘国茂
技术研发日:2021.06.18
技术公布日:2021/10/8