
本实用新型涉及铝箔包装纸生产技术领域,具体涉及一种铝箔纸分切机的压花装置。
背景技术:
铝箔纸有两种,一种表面光滑,另一种表面有压花,即压制有凸凹不平的装饰花纹。目前,表面压花的铝箔纸主要是用一组固定安装的压花装置完成,该压花装置主要由安装在固定架上的橡胶垫辊、带压花刻痕的压花辊和橡胶压辊组成。这种压花装置由于垫辊、压花辊和压辊的位置相对固定,不仅在使用时铝箔纸带的穿入困难,且垫辊、压花辊和压辊之间的压力固定,无法调节,压出的花纹深浅度固定,不适用于不同压花要求的产品生产,存在不足。
技术实现要素:
针对上述不足,本实用新型提供一种铝箔纸分切机的压花装置,具有铝箔纸带穿入容易,压力调节方便的特点,能满足不同压花要求的产品生产。
本实用新型的技术方案为:
一种铝箔纸分切机的压花装置,包括一对压花辊安装座、压花辊、曲臂、橡胶压辊、气缸及加压机构;所述压花辊安装座固定安装在铝箔纸分切机的分切机构前端的机架上,所述压花辊安装在所述压花辊安装座上,所述压花辊的辊轴上安装有传动同步带轮;所述曲臂的中部通过转轴与所述压花辊安装座安装,所述橡胶压辊安装在所述曲臂的前端;所述气缸安装在所述压花辊安装座上,所述气缸的气缸轴与所述曲臂的后端铰接;所述加压机构包括固接在所述曲臂的前端上的第一加压螺母、固接在所述压花辊安装座上的第二加压螺母及旋入第一加压螺母、第二加压螺母上的加压螺栓。
本实用新型的优点是:本实用新型结构简单,通过气缸及加压螺栓两种方式调节压花压力,压花压力调节方便,可满足不同压花要求的产品生产,同时铝箔纸带穿入容易,十分方便。
附图说明
图1为本实用新型的结构示意图;
图2为本本实用新型的加压机构结构示意图。
具体实施方式
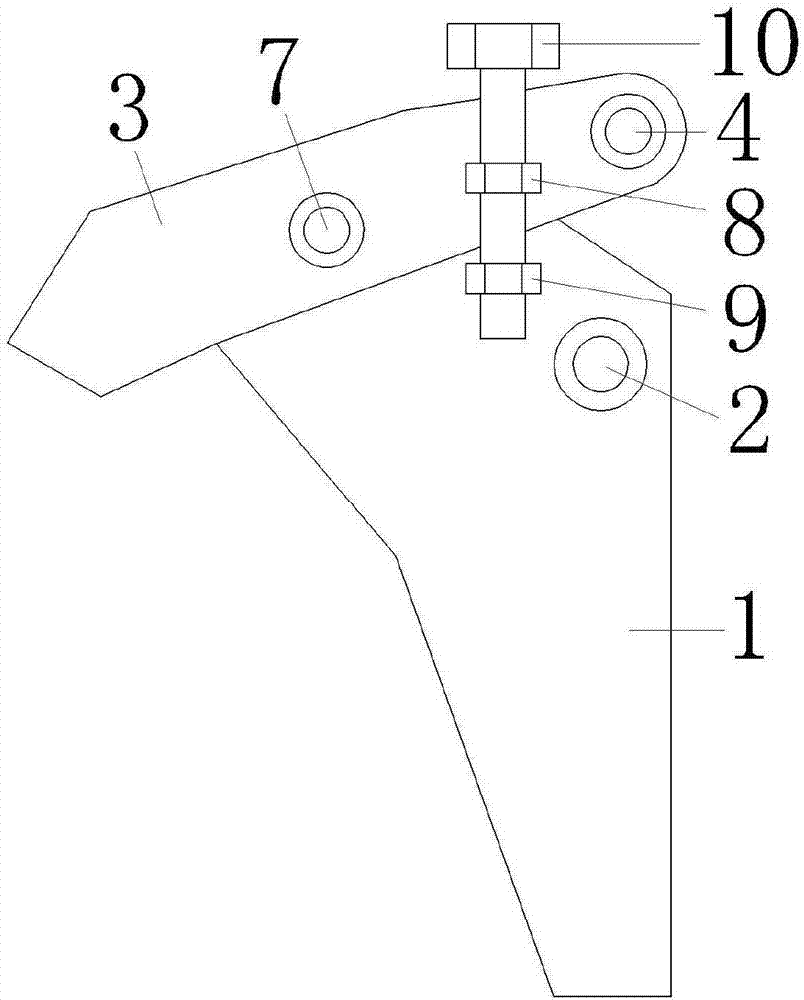
如图1-2所示,一种铝箔纸分切机的压花装置,包括一对压花辊安装座(1)、压花辊(2)、曲臂(3)、橡胶压辊(4)、气缸(5)及加压机构;所述压花辊安装座(1)固定安装在铝箔纸分切机的分切机构前端的机架上,所述压花辊(2)安装在所述压花辊安装座(1)上,所述压花辊(2)的辊轴上安装有传动同步带轮(6);所述曲臂(3)的中部通过转轴(7)与所述压花辊安装座(1)安装,所述橡胶压辊(4)安装在所述曲臂(3)的前端;所述气缸(5)安装在所述压花辊安装座(1)上,所述气缸(5)的气缸轴与所述曲臂(3)的后端铰接;所述加压机构包括固接在所述曲臂(3)的前端上的第一加压螺母(8)、固接在所述压花辊安装座(1)上的第二加压螺母(9)及旋入第一加压螺母(8)、第二加压螺母(9)上的加压螺栓(10)。
以上所述是本实用新型的优选实施方式,应当指出,对于本技术领域的普通技术人员来说,在不脱离本实用新型原理的前提下,还可以做出若干改进和润饰,这些改进和润饰也视为本实用新型的保护范围。
技术特征:
1.一种铝箔纸分切机的压花装置,其特征在于:包括一对压花辊安装座、压花辊、曲臂、橡胶压辊、气缸及加压机构;所述压花辊安装座固定安装在铝箔纸分切机的分切机构前端的机架上,所述压花辊安装在所述压花辊安装座上,所述压花辊的辊轴上安装有传动同步带轮;所述曲臂的中部通过转轴与所述压花辊安装座安装,所述橡胶压辊安装在所述曲臂的前端;所述气缸安装在所述压花辊安装座上,所述气缸的气缸轴与所述曲臂的后端铰接;所述加压机构包括固接在所述曲臂的前端上的第一加压螺母、固接在所述压花辊安装座上的第二加压螺母及旋入第一加压螺母、第二加压螺母上的加压螺栓。
技术总结
本实用新型公开了一种铝箔纸分切机的压花装置,包括一对压花辊安装座、压花辊、曲臂、橡胶压辊、气缸及加压机构;所述压花辊安装座固定安装在铝箔纸分切机的分切机构前端的机架上,所述压花辊安装在所述压花辊安装座上,所述压花辊的辊轴上安装有传动同步带轮;所述曲臂的中部通过转轴与所述压花辊安装座安装,所述橡胶压辊安装在所述曲臂的前端;所述气缸安装在所述压花辊安装座上,所述气缸的气缸轴与所述曲臂的后端铰接。本实用新型的压花装置具有铝箔纸带穿入容易,压力调节方便的特点,能满足不同压花要求的产品生产。
技术研发人员:胡英凯
受保护的技术使用者:青岛维勒日用品股份有限公司
文档号码:201720064630
技术研发日:2017.01.19
技术公布日:2017.08.29