
1.本实用新型涉及胶带分切技术领域,具体为一种避免胶带分切过程中不平整的胶带分切机装置。
背景技术:
2.胶带分切机是一种将宽幅胶带母卷分切、复卷成多条窄幅粘胶带卷的机械设备。
3.现有的胶带分切机在胶带母卷使用完后,不易更换胶带母卷。
技术实现要素:
4.本实用新型的目的在于提供一种避免胶带分切过程中不平整的胶带分切机装置,以解决上述背景技术中提出的现有的胶带分切机在胶带母卷使用完后,不易更换胶带母卷的问题。
5.为实现上述目的,本实用新型提供如下技术方案:一种避免胶带分切过程中不平整的胶带分切机装置,包括机体,所述机体上设置有出料辊、分切辊、第一收料辊和第二收料辊,所述机体左右两侧均设置有安装座,所述安装座包括安装块和固定块,所述安装块与机体转动连接,且左侧或右侧的所述安装块上连接有驱动电机,所述安装块上通过螺栓连接有固定块,所述安装块和固定块之间开设有固定孔,所述出料辊左右两端均位于固定孔中,所述出料辊上安装有胶带母卷,所述胶带母卷下侧设置有升降板。
6.优选的,所述升降板下侧连接有电动液压缸。
7.优选的,所述固定块内壁设置有限位块。
8.优选的,所述升降板上侧设置有橡胶层。
9.与现有技术相比,本实用新型的有益效果是:
10.1)安装胶带母卷时,先将胶带母卷装在出料辊上,然后通过安装座固定出料辊,将出料辊两端搁置在安装块上,安装上固定块对出料辊进行固定,从而完成胶带母卷的安装,胶带母卷的安装和拆卸方便,便于进行更换;
11.2)通过升降板的设置,安装胶带母卷时,可以先将胶带母卷置于升降板上,然后安装上出料辊并调节升降板的高度,使出料辊固定方便。
附图说明
12.图1为本实用新型结构示意图;
13.图2为本实用新型安装座剖视结构示意图;
14.图3为本实用新型安装座侧视结构示意图;
15.图4为本实用新型电动液压缸配合升降板结构示意图。
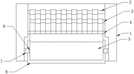
16.图中:1机体、2第一收料辊、3第二收料辊、4分切辊、5胶带母卷、6出料辊、7安装座、8升降板、9安装块、10固定块、11限位块、12固定孔、13电动液压缸。
具体实施方式
17.下面将结合本实用新型实施例中的附图,对本实用新型实施例中的技术方案进行清楚、完整地描述,显然,所描述的实施例仅仅是本实用新型一部分实施例,而不是全部的实施例。基于本实用新型中的实施例,本领域普通技术人员在没有做出创造性劳动前提下所获得的所有其他实施例,都属于本实用新型保护的范围。
18.在本实用新型的描述中,需要说明的是,术语“上”、“下”、“内”、“外”、“顶/底端”等指示的方位或位置关系为基于附图所示的方位或位置关系,仅是为了便于描述本实用新型和简化描述,而不是指示或暗示所指的装置或元件必须具有特定的方位、以特定的方位构造和操作,因此不能理解为对本实用新型的限制。此外,术语“第一”、“第二”仅用于描述目的,而不能理解为指示或暗示相对重要性。
19.在本实用新型的描述中,需要说明的是,除非另有明确的规定和限定,术语“安装”、“设置有”、“套设/接”、“连接”等,应做广义理解,例如“连接”,可以是固定连接,也可以是可拆卸连接,或一体地连接;可以是机械连接,也可以是电连接;可以是直接相连,也可以通过中间媒介间接相连,可以是两个元件内部的连通。对于本领域的普通技术人员而言,可以具体情况理解上述术语在本实用新型中的具体含义。
20.实施例:
21.请参阅图1‑4,本实用新型提供一种技术方案:一种避免胶带分切过程中不平整的胶带分切机装置,包括机体1,所述机体1上设置有出料辊6、分切辊4、第一收料辊2和第二收料辊3,所述机体1左右两侧均设置有安装座7,所述安装座7包括安装块9和固定块10,所述安装块9与机体1转动连接,且左侧或右侧的所述安装块9上连接有驱动电机,用于带动安装块9转动,所述安装块9上通过螺栓连接有固定块10,所述安装块9和固定块10之间开设有固定孔12,所述出料辊6左右两端均位于固定孔12中,通过安装座7带动出料辊6转动,所述出料辊6上安装有胶带母卷5,胶带母卷5上的胶条通过分切辊4分切成多段,并通过第一收料辊2和第二收料辊3进行复卷,避免分切过程中产生不平整,所述胶带母卷5下侧设置有升降板8。
22.所述升降板8下侧连接有电动液压缸13。
23.所述固定块10内壁设置有限位块11,出料辊6上设置有与限位块11相适配的限位槽,便于带动出料辊6转动。
24.所述升降板8上侧设置有橡胶层。
25.工作原理:安装胶带母卷5时,先将胶带母卷5装在出料辊6上,然后通过安装座7固定出料辊6,将出料辊6两端搁置在安装块9上,安装上固定块10对出料辊6进行固定,从而完成胶带母卷5的安装,胶带母卷5的安装和拆卸方便,便于进行更换,通过升降板8的设置,安装胶带母卷5时,可以先将胶带母卷5置于升降板8上,然后安装上出料辊6并调节升降板8的高度,使出料辊6固定方便。
26.以上显示和描述了本实用新型的基本原理和主要特征和本实用新型的优点,对于本领域技术人员而言,显然本实用新型不限于上述示范性实施例的细节,而且在不背离本实用新型的精神或基本特征的情况下,能够以其他的具体形式实现本实用新型;因此,无论从哪一点来看,均应将实施例看作是示范性的,而且是非限制性的,本实用新型的范围由所附权利要求而不是上述说明限定,因此旨在将落在权利要求的等同要件的含义和范围内的
所有变化囊括在本实用新型内,不应将权利要求中的任何附图标记视为限制所涉及的权利要求。
27.尽管已经示出和描述了本实用新型的实施例,对于本领域的普通技术人员而言,可以理解在不脱离本实用新型的原理和精神的情况下可以对这些实施例进行多种变化、修改、替换和变型,本实用新型的范围由所附权利要求及其等同物限定。
技术特征:
1.一种避免胶带分切过程中不平整的胶带分切机装置,包括机体(1),其特征在于:所述机体(1)上设置有出料辊(6)、分切辊(4)、第一收料辊(2)和第二收料辊(3),所述机体(1)左右两侧均设置有安装座(7),所述安装座(7)包括安装块(9)和固定块(10),所述安装块(9)与机体(1)转动连接,且左侧或右侧的所述安装块(9)上连接有驱动电机,所述安装块(9)上通过螺栓连接有固定块(10),所述安装块(9)和固定块(10)之间开设有固定孔(12),所述出料辊(6)左右两端均位于固定孔(12)中,所述出料辊(6)上安装有胶带母卷(5),所述胶带母卷(5)下侧设置有升降板(8)。2.根据权利要求1所述的一种避免胶带分切过程中不平整的胶带分切机装置,其特征在于:所述升降板(8)下侧连接有电动液压缸(13)。3.根据权利要求1所述的一种避免胶带分切过程中不平整的胶带分切机装置,其特征在于:所述固定块(10)内壁设置有限位块(11)。4.根据权利要求1所述的一种避免胶带分切过程中不平整的胶带分切机装置,其特征在于:所述升降板(8)上侧设置有橡胶层。
技术总结
本实用新型公开的属于胶带分切技术领域,具体为一种避免胶带分切过程中不平整的胶带分切机装置,包括机体,所述机体上设置有出料辊、分切辊、第一收料辊和第二收料辊,所述机体左右两侧均设置有安装座,所述安装座包括安装块和固定块,所述安装块与机体转动连接,且左侧或右侧的所述安装块上连接有驱动电机,所述安装块上通过螺栓连接有固定块,所述安装块和固定块之间开设有固定孔,所述出料辊左右两端均位于固定孔中,安装胶带母卷时,先将胶带母卷装在出料辊上,然后通过安装座固定出料辊,将出料辊两端搁置在安装块上,安装上固定块对出料辊进行固定,从而完成胶带母卷的安装,胶带母卷的安装和拆卸方便,便于进行更换。便于进行更换。便于进行更换。
技术研发人员:王峰
受保护的技术使用者:昆山荣创胶粘制品有限公司
技术研发日:2021.07.07
技术公布日:2021/12/11