
1.本实用新型属于网袋编织袋加工领域,具体涉及一种分卷机。
背景技术:
2.网袋编织袋出厂时为双层的编织袋,在实际使用时需要将双层的网袋编织袋分卷成单层的两卷网袋编织袋,通过人力去进行分卷效率极低,通常会使用相应规格的分卷机去分卷编织袋。现有的分卷机结构复杂,不能简单轻易的限制成卷的编织袋在分卷机上的轴向移动,且没有比较好的方式将分卷出的单层编织袋的首端固定在副轮上。
技术实现要素:
3.因此,为了解决上述问题,本实用新型的目的在于提供一种分卷机,包括机架、主轮、至少两个副轮;所述主轮和所述副轮都分别旋转连接于驱动电机,在所述主轮远离所述机架的一端铰接连接有环形阵列分布的多个活动板,所述活动板与所述主轮的铰接连接处设有扭力弹簧,所述副轮上套设有套筒,所述套筒的内沿与所述副轮的外沿配合,所述套筒的外沿设有活动扣,所述活动扣铰接连接于所述套筒。
4.进一步地,所述副轮远离所述机架的一端也铰接连接有环形阵列分布的多个活动板。
5.进一步地,所述副轮活动连接于水平电机,水平电机能够驱动副轮在机架上左右移动。
6.进一步地,所述机架上设有多个安装座,所述安装座水平安装有调节杆。
7.进一步地,所述调节杆远离机架的一端设有凸环。
8.进一步地,所述主轮的内部还设有与所述主轮同轴且可轴向移动的拉环,所述拉环通过拉力线与所述活动板的后端连接。
9.本实用新型的有益效果是:
10.(1)需要分卷的编织袋由工作人员套放在主轮上,放入成卷的编织袋时,编织袋的内沿抵触活动板,使活动板克服弹簧拉力向后旋转,编织袋完全套放在主轮上时,活动板受弹簧拉力复位,限制编织袋轴向移动脱离主轮,使编织袋不会在旋转分卷的时候轴向移动;
11.(2)在副轮上设置活动扣,分别固定分卷出来的两卷编织袋的首端,方便分卷出的单层编织袋轴向厚度限制在一个区间内。
附图说明
12.为了更清楚地说明本实用新型实施例或现有技术中的技术方案,下面将对实施例或现有技术描述中所需要使用的附图作简单地介绍,显而易见地,下面描述中的附图仅仅是本实用新型的一些实施例,对于本领域普通技术人员来讲,在不付出创造性劳动的前提下,还可以根据这些附图获得其他的附图。
13.图1为本实用新型的结构示意图;
14.图2为本实用新型的左视结构示意图;
15.图3为副轮都轴向结构示意图;
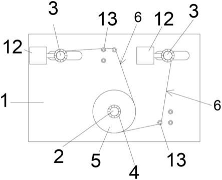
16.图4为未拉动拉环时主轮的结构示意图;
17.图5位拉动拉环时主轮的结构示意图;
18.其中,1、机架;11、驱动电机;12、水平电机;13、调节杆;14、凸环;2、主轮;3、副轮;31、套筒;32、活动扣;4、活动板;41、扭力弹簧;42、拉环;5、双层编织袋;6、单层编织袋。
具体实施方式
19.下面将对本实用新型实施例中的技术方案进行清楚、完整地描述,显然,所描述的实施例仅是本实用新型的一部分实施例,而不是全部的实施例。基于本实用新型中的实施例,本领域普通技术人员在没有做出创造性劳动前提下所获得的所有其它实施例,都属于本实用新型保护的范围。
20.下面将结合附图来描述本实用新型的具体实施方式。
21.实施例1:
22.图1-5示出本实用新型提供的一种分卷机,包括机架1、主轮2、两个副轮3;主轮2和副轮3都分别旋转连接于驱动电机11,在主轮2远离机架1的一端铰接连接有环形阵列分布的多个活动板4,活动板4与主轮2的铰接连接处设有扭力弹簧41,副轮3上套设有套筒31,套筒31的内沿与副轮3的外沿配合,套筒31的外沿设有活动扣32,活动扣32铰接连接于套筒31。
23.副轮3远离机架1的一端也铰接连接有环形阵列分布的多个活动板4,防止活动扣32松脱后编织袋在副轮3带动下旋转时同时发生轴向运动。
24.副轮3活动连接于水平电机12,水平电机12能够驱动副轮3在机架1上左右移动,工作人员能够根据实际情况调整两个副轮3的位置。
25.机架1上设有多个安装座,安装座水平安装有调节杆13,在主轮2的旋转电机与副轮3旋转电机的功率不匹配时,可能发生分卷出的编织袋未绷直而接触地面的情况,通过调节杆13给予分卷出的编织袋支撑点,防止编织袋跌落地面后附着灰尘或砂砾等硬物。
26.调节杆13远离机架1的一端设有凸环14,防止编织袋绕在调节杆13上时轴向移动脱落。
27.主轮2的内部还设有与主轮2同轴且可轴向移动的拉环42,拉环42通过拉力线与活动板4的后端连接,在实际生产中,分卷机有概率发生故障停止运作,此时需要取出未分卷完的编织袋,拉动拉环42活动板4收到拉力向后倾到,工作人员再取出编织袋。
28.工作原理:
29.将成卷的双层编织袋5套放在主轴上,套放时,编织袋的内沿抵压活动板4,使原本垂直于主轮的活动板4克服弹簧拉力向后旋转并贴合主轮的外表面,编织袋完全套放在主轮2上时,编织袋的内沿不再抵压活动板,活动板4受弹簧拉力复位,限制编织袋轴向移动脱离主轮2;放置好双层编织袋5后,将分卷出的单层编织袋6的首端拉出并通过活动扣32固定在副轮3上,旋转电机启动,双层编织袋5自动分卷成两卷单层的编织袋。
30.需要说明的是,当元件被称为“固定于”另一个元件,它可以直接在另一个元件上或者也可以存在居中的元件。当一个元件被认为是“连接”另一个元件,它可以是直接连接
到另一个元件或者可能同时存在居中元件。本文所使用的术语“上”、“下”、“左”、“右”以及类似的表述只是为了说明的目的。
技术特征:
1.一种分卷机,其特征在于,包括机架、主轮、至少两个副轮;所述主轮和所述副轮都分别旋转连接于驱动电机,在所述主轮远离所述机架的一端铰接连接有环形阵列分布的多个活动板,所述活动板与所述主轮的铰接连接处设有扭力弹簧,所述副轮上套设有套筒,所述套筒的内沿与所述副轮的外沿配合,所述套筒的外沿设有活动扣,所述活动扣铰接连接于所述套筒。2.根据权利要求1所述的分卷机,其特征在于,所述副轮远离所述机架的一端也铰接连接有环形阵列分布的活动板。3.根据权利要求1所述的分卷机,其特征在于,所述副轮活动连接于水平电机,所述水平电机能够驱动所述副轮在所述机架上左右移动。4.根据权利要求1所述的分卷机,其特征在于,所述机架上设有多个安装座,所述安装座水平安装有调节杆。5.根据权利要求4所述的分卷机,其特征在于,所述调节杆远离所述机架的一端设有凸环。6.根据权利要求1所述的分卷机,其特征在于,所述主轮的内部还设有与所述主轮同轴且可轴向移动的拉环,所述拉环通过拉力线与所述活动板的后端连接。
技术总结
本实用新型提供一种分卷机,包括机架、主轮、至少两个副轮;主轮和副轮都分别旋转连接于固定在机架上的驱动电机,在主轮远离机架的一端设有环形阵列分布的活动板,活动板铰接连接于主轮,活动板与主轮的铰接连接处设有扭力弹簧,副轮上套设有套筒,套筒的内沿与副轮的外沿配合,套筒的外沿设有活动扣,活动扣铰接连接于套筒。需要分卷的编织袋由工作人员套放在主轮上,放入成卷的编织袋时,编织袋的内沿抵触活动板,使活动板克服弹簧拉力向后旋转,编织袋完全套放在主轮上时,活动板受弹簧拉力复位,限制编织袋轴向移动脱离主轮,方便且简洁地使编织袋不会在旋转分卷的时候轴向移动。洁地使编织袋不会在旋转分卷的时候轴向移动。洁地使编织袋不会在旋转分卷的时候轴向移动。
技术研发人员:霍永佳
受保护的技术使用者:广东金溢盛特材有限公司
技术研发日:2021.08.25
技术公布日:2022/3/29

1.本实用新型涉及生料带生产技术领域,尤其涉及一种具有接料功能的生料带分卷机。背景技术:2.生料带是水暖安装中常用的一种辅助用品,用于管件连接处,增强管道连接处的密闭性。它是一种新颖理想的密封材料,由

本实用新型涉及生料带加工技术领域,尤其涉及一种生料带分切机用对边机构。背景技术:在对生料带的加工过程中,需要使用到分切机对生料带进行分切处理。而目前的分切机在对生料带的分切过程中,由于机械振动或者生料

铝箔分卷机,Aluminum Foil Separator1)Aluminum Foil Separator铝箔分卷机1.This Paper Analyzes The Problems Induci