
本实用新型涉及一种分切机的动力机构。
背景技术:
为了提升加工效率,市面一些片材(例如生料带)一般先加工成较宽的片材,之后,通过分切机分切成较窄的片材。如申请公布号cn105035826a,名称为“螺纹密封用聚四氟乙烯生料带裁条机”的中国发明专利申请中,公开了一种裁条机,该螺纹密封用聚四氟乙烯生料带裁条机,其包括支架、电机、减速器、开卷装置、张力辊、分切装置和收卷装置,所述分切装置设于开卷装置与收卷装置之间,所述开卷装置、张力辊、分切装置和收卷装置均设于支架上,张力辊(设于分切装置两侧,收卷装置包括放置绕带筒的上收卷装置和下收卷装置,经过分切装置的生料带分别从上收卷装置和下收卷装置绕筒,电机驱动收卷装置转动,减速器连接于电机与收卷装置之间。
上述的这类分切机中,在实际生产中,生料带在不同的路径中传送,因张力或者收料速度等有所差异,有时候会出现上收卷装置或下收卷装置生料带过于松弛,造成打滑或者积料现象,使得生料带难以整齐地收卷在料轴上,影响正常收料效率。而且上述分切机中,上收卷装置或下收卷装置上的料筒收满料之后,需要停机,将料筒卸下,放上新的料筒,影响了整个生料带的分切速度。
鉴于此,本案发明人对上述问题进行深入研究,遂有本案产生。
技术实现要素:
本实用新型的目的在于提供一种保证收料质量、生产效率高的分切机的动力机构。
为了达到上述目的,本实用新型采用这样的技术方案:
一种分切机的动力机构,该动力机构设置在机架上且与收料机构传动连接,收料机构包括上收料机构和下收料机构,上收料机构具有上收料驱动轴,下收料机构具有下收料驱动轴,所述动力机构包括主电机、用于实现上收料驱动轴和下收料驱动轴差速转动的差速器以及配合在差速器中的第一差速轴和第二差速轴,差速器可转动地安装在所述机架上,主电机与差速器传动连接,第一差速轴与上收料驱动轴传动连接,第二差速轴与下收料驱动轴传动连接。
作为本实用新型的一种优选方式,所述主电机与所述差速器通过皮带传动连接,主动机的输出端设有主动轮,皮带套设在主动轮与所述差速器上。
作为本实用新型的一种优选方式,所述第一差速轴上设有第一传动轮,所述第二差速轴上设有第二传动轮,所述上收料驱动轴上设有第三传动轮,所述下收料驱动轴上设有第四传动轮,第一传动轮通过第一传动带与第三传动轮传动连接,第二传动轮通过第二传动带与第四传动轮传动连接。
作为本实用新型的一种优选方式,所述上收料机构包括所述上收料驱动轴、可转动地设置所述机架上的第一切换轴、设置在第一切换轴上的第一换料架以及可转动地安装在第一换料架上的第一收料轴和第二收料轴,第一收料轴和第二收料轴分设在所述第一换料架的两侧,该动力机构还包括换料电机,换料电机的输出轴与第一切换轴传动连接,所述上收料驱动轴包括可转动地设置在所述机架上的上轴套、穿设在上轴套中的上驱动轴、套装在上驱动轴上的第一轴承以及用于驱动上驱动轴沿上轴套轴向移动的第一驱动机构,第一驱动机构包括第一缸体、配设在第一缸体中的第一活塞杆以及设置在第一活塞杆上的第一轴承套,第一轴承的外圈安装在第一轴承套内,上轴套与上驱动轴之间通过键连接,上驱动轴的端部上设有第一定位块,在第一收料轴上设有可与第一定位块配合的第一定位槽,在第二收料轴上设有可与第一定位块配合的第二定位槽。
作为本实用新型的一种优选方式,所述下收料机构包括所述下收料驱动轴、可转动地设置所述机架上的第二切换轴、设置在第二切换轴上的第二换料架以及可转动地安装在第二换料架上的第三收料轴和第四收料轴,第三收料轴和第四收料轴分设在所述第二换料架的两侧,所述换料电机的输出轴与第二切换轴传动连接,所述下收料驱动轴包括可转动地设置在所述机架上的下轴套、穿设在下轴套中的下驱动轴、套装在下驱动轴上的第二轴承以及用于驱动下驱动轴沿下轴套轴向移动的第二驱动机构,第二驱动机构包括第二缸体、配设在第二缸体中的第二活塞杆以及设置在第二活塞杆上的第二轴承套,第二轴承的外圈安装在第二轴承套内,下轴套与下驱动轴之间通过键连接,下驱动轴的端部上设有第二定位块,在第三收料轴上设有可与第二定位块配合的第三定位槽,在第四收料轴上设有可与第二定位块配合的第四定位槽。
作为本实用新型的一种优选方式,所述上驱动轴上设有用于限制所述第一轴承在脱离所述上驱动轴上的第一限位机构,所述下驱动轴上设有用于限制所述第二轴承脱离所述下驱动轴的第二限位机构。
作为本实用新型的一种优选方式,所述第一切换轴上设有第五传动轮,所述第二切换轴上设有第六传动轮,所述换料电机的输出端上设有第七传动轮,第七传动轮与第五传动轮或者第六传动轮传动连接,在第五传动轮和第六传动轮上套设有第三传动带。
作为本实用新型的一种优选方式,还包括用于调整所述第三传动带的张力调整机构,张力调整机构包括调整块,调整块上设有调整槽,调整槽中设有调整螺钉,调整螺钉螺接在所述机架上,调整块上设有张紧轮,张紧轮抵顶在所述第三传动带上。
作为本实用新型的一种优选方式,所述第一切换轴上设有第一定位卡槽,在所述机架上铰接有第一定位摆块,在所述机架上设有用于驱动第一定位摆块卡入或者脱离第一定位卡槽的第一定位气缸,所述第二切换轴上设有第二定位卡槽,在所述机架上铰接有第二定位摆块,在所述机架上设有用于驱动第二定位摆块卡入或者脱离第二定位卡槽的第二定位气缸。
采用本实用新型的技术方案后,通过设置差速器、第一差速轴和第二差速轴可以实现上收料驱动轴和下收料驱动轴的差速转动,当上收料驱动轴的片材较为松弛,下收料驱动轴的片材较为张紧时,通过差速器的作用,可以使得上收料驱动轴的转速大于下收料驱动轴,直到实现上收料驱动轴转速和下收料驱动轴转速的同步,提升收料质量,避免堆料和打滑,提高生产效率,本实用新型的动力机构可以用于各种分切机中。
附图说明
图1为本发明中分切机的结构示意图;
图2为图1另一角度的结构示意图;
图3为本发明中动力机构的结构示意图(为了方便观看,传动带未示出);
图4为图3中a处的放大图;
图5为图4中b处的放大图;
图6为本发明中上料机构的结构示意图;
图7为本发明中第二限位套的结构示意图;
图8为本发明中差速器的结构简图;
10-机架11-导辊
20-上收料机构21-第一收料轴
22-第二收料轴23-第一切换轴
24-第一换料架25-第五传动轮
26-第一定位槽27-第二定位槽
30-下收料机构
31-第三收料轴32-第四收料轴
33-第二切换轴34-第二换料架
35-第六传动轮40-分切机构
50-主电机51-主动轮
52-减速机53-差速器
54-第一差速轴55-第二差速轴
56-第一传动带57-第二传动带
58-第一传动轮59-第二传动轮
60-上收料驱动轴61-上驱动轴
62-第一轴承63-第一缸体
64-第一活塞杆65-第一轴承套
66-第三传动轮67-上轴套
68-第一定位块69-第七传动轮
70-下收料驱动轴71-第四传动轮
80-换料电机
81-第三传动带82-第一气缸
83-第一定位摆块84-第一定位卡块
85-第一定位卡槽86-调整块
87-张紧轮88-调整槽
89-调整螺钉91-转动电机
92-胶水槽93-粘胶辊
100-生料带200-上料机构
201-基座202-支撑架
203-滑轨204-支撑料轴
2041-外螺纹205-抵靠座
206-卡槽207-旋转轴
208-第一限位套209-第二限位套
210-磁粉离合器211-收纳槽
212-弹簧213-卡片
214-卡持部215-操作部
216-铰接轴541-行星轮架
542-行星齿轮543-第一半轴齿轮
542-第二半轴齿轮
具体实施方式
为了进一步解释本发明的技术方案,下面结合附图进行详细阐述。
参照图1至图8,一种柔性片材分切装置,其可以用在生料带的分切,包括机架10、上料机构、收料机构、分切机构40、用于调整片材张力的张力机构以及用于驱动收料机构转动的动力机构,其中所述张力机构为布设在生料带行走路径上的多个导辊11,导辊11可转动地安装在机架10上,生料带绕设在导辊11上,所述上料机构为可转动地设置在所述机架10上的料轴,或者上料机构为生料带制造设备,生料带生产后引入分切装置进行分切。分切机构主要包括刀架和安装在刀架上的切刀,切刀将生料带100抵压在导辊11上,生料带100经过切刀被分割成多条宽度较小的生料带,上述的这些结构在现有的分切机中已有介绍,这里不再详述。
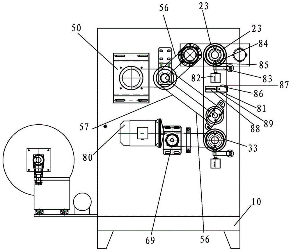
本实用新型中收料机构包括上收料机构20和下收料机构30,分切机构40设置在上料机构200与收料机构之间,上收料机构20具有上收料驱动轴60,下收料机构30具有下收料驱动轴70,所述动力机构包括主电机50、用于实现上收料驱动轴60和下收料驱动轴70差速转动的差速器53以及配合在差速器53中的第一差速轴54和第二差速轴55,差速器53可转动地安装在所述机架10上,主电机50与差速器53传动连接,第一差速轴54与上收料驱动轴60传动连接,第二差速轴55与下收料驱动轴70传动连接。差速器53使得第一差速轴54和第二差速轴55可以实现差速转动,其可以直接从市面上购买,其也可以采用与汽车领域常用的差速器类似的结构,主要包括设置在行星齿轮542、行星轮架541、设置在第一差速轴54的第一半轴齿轮543、设置在第二差速轴55上的第二半轴齿轮544,本领域的技术人员可以将其简单地变换或者调整并用在本实用新型中。
作为本实用新型的一种优选方式,所述主电机50与所述差速器53通过皮带传动连接,主动机50的输出端设有主动轮51,皮带套设在主动轮51与所述差速器53上,通过主动机53带动差速器53转动,进而通过差速器53带动第一差速轴54和第二差速轴55转动。
作为本实用新型的一种优选方式,所述第一差速轴54上设有第一传动轮58,所述第二差速轴55上设有第二传动轮59,所述上收料驱动轴60上设有第三传动轮66,所述下收料驱动轴70上设有第四传动轮71,第一传动轮58通过第一传动带56与第三传动轮66传动连接,第二传动轮59通过第二传动带57与第四传动轮71传动连接。
作为本实用新型的一种优选方式,所述上收料机构20包括所述上收料驱动轴60、可转动地设置所述机架10上的第一切换轴23、设置在第一切换轴23上的第一换料架24以及可转动地安装在第一换料架24上的第一收料轴21和第二收料轴22,第一换料架24呈矩形,第一收料轴21和第二收料轴22分设在第一换料架24长度方向的两端。柔性片材分切装置还包括换料电机80,换料电机80的输出轴与第一切换轴23传动连接,所述上收料驱动轴60包括可转动地设置在所述机架10上的上轴套67、穿设在上轴套67中的上驱动轴61、套装在上驱动轴61上的第一轴承62以及用于驱动上驱动轴61沿上轴套67轴向移动的第一驱动机构,第一驱动机构包括第一缸体63、配设在第一缸体63中的第一活塞杆64以及设置在第一活塞杆64上的第一轴承套65,第一缸体63例如可以采用气缸,第一轴承62的外圈安装在第一轴承套65内,上轴套67与上驱动轴61之间通过键连接,使得上轴套67不会相对上驱动轴61转动,上驱动轴61的端部上设有第一定位块68,在第一收料轴21上设有可与第一定位块68配合的第一定位槽26,在第二收料轴22上设有可与第一定位块68配合的第二定位槽27。当第一切换轴23转动180度后,可以在第一收料轴21与上驱动轴61配合,第二收料轴22与上驱动轴61配合两种方式中进行切换。在第一切换轴23转动过程中,第一定位块68从第一定位槽26或者第二定位槽27中脱离,当第一收料轴21或者第二收料轴22转动至预定的位置时,第一定位块68伸入第一定位槽26或者第二定位槽27中,从而带动第一收料轴21或者第二收料轴22自转。
本实用新型中,下收料机构30的结构与上收料机构20的结构相同,两者仅在设置位置不同,所述下收料机构30包括所述下收料驱动轴70、可转动地设置所述机架10上的第二切换轴33、设置在第二切换轴33上的第二换料架34以及可转动地安装在第二换料架34上的第三收料轴31和第四收料轴32,第三收料轴31和第四收料轴32分设在所述第二换料架34的两侧,所述换料电机80的输出轴与第二切换轴33传动连接,所述下收料驱动轴70包括可转动地设置在所述机架10上的下轴套、穿设在下轴套中的下驱动轴、套装在下驱动轴上的第二轴承以及用于驱动下驱动轴沿下轴套轴向移动的第二驱动机构,第二驱动机构包括第二缸体、配设在第二缸体中的第二活塞杆以及设置在第二活塞杆上的第二轴承套,第二轴承的外圈安装在第二轴承套内,下轴套与下驱动轴之间通过键连接,下驱动轴的端部上设有第二定位块,在第三收料轴上设有可与第二定位块配合的第三定位槽,在第四收料轴上设有可与第二定位块配合的第四定位槽。
作为本实用新型的一种优选方式,所述上驱动轴61上设有用于限制所述第一轴承62在脱离所述上驱动轴61上的第一限位机构,第一限位机构例如可采用卡簧或者限位凸缘等结构,其用于避免第一轴承62从上驱动轴61上滑脱,所述下驱动轴上设有用于限制所述第二轴承脱离所述下驱动轴的第二限位机构。
作为本实用新型的一种优选方式,所述第一切换轴23上设有第五传动轮25,所述第二切换轴33上设有第六传动轮35,所述换料电机80的输出端上设有第七传动轮69,第七传动轮69与第五传动轮25或者第六传动轮35传动连接,例如可以通过皮带或者链条传动连接,在实施例中,是在第二切换轴33上还设有链轮,通过该链轮与第七传动轮69传动连接,在第五传动轮25和第六传动轮35上套设有第三传动带81。
采用本实用新型的技术方案,上收料机构20和下收料机构30均有两根收料轴,收料轴上配置相应的收料筒,其中一根收料轴进行收料,另一根处于待收料状态,当其中一根收料轴满料时,通过切换轴进行位置切换,剪料,并使得另一根收料轴进行收料,之后再进行卸料,能够节省卸料时间,提高生产效率。本实用新型中上收料机构和下收料机构也可以用在没有差速器的分切装置中,以提高装料和卸料效率。
作为本实用新型的一种优选方式,还包括用于调整所述第三传动带81的张力调整机构,张力调整机构包括调整块86,调整块86上设有调整槽88,调整槽88呈长条状,调整槽88中设有调整螺钉89,调整螺钉89可在调整槽88中滑动,调整螺钉89螺接在所述机架10上,调整块86上设有张紧轮87,张紧轮87抵顶在所述第三传动带81上,通过将调整块86定位在机架10的不同位置,可以实现第三传动带81的张紧,该调整机构结构简易,操作方便。
作为本实用新型的一种优选方式,所述第一切换轴23上设有第一定位卡槽85,在所述机架10上铰接有第一定位摆块83,在所述机架10上设有用于驱动第一定位摆块83卡入或者脱离第一定位卡槽85的第一定位气缸82,在第一收料轴21和第二收料轴22位置切换之后,使得第一定位摆块83卡入第一定位卡槽85中,避免第一切换轴23发生自转。所述第二切换轴上设有第二定位卡槽,在所述机架10上铰接有第二定位摆块,在所述机架10上设有用于驱动第二定位摆块卡入或者脱离第二定位卡槽的第二定位气缸。
本实用新型还提出一种分切机卸料辅助机构,该辅助机构包括胶水槽92、转动电机91以及设置在转动电机91的输出轴上的粘胶辊93,粘胶辊93设置在胶水槽92的上方并可在转动电机91的驱动下伸入胶水槽92中进行蘸取胶水,粘胶辊93沿水平方向设置,其与转动电机91的输出轴偏心设置,粘胶辊93设置在片材的下方,通过粘胶辊93在片材的下表涂覆胶水,使得片材收卷后自动粘合,之后将片材剪断,进行卸料,通过自动粘合,可以进一步提高卸料效率。
本实用新型还对上料机构200做出了改进,上料机构200包括基座201、设置在基座201上的支撑架202以及可转动地设置在支撑架202上的支撑料轴204,支撑料轴204沿水平方向设置,在支撑架202上设有抵靠座205,抵靠座205上设有敞开式卡槽206,卡槽206呈倒置90度的u型,支撑料轴204的一端通过旋转轴207可转动地安装在支撑架201上,另一端搭接在卡槽206中,旋转轴207沿竖直方向设置。在支撑料轴200上设有第一限位套208和第二限位套209,第一限位套208固定安装在支撑料轴204上,第二限位套209通过卡合机构活动套设在支撑料轴204上。第一限位套208和第二限位套209均呈锥状,待分切的生料带200绕卷在料筒101上,第一限位套208和第二限位套209卡接在料筒101的两端,实现料筒101的定位。
优选地,上述支撑料轴204对应第二限位套209的位置设有外螺纹2041,上述卡合机构包括可转动地安装在第二限位套209中的卡片213,卡片213通过铰接轴216安装在第二限位套209中,卡片213嵌入第二限位套209中,卡片213沿第二限位套209的周向设置,卡片213的一端设有与外螺纹2041配合的卡持部214,卡持部214伸入第二限位套209的轴孔中,在第二限位套209中还设有收纳槽211,收纳槽211中设有弹簧212,弹簧212以一定的预紧力抵顶在在卡片213的另一端,使得卡持部214卡入外螺纹2041,实现第二限位套209的定位,避免第二限位套209轴向移动,需要松开第二限位套209时,压缩卡片203对应弹簧212的一端(即操作部215),使得卡片214从外螺纹2041中脱离,此时可以将支撑料轴204从抵靠座205的卡槽206中移开,将第二限位套209从支撑料轴20中取下,将料筒101从支撑料轴204取下或者将料筒101装入支撑料轴204中。本实用新型的上料机构200,在更换具有更换料筒101方便快捷,能够减小劳动强度的优点。本实用新型的上料机构可以用于其它分切机构,并不局限用于本实用新型具有差速器的分切机中。
优选地,支撑料轴204通过磁粉离合器210安装在所述旋转轴207上,磁粉离合器210和主电机50均连接至控制器,磁粉离合器210和主电机50通过控制器进行配合,实现放料的平稳控制。优选地,支撑架202通过滑轨201可滑动地安装在基座201上,还包括用于驱动支撑架202移动的驱动装置,驱动装置例如可以采用油缸或者丝杆等。
本实用新型的产品形式并非限于本案图示和实施例,任何人对其进行类似思路的适当变化或修饰,皆应视为不脱离本实用新型的专利范畴。
技术特征:
1.一种分切机的动力机构,该动力机构设置在机架上且与收料机构传动连接,收料机构包括上收料机构和下收料机构,上收料机构具有上收料驱动轴,下收料机构具有下收料驱动轴,其特征在于:所述动力机构包括主电机、用于实现上收料驱动轴和下收料驱动轴差速转动的差速器以及配合在差速器中的第一差速轴和第二差速轴,差速器可转动地安装在所述机架上,主电机与差速器传动连接,第一差速轴与上收料驱动轴传动连接,第二差速轴与下收料驱动轴传动连接。
2.如权利要求1所述的一种分切机的动力机构,其特征在于:所述主电机与所述差速器通过皮带传动连接,主动机的输出端设有主动轮,皮带套设在主动轮与所述差速器上。
3.如权利要求2所述的一种分切机的动力机构,其特征在于:所述第一差速轴上设有第一传动轮,所述第二差速轴上设有第二传动轮,所述上收料驱动轴上设有第三传动轮,所述下收料驱动轴上设有第四传动轮,第一传动轮通过第一传动带与第三传动轮传动连接,第二传动轮通过第二传动带与第四传动轮传动连接。
4.如权利要求3所述的一种分切机的动力机构,其特征在于:所述上收料机构包括所述上收料驱动轴、可转动地设置所述机架上的第一切换轴、设置在第一切换轴上的第一换料架以及可转动地安装在第一换料架上的第一收料轴和第二收料轴,第一收料轴和第二收料轴分设在所述第一换料架的两侧,该动力机构还包括换料电机,换料电机的输出轴与第一切换轴传动连接,所述上收料驱动轴包括可转动地设置在所述机架上的上轴套、穿设在上轴套中的上驱动轴、套装在上驱动轴上的第一轴承以及用于驱动上驱动轴沿上轴套轴向移动的第一驱动机构,第一驱动机构包括第一缸体、配设在第一缸体中的第一活塞杆以及设置在第一活塞杆上的第一轴承套,第一轴承的外圈安装在第一轴承套内,上轴套与上驱动轴之间通过键连接,上驱动轴的端部上设有第一定位块,在第一收料轴上设有可与第一定位块配合的第一定位槽,在第二收料轴上设有可与第一定位块配合的第二定位槽。
5.如权利要求4所述的一种分切机的动力机构,其特征在于:所述下收料机构包括所述下收料驱动轴、可转动地设置所述机架上的第二切换轴、设置在第二切换轴上的第二换料架以及可转动地安装在第二换料架上的第三收料轴和第四收料轴,第三收料轴和第四收料轴分设在所述第二换料架的两侧,所述换料电机的输出轴与第二切换轴传动连接,所述下收料驱动轴包括可转动地设置在所述机架上的下轴套、穿设在下轴套中的下驱动轴、套装在下驱动轴上的第二轴承以及用于驱动下驱动轴沿下轴套轴向移动的第二驱动机构,第二驱动机构包括第二缸体、配设在第二缸体中的第二活塞杆以及设置在第二活塞杆上的第二轴承套,第二轴承的外圈安装在第二轴承套内,下轴套与下驱动轴之间通过键连接,下驱动轴的端部上设有第二定位块,在第三收料轴上设有可与第二定位块配合的第三定位槽,在第四收料轴上设有可与第二定位块配合的第四定位槽。
6.如权利要求5所述的一种分切机的动力机构,其特征在于:所述上驱动轴上设有用于限制所述第一轴承在脱离所述上驱动轴上的第一限位机构,所述下驱动轴上设有用于限制所述第二轴承脱离所述下驱动轴的第二限位机构。
7.如权利要求6所述的一种分切机的动力机构,其特征在于:所述第一切换轴上设有第五传动轮,所述第二切换轴上设有第六传动轮,所述换料电机的输出端上设有第七传动轮,第七传动轮与第五传动轮或者第六传动轮传动连接,在第五传动轮和第六传动轮上套设有第三传动带。
8.如权利要求7所述的一种分切机的动力机构,其特征在于:还包括用于调整所述第三传动带的张力调整机构,张力调整机构包括调整块,调整块上设有调整槽,调整槽中设有调整螺钉,调整螺钉螺接在所述机架上,调整块上设有张紧轮,张紧轮抵顶在所述第三传动带上。
9.如权利要求8所述的一种分切机的动力机构,其特征在于:所述第一切换轴上设有第一定位卡槽,在所述机架上铰接有第一定位摆块,在所述机架上设有用于驱动第一定位摆块卡入或者脱离第一定位卡槽的第一定位气缸,所述第二切换轴上设有第二定位卡槽,在所述机架上铰接有第二定位摆块,在所述机架上设有用于驱动第二定位摆块卡入或者脱离第二定位卡槽的第二定位气缸。
技术总结
本实用新型涉及一种分切机的动力机构,该动力机构设置在机架上且与收料机构传动连接,收料机构包括上收料机构和下收料机构,上收料机构具有上收料驱动轴,下收料机构具有下收料驱动轴,所述动力机构包括主电机、用于实现上收料驱动轴和下收料驱动轴差速转动的差速器以及配合在差速器中的第一差速轴和第二差速轴,差速器可转动地安装在所述机架上,主电机与差速器传动连接,第一差速轴与上收料驱动轴传动连接,第二差速轴与下收料驱动轴传动连接。采用本实用新型的技术方案后,能提升收料质量,避免堆料和打滑,提高生产效率,本实用新型的动力机构可以用于各种分切机中。
技术研发人员:张庭君
受保护的技术使用者:晋江市科协机电设备有限公司
技术研发日:2018.12.06
技术公布日:2020.03.20

自创立以来,米兰体育官方正版下载地址始终致力于打造全球领先的分切设备,以创新技术、优质产品和专业服务赢得了广泛赞誉。

本实用新型涉及一种熔喷无纺布加工领域,特别涉及一种医用熔喷无纺布检测分切机。背景技术:1)目前通过对加入驻极体的熔喷无纺布进行静电处理,可用于口罩,呼吸机等空气过滤产品。其原理主要是物理过滤大颗粒物质

本实用新型涉及一种分切机母卷上料装置。背景技术:目前薄膜生产线在薄膜输送过程中需要将薄膜从母卷上放置在分切机上,然后进行分切操作。传统的母卷需要人工搬运到分切机上,这样分切效率下降,而且人工搬运十分辛