
本实用新型属于热敏票生产设备技术领域,尤其是涉及一种卷式热敏票分切机纠偏装置。
背景技术:
在热敏票分切的工序中,为了保证分切后的热敏票宽度一致,需要对热敏票在传输过程进行偏移调整,而传统的所用的热敏票分切纠偏装置结构设置不合理,使用不方便,纠偏操作是工人手动操作,采用人工对边,故工作效率较低,生产成本高,并且生产出的产品质量得不到保证,其合格率较低,不能满足规模化生产的需要,实用性差。
针对上述技术问题,故需要进行改进。
技术实现要素:
本实用新型是为了克服上述现有技术中的缺陷,提供一种结构设置合理、使用方便、纠偏工作效率高、能够降低生产成本且容易保证加工质量的卷式热敏票分切机纠偏装置。
为了达到以上目的,本实用新型所采用的技术方案是:一种卷式热敏票分切机纠偏装置,包括工作台,所述工作台下端焊接有工作台支架,工作台上端面上焊接有不锈钢面板,所述不锈钢面板的左端设置有定位支架,所述定位支架上端可拆卸设置有纠偏箱,所述定位支架右端设置有分切装置,所述纠偏箱内可拆卸设置有一个纠偏支架,所述纠偏支架包括底板、左竖支撑板和右竖支撑板,所述底板上穿设有多个第一连接螺钉,底板通过第一连接螺钉与纠偏箱的内底面连接固定,所述左竖支撑板的下端与底板的上端面左端焊接固定,左竖支撑板右端设置有第一纠偏板,该第一纠偏板的左端面与左竖支撑板的右端面之间焊接有多根第一定位弹簧;右竖支撑板的下端与底板的上端面右端焊接固定,右竖支撑板左端设置有第二纠偏板,该第二纠偏板的右端面与右竖支撑板的左端面之间焊接有多根第二定位弹簧,所述纠偏箱上端可拆卸设置有盖板,所述盖板的内壁面上固定粘接有橡胶垫。
通过采用上述技术方案,纠偏箱内的第一纠偏板和第二纠偏板之间构成一体自动纠偏通过,第一纠偏板和第二纠偏板在各自的定位弹簧的作用下对现有的热敏票起到纠偏作用,热敏票在传输过程中纠偏后进入分切装置进行分切,结构设置合理、使用方便、纠偏工作效率高、能够降低生产成本且容易保证加工质量,满足规模化生产的需要,实用性好。
作为本实用新型的一种优选方案,所述分切装置包括定位槽辊、分切刀、刀架、驱动气缸和机架,所述刀架左端与分切刀连接,刀架右端与机架铰接,所述驱动气缸的活塞杆与刀架连接,驱动气缸的尾部与机架连接,通过驱动气缸的活塞杆伸长使分切刀位于定位槽辊的凹槽内。通过本设置,分切装置结构设置合理,结构简单,分切定位可靠,分切工作可靠,容易保证加工质量。
作为本实用新型的一种优选方案,所述定位支架与定位槽辊之间设置有照明装置,所述照明装置包括灯架和灯板,所述灯板上固定设置有灯座,所述灯座上固定设置有不锈钢蛇皮管,所述不锈钢蛇皮管背离灯板位置螺纹连接有LED照明灯。通过本设置,照明装置设置合理,能够在工作时起到照明作用。
作为本实用新型的一种优选方案,所述灯架包括连接螺管、固定板和调节螺杆,所述连接螺管下端与固定板上端面中部位置焊接固定,固定板上穿设有多个第二连接螺钉,固定板通过第二连接螺钉连接固定,所述调节螺杆下端与连接螺管上端螺纹连接,所述灯板中部穿设有第三连接螺钉,灯板通过第三连接螺钉与调节螺杆连接固定。通过本设置,结构设置更加合理,结构简单,工作可靠。
作为本实用新型的一种优选方案,所述定位支架下端设置有底座,所述底座下端与不锈钢面板焊接固定,定位支架下端与底座通过螺钉连接固定,定位支架上端与纠偏箱通过螺钉连接固定。通过本设置,结构设置更加合理,定位支架连接方便,固定可靠。
作为本实用新型的一种优选方案,所述第一纠偏板和第二纠偏板对称设置,且第一纠偏板和第二纠偏板均为不锈钢材质。通过本设置,第一纠偏板和第二纠偏板设置合理,纠偏效果好,使用寿命长。
作为本实用新型的一种优选方案,所述第一纠偏板和第二纠偏板均呈L型结构。通过本设置,第一纠偏板和第二纠偏板结构设置合理,工作可靠。
作为本实用新型的一种优选方案,所述机架下端与工作台右端焊接固定,所述驱动气缸的尾部与机架通过螺钉连接固定,驱动气缸的活塞杆与刀架通过螺栓连接固定;刀架右端与机架通过销轴铰接。通过本设置,各部件连接方便,固定可靠。
作为本实用新型的一种优选方案,第一纠偏板的左端面与左竖支撑板的右端面之间共焊接四根第一定位弹簧;第二纠偏板的右端面与右竖支撑板的左端面之间共焊接四根第二定位弹簧。通过本设置,第一定位弹簧和第二定位弹簧的数量设置合理,工作可靠。
作为本实用新型的一种优选方案,所述盖板与纠偏箱通过螺钉连接固定。通过本设置,盖板与纠偏箱连接方便,固定可靠。
本实用新型的有益效果是:与现有技术相比,本实用新型结构设置更加合理,纠偏箱内的第一纠偏板和第二纠偏板之间构成一体自动纠偏通过,第一纠偏板和第二纠偏板在各自的定位弹簧的作用下对现有的热敏票起到纠偏作用,热敏票在传输过程中纠偏后进入分切装置进行分切,结构设置合理、使用方便、纠偏工作效率高、能够降低生产成本且容易保证加工质量,满足规模化生产的需要,实用性好。
附图说明
图1是本实用新型实施例的结构示意图;
图2是本实用新型实施例纠偏箱的结构示意图。
具体实施方式
下面结合附图对本实用新型实施例作详细说明。
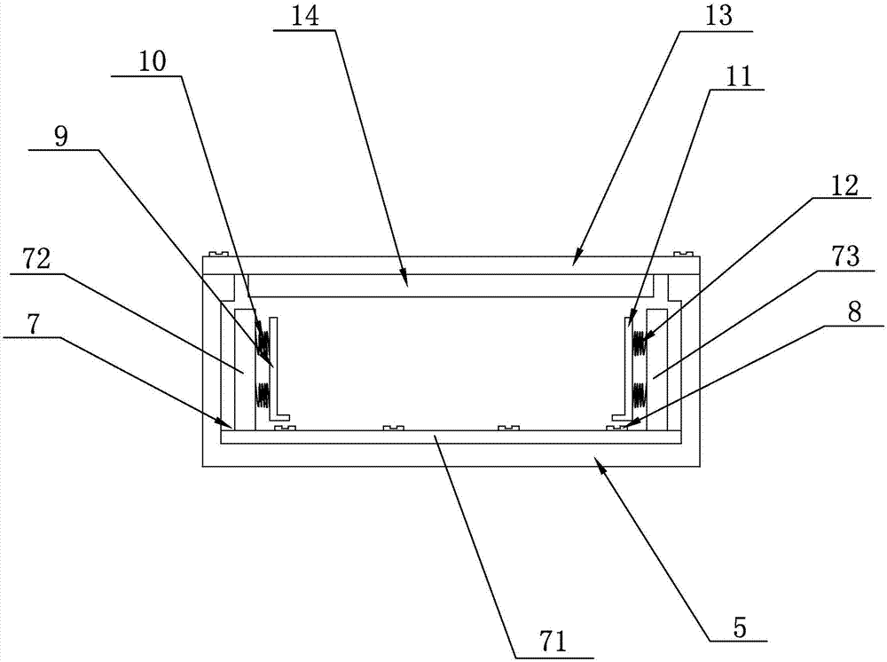
实施例:如图1和图2所示,一种卷式热敏票分切机纠偏装置,包括工作台1,所述工作台1下端焊接有工作台支架2,工作台1上端面上焊接有不锈钢面板3,所述不锈钢面板3的左端设置有定位支架4,所述定位支架4上端可拆卸设置有纠偏箱5,所述定位支架4右端设置有分切装置6,所述纠偏箱5内可拆卸设置有一个纠偏支架7,所述纠偏支架7包括底板71、左竖支撑板72和右竖支撑板73,所述底板71上穿设有多个第一连接螺钉8,底板71通过第一连接螺钉8与纠偏箱5的内底面连接固定,所述左竖支撑板72的下端与底板71的上端面左端焊接固定,左竖支撑板72右端设置有第一纠偏板9,该第一纠偏板9的左端面与左竖支撑板72的右端面之间焊接有多根第一定位弹簧10;右竖支撑板73的下端与底板71的上端面右端焊接固定,右竖支撑板73左端设置有第二纠偏板11,该第二纠偏板11的右端面与右竖支撑板73的左端面之间焊接有多根第二定位弹簧12,所述纠偏箱5上端可拆卸设置有盖板13,所述盖板13的内壁面上固定粘接有橡胶垫14。
作为优选的所述分切装置6包括定位槽辊61、分切刀62、刀架63、驱动气缸64和机架65,所述刀架63左端与分切刀62连接,刀架63右端与机架65铰接,所述驱动气缸64的活塞杆与刀架63连接,驱动气缸64的尾部与机架65连接,通过驱动气缸64的活塞杆伸长使分切刀62位于定位槽辊61的凹槽内。
为使本实用新型结构更加合理,作为优选的,本实施例所述定位支架4与定位槽辊61之间设置有照明装置15,所述照明装置15包括灯架和灯板151,所述灯板151上固定设置有灯座152,所述灯座152上固定设置有不锈钢蛇皮管153,所述不锈钢蛇皮管153背离灯板151位置螺纹连接有LED照明灯154。
所述灯架包括连接螺管155、固定板156和调节螺杆157,所述连接螺管155下端与固定板156上端面中部位置焊接固定,固定板156上穿设有多个第二连接螺钉158,固定板156通过第二连接螺钉158连接固定,所述调节螺杆157下端与连接螺管155上端螺纹连接,所述灯板151中部穿设有第三连接螺钉159,灯板151通过第三连接螺钉159与调节螺杆157连接固定。
所述定位支架4下端设置有底座16,所述底座16下端与不锈钢面板3焊接固定,定位支架4下端与底座16通过螺钉连接固定,定位支架4上端与纠偏箱5通过螺钉连接固定。
所述第一纠偏板9和第二纠偏板11对称设置,且第一纠偏板9和第二纠偏板11均为不锈钢材质。作为优选的,所述第一纠偏板9和第二纠偏板11均呈L型结构。
所述机架65下端与工作台1右端焊接固定,所述驱动气缸64的尾部与机架65通过螺钉连接固定,驱动气缸64的活塞杆与刀架63通过螺栓连接固定;刀架63右端与机架65通过销轴铰接。
第一纠偏板9的左端面与左竖支撑板72的右端面之间共焊接四根第一定位弹簧10;第二纠偏板11的右端面与右竖支撑板73的左端面之间共焊接四根第二定位弹簧12。
所述盖板13与纠偏箱5通过螺钉连接固定。
实际应用时,纠偏箱内的第一纠偏板和第二纠偏板之间构成一体自动纠偏通过,第一纠偏板和第二纠偏板在各自的定位弹簧的作用下对现有的热敏票起到纠偏作用,热敏票在传输过程中纠偏后进入分切装置进行分切,结构设置合理、使用方便、纠偏工作效率高、能够降低生产成本且容易保证加工质量,满足规模化生产的需要,实用性好。
对所公开的实施例的上述说明,使本领域专业技术人员能够实现或使用本实用新型。对这些实施例的多种修改对本领域的专业技术人员来说将是显而易见的,本文中所定义的一般原理可以在不脱离本实用新型的精神或范围的情况下,在其它实施例中实现;因此,本实用新型将不会被限制于本文所示的这些实施例,而是要符合与本文所公开的原理和新颖特点相一致的最宽的范围。
尽管本文较多地使用了图中附图标记:工作台1、工作台支架2、不锈钢面板3、定位支架4、纠偏箱5、分切装置6、纠偏支架7、第一连接螺钉8、第一纠偏板9、第一定位弹簧10、第二纠偏板11和第二定位弹簧12等术语,但并不排除使用其它术语的可能性;使用这些术语仅仅是为了更方便地描述和解释本实用新型的本质;把它们解释成任何一种附加的限制都是与本实用新型精神相违背的。
技术特征:
1.一种卷式热敏票分切机纠偏装置,包括工作台(1),所述工作台(1)下端焊接有工作台支架(2),工作台(1)上端面上焊接有不锈钢面板(3),其特征在于:所述不锈钢面板(3)的左端设置有定位支架(4),所述定位支架(4)上端可拆卸设置有纠偏箱(5),所述定位支架(4)右端设置有分切装置(6),所述纠偏箱(5)内可拆卸设置有一个纠偏支架(7),所述纠偏支架(7)包括底板(71)、左竖支撑板(72)和右竖支撑板(73),所述底板(71)上穿设有多个第一连接螺钉(8),底板(71)通过第一连接螺钉(8)与纠偏箱(5)的内底面连接固定,所述左竖支撑板(72)的下端与底板(71)的上端面左端焊接固定,左竖支撑板(72)右端设置有第一纠偏板(9),该第一纠偏板(9)的左端面与左竖支撑板(72)的右端面之间焊接有多根第一定位弹簧(10);右竖支撑板(73)的下端与底板(71)的上端面右端焊接固定,右竖支撑板(73)左端设置有第二纠偏板(11),该第二纠偏板(11)的右端面与右竖支撑板(73)的左端面之间焊接有多根第二定位弹簧(12),所述纠偏箱(5)上端可拆卸设置有盖板(13),所述盖板(13)的内壁面上固定粘接有橡胶垫(14)。
2.根据权利要求1所述的一种卷式热敏票分切机纠偏装置,其特征在于:所述分切装置包括定位槽辊(61)、分切刀(62)、刀架(63)、驱动气缸(64)和机架(65),所述刀架(63)左端与分切刀(62)连接,刀架(63)右端与机架(65)铰接,所述驱动气缸(64)的活塞杆与刀架(63)连接,驱动气缸(64)的尾部与机架(65)连接,通过驱动气缸(64)的活塞杆伸长使分切刀(62)位于定位槽辊(61)的凹槽内。
3.根据权利要求2所述的一种卷式热敏票分切机纠偏装置,其特征在于:所述定位支架(4)与定位槽辊(61)之间设置有照明装置(15),所述照明装置(15)包括灯架和灯板(151),所述灯板(151)上固定设置有灯座(152),所述灯座(152)上固定设置有不锈钢蛇皮管(153),所述不锈钢蛇皮管(153)背离灯板(151)位置螺纹连接有LED照明灯(154)。
4.根据权利要求3所述的一种卷式热敏票分切机纠偏装置,其特征在于:所述灯架包括连接螺管(155)、固定板(156)和调节螺杆(157),所述连接螺管(155)下端与固定板(156)上端面中部位置焊接固定,固定板(156)上穿设有多个第二连接螺钉(158),固定板(156)通过第二连接螺钉(158)连接固定,所述调节螺杆(157)下端与连接螺管(155)上端螺纹连接,所述灯板(151)中部穿设有第三连接螺钉(159),灯板(151)通过第三连接螺钉(159)与调节螺杆(157)连接固定。
5.根据权利要求4所述的一种卷式热敏票分切机纠偏装置,其特征在于:所述定位支架(4)下端设置有底座(16),所述底座(16)下端与不锈钢面板(3)焊接固定,定位支架(4)下端与底座(16)通过螺钉连接固定,定位支架(4)上端与纠偏箱(5)通过螺钉连接固定。
6.根据权利要求1所述的一种卷式热敏票分切机纠偏装置,其特征在于:所述第一纠偏板(9)和第二纠偏板(11)对称设置,且第一纠偏板(9)和第二纠偏板(11)均为不锈钢材质。
7.根据权利要求6所述的一种卷式热敏票分切机纠偏装置,其特征在于:所述第一纠偏板(9)和第二纠偏板(11)均呈L型结构。
8.根据权利要求5所述的一种卷式热敏票分切机纠偏装置,其特征在于:所述机架(65)下端与工作台(1)右端焊接固定,所述驱动气缸(64)的尾部与机架(65)通过螺钉连接固定,驱动气缸(64)的活塞杆与刀架(63)通过螺栓连接固定;刀架(63)右端与机架(65)通过销轴铰接。
9.根据权利要求1所述的一种卷式热敏票分切机纠偏装置,其特征在于:第一纠偏板(9)的左端面与左竖支撑板(72)的右端面之间共焊接四根第一定位弹簧(10);第二纠偏板(11)的右端面与右竖支撑板(73)的左端面之间共焊接四根第二定位弹簧(12)。
10.根据权利要求9所述的一种卷式热敏票分切机纠偏装置,其特征在于:所述盖板(13)与纠偏箱(5)通过螺钉连接固定。
技术总结
本实用新型涉及一种卷式热敏票分切机纠偏装置,包括工作台,工作台下端焊接有工作台支架,工作台上端面上焊接有不锈钢面板,不锈钢面板的左端设置有定位支架,定位支架上端可拆卸设置有纠偏箱,定位支架右端设置有分切装置,纠偏箱内可拆卸设置有一个纠偏支架,纠偏支架包括底板、左竖支撑板和右竖支撑板,底板上穿设有多个第一连接螺钉,第一纠偏板的左端面与左竖支撑板的右端面之间焊接有多根第一定位弹簧;第二纠偏板的右端面与右竖支撑板的左端面之间焊接有多根第二定位弹簧,纠偏箱上端可拆卸设置有盖板,所述盖板的内壁面上固定粘接有橡胶垫。上述技术方案,结构设置合理、使用方便、纠偏工作效率高、能够降低生产成本且容易保证加工质量。
技术研发人员:姜波
受保护的技术使用者:豪波安全科技有限公司
文档号码:201720880229
技术研发日:2017.07.19
技术公布日:2018.02.27