
本发明涉及纸张分切技术领域,具体为一种纸张分切机。
背景技术:
纸张分切机是一种对纸张进行分切处理的切割装置,其主要由传送带、旋转刀片、切割刀片、脉冲装置、凸轮、伸缩杆、驱动器、压缩杆和挡柱这九个部分组成,随着科学技术的发展纸张分切机的种类越来越多,对于纸张分切机需求越来越高。
而现在使用的纸张分切机还多多少少的存在一些不足,比如现在使用的纸张分切机的工作原理复杂难以操作,有的没有设置可以调节纸张切割长度的滑槽,使得一个机器只能够进行特定需要的纸张的分切,适用范围太小,有的没有设置垫板,使得纸张在切割的时候容易损伤传送带,设计不具有人性化,无法满足使用的需要,所以针对这种情况的存在,现在需要进行相关设备的创新设计。
技术实现要素:
本发明的目的在于提供一种纸张分切机,以解决上述背景技术中提出的现在使用的纸张分切机的工作原理复杂难以操作,有的没有设置可以调节纸张切割长度的滑槽,使得一个机器只能够进行特定需要的纸张的分切,适用范围太小,有的没有设置垫板,使得纸张在切割的时候容易损伤传送带,设计不具有人性化的问题。
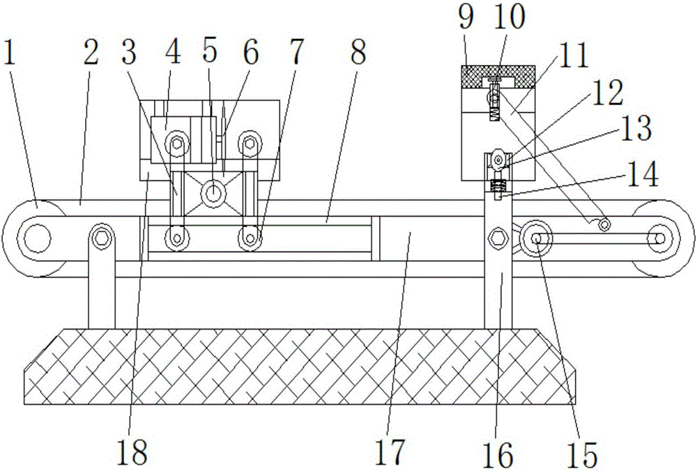
为实现上述目的,本发明提供如下技术方案:一种纸张分切机,包括转轮、驱动器、旋转刀片、滑槽、脉冲装置、第二电动机和支撑柱,所述转轮与传送带相连接,且其与第三电动机相连接,所述传送带上设置有垫板和分割缝,所述驱动器通过伸缩杆与保护罩相连接,且保护罩内部设置有第一电动机,所述旋转刀片与第一电动机相连接,所述滑槽通过滚轮与伸缩杆相连接,且其与连接钢梁相连接,所述脉冲装置与压缩杆相连接,且压缩杆与切割刀片相连接,所述第二电动机上设置有凸轮,且凸轮与挡柱相连接,所述支撑柱与连接钢梁相连接。
优选的,所述伸缩杆上下移动距离范围为0-15cm,且其左右移动距离范围为0-45cm。
优选的,所述压缩杆上下移动距离范围为0-2cm。
优选的,所述切割刀片在传送带的中间设置有两片,且其角度变化范围为0-15°。
优选的,所述挡柱上下移动的距离范围为0-5cm,且其在传送带的两侧各设置有一个。
与现有技术相比,本发明的有益效果是:该纸张分切机,结合现在使用的分切机进行创新设计,本纸张分切机在传统的纸张分切机的基础上添加了可以前后移动来调节纸张长度的滑槽,使得机器的适用范围更广,还在传送带的分隔缝两侧均添加有垫板,不仅使得纸张在分切时刀片不会损伤传送带,还使得分切之后的纸张都有支撑点而不会发生倾斜,设计更加具有人性化。
附图说明
图1为本发明结构示意图;
图2为本发明传送带结构示意图。
图中:1、转轮,2、传送带,3、伸缩杆,4、第一电动机,5、驱动器,6、旋转刀片,7、滚轮,8、滑槽,9、脉冲装置,10、压缩杆,11、切割刀片,12、第二电动机,13、凸轮,14、挡柱,15、第三电动机,16、支撑柱,17、连接钢梁,18、保护罩,19、垫板,20、分割缝。
具体实施方式
下面将结合本发明实施例中的附图,对本发明实施例中的技术方案进行清楚、完整地描述,显然,所描述的实施例仅仅是本发明一部分实施例,而不是全部的实施例。基于本发明中的实施例,本领域普通技术人员在没有做出创造性劳动前提下所获得的所有其他实施例,都属于本发明保护的范围。
请参阅图1-2,本发明提供一种技术方案:一种纸张分切机,包括转轮1、传送带2、伸缩杆3、第一电动机4、驱动器5、旋转刀片6、滚轮7、滑槽8、脉冲装置9、压缩杆10、切割刀片11、第二电动机12、凸轮13、挡柱14、第三电动机15、支撑柱16、连接钢梁17、保护罩18、垫板19和分割缝20,转轮1与传送带2相连接,且其与第三电动机15相连接,传送带2上设置有垫板19和分割缝20,驱动器5通过伸缩杆3与保护罩18相连接,且保护罩18内部设置有第一电动机4,伸缩杆3上下移动距离范围为0-15cm,且其左右移动距离范围为0-45cm,旋转刀片6与第一电动机4相连接,滑槽8通过滚轮7与伸缩杆3相连接,且其与连接钢梁17相连接,脉冲装置9与压缩杆10相连接,且压缩杆10与切割刀片11相连接,切割刀片11在传送带2的中间设置有两片,且其角度变化范围为0-15°,压缩杆10上下移动距离范围为0-2cm,第二电动机12上设置有凸轮13,且凸轮13与挡柱14相连接,挡柱14上下移动的距离范围为0-5cm,且其在传送带2的两侧各设置有一个,支撑柱16与连接钢梁17相连接。
工作原理:在使用该纸张分切机之前,需要对整个纸张分切机进行简单的结构了解,首先将分切机放置到合适的位置,然后将输纸机与分切机相连接,使得分切机的传送带上会一直保持有纸张,然后根据需要通过滚轮7在滑槽8上移动保护罩18,当距离达到要求后便将滚轮7固定柱,然后开启整个分切机,当纸张通过传送带2运输通过保护罩18的下端到达挡柱14处时,通过调试过的挡柱14会正好被第二电动机12带动凸轮13的压到最低点,使得纸张不能够继续前进,这时伸缩杆3在驱动器5的作用下会向下收缩,使得被第一电动机4带动而高速旋转的旋转刀片6也会跟着下降而将整个纸张切断,切断后挡柱14正好上升到最高点,使得整个纸张会继续向前移动,在脉冲装置9和压缩杆10的作用下切割刀片11会上下移动使得纸张被等分成几份,这就是整个纸张分切机的工作流程。
尽管参照前述实施例对本发明进行了详细的说明,对于本领域的技术人员来说,其依然可以对前述各实施例所记载的技术方案进行修改,或者对其中部分技术特征进行等同替换,凡在本发明的精神和原则之内,所作的任何修改、等同替换、改进等,均应包含在本发明的保护范围之内。
技术特征:
1.一种纸张分切机,包括转轮(1)、驱动器(5)、旋转刀片(6)、滑槽(8)、脉冲装置(9)、第二电动机(12)和支撑柱(16),其特征在于:所述转轮(1)与传送带(2)相连接,且其与第三电动机(15)相连接,所述传送带(2)上设置有垫板(19)和分割缝(20),所述驱动器(5)通过伸缩杆(3)与保护罩(18)相连接,且保护罩(18)内部设置有第一电动机(4),所述旋转刀片(6)与第一电动机(4)相连接,所述滑槽(8)通过滚轮(7)与伸缩杆(3)相连接,且其与连接钢梁(17)相连接,所述脉冲装置(9)与压缩杆(10)相连接,且压缩杆(10)与切割刀片(11)相连接,所述第二电动机(12)上设置有凸轮(13),且凸轮(13)与挡柱(14)相连接,所述支撑柱(16)与连接钢梁(17)相连接。
2.根据权利要求1所述的一种纸张分切机,其特征在于:所述伸缩杆(3)上下移动距离范围为0-15cm,且其左右移动距离范围为0-45cm。
3.根据权利要求1所述的一种纸张分切机,其特征在于:所述压缩杆(10)上下移动距离范围为0-2cm。
4.根据权利要求1所述的一种纸张分切机,其特征在于:所述切割刀片(11)在传送带(2)的中间设置有两片,且其角度变化范围为0-15°。
5.根据权利要求1所述的一种纸张分切机,其特征在于:所述挡柱(14)上下移动的距离范围为0-5cm,且其在传送带(2)的两侧各设置有一个。
技术总结
本发明公开了一种纸张分切机,包括转轮、驱动器、旋转刀片、滑槽、脉冲装置、第二电动机和支撑柱,所述转轮与传送带相连接,所述传送带上设置有垫板和分割缝,所述驱动器通过伸缩杆与保护罩相连接,所述旋转刀片与第一电动机相连接,所述脉冲装置与压缩杆相连接,所述第二电动机上设置有凸轮,所述支撑柱与连接钢梁相连接。该纸张分切机,结合现在使用的分切机进行创新设计,本纸张分切机在传统的纸张分切机的基础上添加了可以前后移动来调节纸张长度的滑槽,使得机器的适用范围更广,还在传送带的分隔缝两侧均添加有垫板,不仅使得纸张在分切时刀片不会损伤传送带,还使得分切之后的纸张都有支撑点而不会发生倾斜,设计更加具有人性化。
技术研发人员:袁瑜
受保护的技术使用者:江西宜人家食品有限公司
文档号码:201611177905
技术研发日:2016.12.19
技术公布日:2017.05.10