
本实用新型属于印刷设备领域,具体涉及一种除湿式分切机。
背景技术:
在进行凹印或者汤金前,一般需要将纸张分切为所需的规格(例如盖白沙纸张的规格为35.5g×60mm、精品白沙纸张的规格为37g×70mm)。
当环境湿度≥70%时,原料纸张的表面吸湿受潮会比较严重,导致分切过程中纸张的两侧松紧不一的情况(以下简称松紧边),影响收卷的纸张质量(收卷轴上纸张卷的端面会出现凸起等)。
目前社会上对大面积纸张的需求越来越多,原料纸张的幅宽也相应地越来越宽,松紧边的问题出现也越来越频繁。
出现松紧边的问题时,需要花费大量的人力来维修调试,维修调试的过程中又会浪费大量的纸张;这些情况均会导致生产成本上升;为了避免或者减轻松紧边的问题,必需降低生产速度,也会造成生产成本上升。
技术实现要素:
为解决上述问题,本实用新型的目的在于提供一种除湿式分切机,可以将隔离帐篷内的湿度控制在湿度阈值以下,从而可以在避免或者减少松紧边的问题。
为实现上述目的,本实用新型在现有的分切机的放卷部设置将放卷部包围的隔离帐篷,并且在隔离帐篷内设置湿度计以及控制器,将隔离帐篷内的湿度控制在湿度阈值以下。
本实用新型采取的详细技术方案为:一种除湿式分切机,其包括用于将原料纸张放卷的放卷部,还包括除湿装置;除湿装置包括隔离帐篷、设置在隔离帐篷内的除湿机、设置在隔离帐篷内的湿度计以及设置在隔离帐篷上任意位置的控制器;隔离帐篷将放卷部包围在隔离帐篷内;隔离帐篷上设置有输出口;除湿机、湿度计均与控制器电性连接;控制器包括存储模块。
进一步地,除湿装置还包括与控制器电性连接的热风机以及与控制器电性连接的温度计;热风机以及温度计均设置在隔离帐篷内。可以保证放卷部在恒定的温度下放卷纸张,进一步地提高分切精度。
进一步地,存储模块储存的湿度阈值设定为60%或者65%或者70%。
进一步地,隔离帐篷为透明材料制成。可以透过隔离帐篷看到隔离帐篷内的情况,比较方便。
进一步地,隔离帐篷为有机玻璃制成。
与现有技术相比,本实用新型具有如下有益效果:1、可以将隔离帐篷内的湿度控制在湿度阈值以下,从而可以在避免或者减少松紧边的问题;2、只需要在现有分切机上增加除湿装置即可完成对现有分切机的改造,对现有分切机的改造比较方便。
附图说明
图1是本实用新型中的一种除湿式分切机的结构示意图。
图2是本实用新型中的一种除湿式分切机的电气原理示意图。
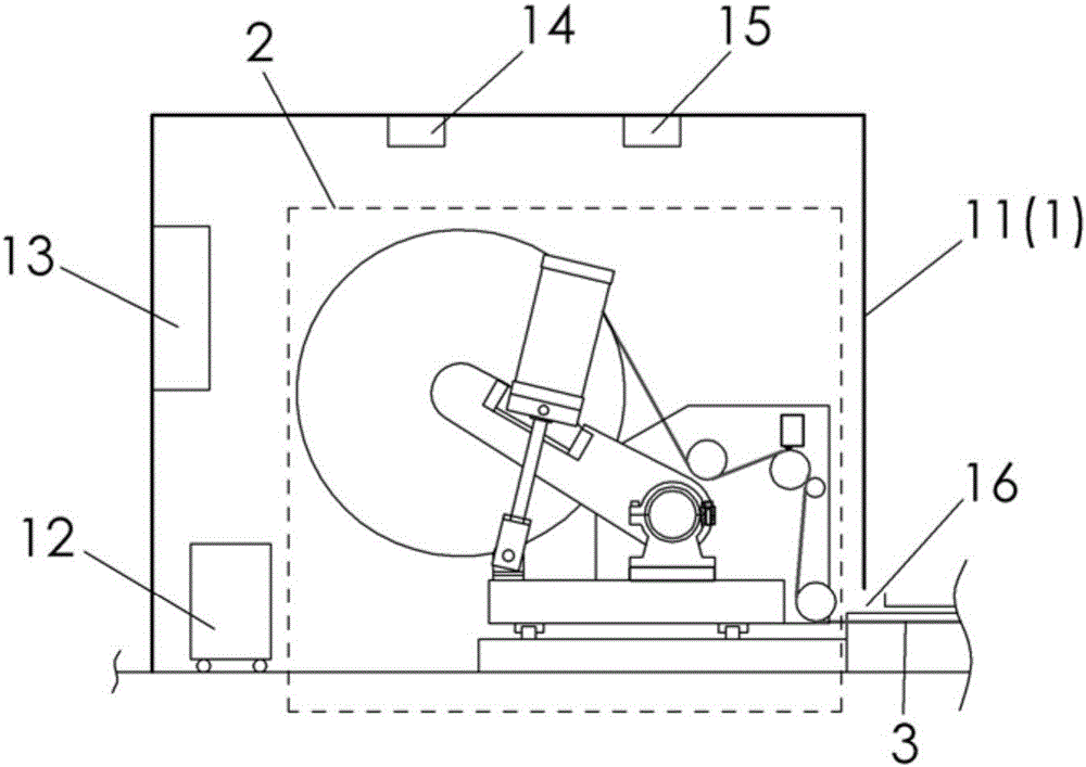
除湿装置1;隔离帐篷11;除湿机12;热风机13;湿度计14;温度计15;输出口16;控制器17;放卷部2;纸张3。
具体实施方式
请参阅附图1-图2,本实用新型为一种除湿式分切机,其包括用于将原料纸张放卷的放卷部2,还包括除湿装置1。
除湿装置1包括隔离帐篷11、设置在隔离帐篷11内的除湿机12、设置在隔离帐篷11内的湿度计14以及设置在隔离帐篷11上任意位置的控制器17。
隔离帐篷11将放卷部2包围在隔离帐篷11内;隔离帐篷11上设置有输出口16。
除湿机12、湿度计14均与控制器17电性连接;控制器17包括存储模块(附图未画出)。
本实用新型中的一种除湿式分切机的工作原理为:放卷部2放卷出的纸张3从输出口16输出进行下一步工序的处理。
预先在存储模块存储所需设定的湿度阈值;湿度计14将检测到的湿度值反馈给控制器17,控制器17将湿度计14检测的湿度值与湿度阈值进行比对,当湿度计14检测的湿度值高于湿度阈值时,控制器17驱动除湿机12运转除湿,直至湿度计14检测的湿度值低于湿度阈值时,控制器17驱动除湿机12停止运转;隔离帐篷11内的湿度也就可以被控制在湿度阈值以下,从而可以在避免或者减少松紧边的问题。
由上述可以看出,除湿装置1整体与放卷部2不是一体的,只需要在现有分切机上增加除湿装置1即可完成对现有分切机的改造,对现有分切机的改造比较方便。
除湿装置1还可以包括与控制器17电性连接的热风机13以及与控制器17电性连接的温度计15;热风机13以及温度计15均设置在隔离帐篷11内。预先在存储模块存储所需设定的温度阈值;温度计15将检测到的温度值反馈给控制器17,控制器17将温度计15检测的温度值与温度阈值进行比对,当温度计15检测的温度值低于温度阈值时,控制器17驱动热风机13运转吹出热风,直至温度计15检测的温度值高于温度阈值时,控制器17驱动热风机13停止运转;隔离帐篷11内的温度也就可以被控制为恒定的温度,从而可以保证放卷部2在恒定的温度下放卷纸张3,进一步地提高分切精度(恒定温度可以避免放卷部2的各部件的热胀冷缩,从而可以提高分切精度)。
存储模块储存的湿度阈值可以设定为60%或者65%或者70%。
隔离帐篷11可以为透明材料制成,比如有机玻璃等。可以透过隔离帐篷11看到隔离帐篷11内的情况(比如发现原料纸用完的情况,则需要更换原料纸卷时),比较方便。
综上所述,本实用新型中的一种除湿式分切机,可以将隔离帐篷11内的湿度控制在湿度阈值以下,从而可以在避免或者减少松紧边的问题;只需要在现有分切机上增加除湿装置1即可完成对现有分切机的改造,对现有分切机的改造比较方便。
需要理解的是,术语“中心”、“纵向”、“横向”、“前”、“后”、“左”、“右”、“竖直”、“水平”、“顶”、“底”、“内”、“外”等指示的方位或位置关系为基于附图所示的方位或位置关系,仅是为便于描述本发明和简化描述,而不是指示或暗指所指的装置或元件必须具有特定的方位、为特定的方位构造和操作,因而不能理解为对本发明保护内容的限制。
以上的具体实施方式仅为本创作的较佳实施例,并不用以限制本创作,凡在本创作的精神及原则之内所做的任何修改、等同替换、改进等,均应包含在本创作的保护范围之内。
技术特征:
1.一种除湿式分切机,其包括用于将原料纸张放卷的放卷部(2),其特征在于:还包括除湿装置(1);所述除湿装置(1)包括隔离帐篷(11)、设置在隔离帐篷(11)内的除湿机(12)、设置在隔离帐篷(11)内的湿度计(14)以及设置在隔离帐篷(11)上任意位置的控制器(17);隔离帐篷(11)将放卷部(2)包围在隔离帐篷(11)内;隔离帐篷(11)上设置有输出口(16);除湿机(12)、湿度计(14)均与控制器(17)电性连接;控制器(17)包括存储模块。
2.如权利要求1所述的一种除湿式分切机,其特征在于:所述除湿装置(1)还包括与所述控制器(17)电性连接的热风机(13)以及与所述控制器(17)电性连接的温度计(15);热风机(13)以及温度计(15)均设置在隔离帐篷(11)内。
3.如权利要求1所述的一种除湿式分切机,其特征在于:所述存储模块储存的湿度阈值设定为60%或者65%或者70%。
4.如权利要求1-3任一所述的一种除湿式分切机,其特征在于:所述隔离帐篷(11)为透明材料制成。
5.如权利要求4所述的一种除湿式分切机,其特征在于:所述隔离帐篷(11)为有机玻璃制成。
技术总结
本实用新型属于印刷设备领域,具体涉及一种除湿式分切机,其包括用于将原料纸张放卷的放卷部,还包括除湿装置;除湿装置包括隔离帐篷、设置在隔离帐篷内的除湿机、设置在隔离帐篷内的湿度计以及设置在隔离帐篷上任意位置的控制器;隔离帐篷将放卷部包围在隔离帐篷内;隔离帐篷上设置有输出口;除湿机、湿度计均与控制器电性连接;控制器包括存储模块。本实用新型可以将隔离帐篷内的湿度控制在湿度阈值以下,从而可以在避免或者减少松紧边的问题;只需要在现有分切机上增加除湿装置即可完成对现有分切机的改造,对现有分切机的改造比较方便。
技术研发人员:高峰;郑涛;李卫民
受保护的技术使用者:湖南鹤祥包装有限公司
文档号码:201620976120
技术研发日:2016.08.29
技术公布日:2017.05.10