
技术领域
1.本技术涉及pet保护膜生产设备的领域,尤其是涉及一种用于pet保护膜生产的分切机裁切装置。
背景技术:
2.目前,在pet保护膜的生产过程中,为了对生产pet保护膜的pet基材进行分切,常需要用到分切机,将pet基材分切成需要的宽度。
3.现有的分切机通常包括上料放卷装置、张紧装置、裁切装置和收料装置,上料放卷装置能够对pet基材卷进行放卷,张紧装置用于张紧pet基材,裁切装置通常包括机架,机架上设有切刀组件和承载组件,切刀组件包括安装轴和设置在安装轴上的切刀,承载组件包括承载轴和设置在承载轴上的承载块,切刀与承载轴相抵,张紧后的pet基材从切刀和承载块之间穿过,然后承载轴和安装轴均转动以使切刀转动对pet基材实现裁切。裁切后的pet基材最后被收料装置所收卷。与此同时,为了使pet基材在分切准备时能够方便的从切刀和承载块之间穿过,安装轴通常连接有连杆,连杆与机架铰接,连杆转动时安装轴上的切刀与承载块分离,此时pet基材便能方便的从切刀和承载块之间穿过。然而在实际使用时,通常需要一个作业人员使安装轴保持在切刀与承载块分离的状态,另一个工作人员拉动pet基材以使pet基材从切刀与承载块之间穿过,浪费了较多的人力资源。
4.针对上述中的相关技术,发明人认为存在有分切准备时将pet基材从切刀与承载块之间穿过需要浪费较多人力资源的缺陷。
技术实现要素:
5.为了使分切准备时将pet基材从切刀与承载块之间穿过无需浪费较多人力资源,本技术提供一种用于pet保护膜生产的分切机裁切装置。
6.本技术提供的一种用于pet保护膜生产的分切机裁切装置,采用如下的技术方案:
7.一种用于pet保护膜生产的分切机裁切装置,包括机架,机架上设有切刀组件和承载组件,切刀组件包括安装轴和设置在安装轴上的切刀,承载组件包括承载轴和设置在承载轴上的承载块,所述机架上转动连接有连杆,连杆上设有连接块,安装轴与连接块转动连接;
8.机架上设有驱动机构,驱动机构包括蜗轮和蜗杆,蜗杆可转动的设置在机架上,蜗轮固定套设在连杆上且与蜗轮啮合。
9.通过采用上述技术方案,分切准备时转动蜗杆,此时与蜗杆啮合的蜗轮会转动,蜗轮转动时连杆随之转动,连杆转动时会带动安装轴转动以使切刀脱离承载块,由于蜗轮蜗杆具有自锁功能,所以连杆能够保持在转动后的位置,切刀也会保持在与承载块相脱离的位置,然后作业人员便可双手将pet基材从切刀与承载块之间穿过,故只需一个作业人员便可使切刀与承载块脱离以及将pet基材从切刀与承载块之间穿过,无需浪费较多人力资源,较为节省人力。
10.可选的,所述机架上设有容纳槽,所述蜗轮和蜗杆均设置在所述容纳槽内,所述蜗杆背离蜗轮的一端穿出所述容纳槽。
11.通过采用上述技术方案,蜗轮和蜗杆不易遭受碰撞受损,使用寿命较长。
12.可选的,所述蜗杆与容纳槽的槽壁之间设有轴承,所述蜗杆穿过所述轴承的内圈且与所述轴承的内圈固定连接,所述轴承的外圈与所述容纳槽的槽壁固定连接。
13.通过采用上述技术方案,轴承能够减少蜗杆转动时与容纳槽的槽壁之间的摩擦力,从而蜗杆的转动较为顺畅。
14.可选的,所述蜗杆穿出所述容纳槽的端部固定设有转动把手。
15.通过采用上述技术方案,转动把手增大了作业人员的施力面积,从而作业人员通过转动把手能够方便的带动蜗杆转动。
16.可选的,所述机架上还设有用于驱动安装轴和承载轴同步转动的动力机构。
17.通过采用上述技术方案,只需一个动力机构便可使安装轴和承载轴同步转动,成本较低。安装轴和承载轴能够同步转动以使切刀对pet基材进行裁切,从而裁切出的pet基材均匀度较好。
18.可选的,所述动力机构包括电机和连动组件,所述电机设置在所述机架上,所述电机的输出轴与所述承载轴的端部固定连接;
19.所述承载轴通过所述连动组件带动所述安装轴同步转动。
20.通过采用上述技术方案,电机启动时输出轴相应的转动,电机的输出轴转动时承载轴也会相应的转动,承载轴转动时会通过连动组件驱动安装轴转动,故只需一个电机便可驱动安装轴和承载轴同步转动,成本较低,同时电机的技术成熟,使用和购买较为方便。
21.可选的,所述连动组件包括第一齿轮和第二齿轮,所述第一齿轮固定套设在所述承载轴上,所述第二齿轮固定套设在所述安装轴上;
22.所述切刀与所述承载块相抵时,所述第一齿轮和第二齿轮相互啮合。
23.通过采用上述技术方案,当安装轴转动至切刀与承载块相抵时,第一齿轮和第二齿轮啮合,此时承载轴转动第一齿轮相应的转动,第一齿轮转动时与第一齿轮啮合的第二齿轮随之转动,进而安装轴也会转动,从而安装轴上的切刀也会转动,此时切刀便会对切刀和承载块之间的pet基材进行裁切。
24.可选的,所述机架上设有安装腔,所述电机设置在所述安装腔内,所述承载轴的端部穿入安装腔内与所述电机的输出轴固定连接。
25.通过采用上述技术方案,电机不易遭受意外碰撞受损,使用寿命较长。
26.综上所述,本技术包括以下至少一种有益技术效果:
27.无需浪费较多人力资源,较为节省人力;
28.裁切出的pet基材均匀度较好。
附图说明
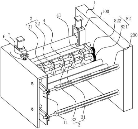
29.图1是本技术实施例的一种用于pet保护膜生产的分切机裁切装置与张紧装置和收料装置的连接结构示意图。
30.图2是图1中切刀与承载块分离时的结构示意图。
31.图3是图1中动力机构和驱动机构与安装轴和承载轴的连接结构示意图。
32.附图标记说明:1、机架;11、容纳槽;2、切刀组件;21、安装轴;22、切刀;3、承载组件;31、承载轴;32、承载块;4、连杆;41、连接块;5、驱动机构;51、蜗轮;52、蜗杆;6、轴承;7、转动把手;8、动力机构;81、电机;82、连动组件;821、第一齿轮;822、第二齿轮;100、张紧装置;200、收料装置。
具体实施方式
33.以下结合附图1‑3对本技术作进一步详细说明。
34.相关技术中的分切机通常包括张紧装置100、裁切装置和收料装置200,参照图1,pet基材被张紧装置100张紧后运输至裁切装置进行裁切,最后被收料装置200所收卷。
35.本技术实施例公开一种用于pet保护膜生产的分切机裁切装置,即为上述裁切装置。参照图1,该用于pet保护膜生产的分切机裁切装置包括机架1,机架1上设有切刀组件2和承载组件3,切刀组件2包括安装轴21和设置在安装轴21上的切刀22,切刀22为圆环形,切刀22套设在安装轴21上,同时切刀22的数量为多个,多个切刀22间隔设置在安装轴21上。机架1上转动连接有连杆4,机架1包括相对的两侧壁,连杆4相对的两端可分别与机架1相对的两侧壁转动连接,连杆4上设有连接块41,连接块41的数量为两个,两个连接块41间隔设置在连杆4上,安装轴21的两端分别与两个连接块41转动连接。承载组件3包括承载轴31和设置在承载轴31上的承载块32,承载轴31相对的两端分别与机架1相对的两侧壁转动连接,承载块32的数量为多个,多个承载块32间隔固定套设在承载轴31上。
36.参照图1,裁切状态时切刀22与承载块32相抵,pet基材从切刀22和承载块32之间穿过,此时切刀22和承载块32转动时切刀22便会对pet基材进行裁切。参照图2,在准备状态时,连杆4转动以使安装轴21转动,此时切刀22便可转动至脱离承载块32,此时作业人员便可拉动pet基材以使pet基材从承载块32和切刀22之间穿过。
37.此外,参照图1和图2,机架1上设有驱动机构5,机架1的一个侧壁还设有容纳槽11,驱动机构5包括蜗轮51和蜗杆52,蜗轮51和蜗杆52均设置在容纳槽11内,蜗杆52可转动的竖直设置在容纳槽11内、且端部穿出容纳槽11,蜗杆52穿出容纳槽11的端部固定设有转动把手7,转动把手7为圆形,转动把手7与蜗杆52的连接方式可为焊接或螺栓连接。连杆4的一端穿入容纳槽11,蜗轮51套设在连杆4穿入容纳槽11的端部,蜗轮51与蜗杆52啮合。蜗杆52与容纳槽11的槽壁之间设有轴承6,蜗杆52穿过轴承6的内圈且与轴承6的内圈固定连接,固定连接方式可为键连接,轴承6的外圈与容纳槽11的槽壁固定连接,固定连接方式可为焊接。
38.进一步的,参照图1和图2,机架1上还设有动力机构8。动力机构8包括电机81,机架1上设有安装腔(图中未示出),电机81设置在安装腔内,电机81与安装腔腔壁的连接方式可为焊接或螺栓连接。承载轴31的一端穿入安装腔,电机81的输出轴与承载轴31穿入安装腔的端部固定连接,从而电机81启动时承载轴31便会转动。
39.进一步的,参照图1和图2,动力机构8还包括连动组件82,连动组件82包括第一齿轮821和第二齿轮822,第一齿轮821和第二齿轮822可均为平面齿轮,第一齿轮821固定套设在承载轴31上,固定套设方式可为键连接,第二齿轮822固定套设在安装轴21上,固定套设方式也可为键连接。切刀22与承载块32相抵时,第一齿轮821和第二齿轮822相互啮合。承载轴31转动第一齿轮821相应的转动,第一齿轮821转动时与第一齿轮821啮合的第二齿轮822随之转动,进而安装轴21也会转动,从而安装轴21上的切刀22也会转动,此时切刀22便会对切刀22和承载块32之间的pet基材进行裁切。
40.本技术实施例一种用于pet保护膜生产的分切机裁切装置的实施原理为:分切准备时转动蜗杆52,此时与蜗杆52啮合的蜗轮51会转动,蜗轮51转动时连杆4随之转动,连杆4转动时会带动安装轴21转动以使切刀22脱离承载块32,由于蜗轮51蜗杆52具有自锁功能,所以连杆4能够保持在转动后的位置,切刀22也会保持在与承载块32相脱离的位置,然后作业人员便可双手将pet基材从切刀22与承载块32之间穿过,故只需一个作业人员便可使切刀22与承载块32脱离以及将pet基材从切刀22与承载块32之间穿过,无需浪费较多人力资源,较为节省人力。
41.将pet基材的端部从切刀22和承载块32之间穿过并拉动至后续的收卷装置后,电机81启动以使承载轴31转动,此时第一齿轮821转动,进而与第一齿轮821啮合的第二齿轮822转动,然后安装轴21也会随之转动,故电机81启动时承载轴31和安装轴21均会转动,此时安装轴21上的切刀22和承载轴31上的承载块32均会转动对pet基材进行裁切,由于切刀22和承载块32能够同步转动,故切割出的pet基材较为均匀。
42.以上均为本技术的较佳实施例,并非依此限制本技术的保护范围,故:凡依本技术的结构、形状、原理所做的等效变化,均应涵盖于本技术的保护范围之内。
技术特征:
1.一种用于pet保护膜生产的分切机裁切装置,包括机架(1),所述机架(1)上设有切刀组件(2)和承载组件(3),所述切刀组件(2)包括安装轴(21)和设置在安装轴(21)上的切刀(22),所述承载组件(3)包括承载轴(31)和设置在承载轴(31)上的承载块(32),其特征在于:所述机架(1)上转动连接有连杆(4),所述连杆(4)上设有连接块(41),所述安装轴(21)与所述连接块(41)转动连接;所述机架(1)上设有驱动机构(5),所述驱动机构(5)包括蜗轮(51)和蜗杆(52),所述蜗杆(52)可转动的设置在所述机架(1)上,所述蜗轮(51)固定套设在所述连杆(4)上且与所述蜗轮(51)啮合。2.根据权利要求1所述的用于pet保护膜生产的分切机裁切装置,其特征在于:所述机架(1)上设有容纳槽(11),所述蜗轮(51)和所述蜗杆(52)均设置在所述容纳槽(11)内,所述蜗杆(52)背离所述蜗轮(51)的一端穿出所述容纳槽(11)。3.根据权利要求2所述的用于pet保护膜生产的分切机裁切装置,其特征在于:所述蜗杆(52)与所述容纳槽(11)的槽壁之间设有轴承(6),所述蜗杆(52)穿过所述轴承(6)的内圈且与所述轴承(6)的内圈固定连接,所述轴承(6)的外圈与所述容纳槽(11)的槽壁固定连接。4.根据权利要求3所述的用于pet保护膜生产的分切机裁切装置,其特征在于:所述蜗杆(52)穿出所述容纳槽(11)的端部固定设有转动把手(7)。5.根据权利要求1至4中任一项所述的用于pet保护膜生产的分切机裁切装置,其特征在于:所述机架(1)上还设有用于驱动所述安装轴(21)和所述承载轴(31)同步转动的动力机构(8)。6.根据权利要求5所述的用于pet保护膜生产的分切机裁切装置,其特征在于:所述动力机构(8)包括电机(81)和连动组件(82),所述电机(81)设置在所述机架(1)上,所述电机(81)的输出轴与所述承载轴(31)的端部固定连接;所述承载轴(31)通过所述连动组件(82)带动所述安装轴(21)同步转动。7.根据权利要求6所述的用于pet保护膜生产的分切机裁切装置,其特征在于:所述连动组件(82)包括第一齿轮(821)和第二齿轮(822),所述第一齿轮(821)固定套设在所述承载轴(31)上,所述第二齿轮(822)固定套设在所述安装轴(21)上;所述切刀(22)与所述承载块(32)相抵时所述第一齿轮(821)和第二齿轮(822)相互啮合。8.根据权利要求7所述的用于pet保护膜生产的分切机裁切装置,其特征在于:所述机架(1)上设有安装腔,所述电机(81)设置在所述安装腔内,所述承载轴(31)的端部穿入所述安装腔内与所述电机(81)的输出轴固定连接。
技术总结
本申请涉及PET保护膜生产设备的领域,尤其是涉及一种用于PET保护膜生产的分切机裁切装置。该用于PET保护膜生产的分切机裁切装置包括机架,机架上设有切刀组件和承载组件,切刀组件包括安装轴和设置在安装轴上的切刀,承载组件包括承载轴和设置在承载轴上的承载块,机架上转动连接有连杆,连杆上设有连接块,安装轴与连接块转动连接;机架上设有驱动机构,驱动机构包括蜗轮和蜗杆,蜗杆可转动的设置在机架上,蜗轮固定套设在连杆上且与蜗轮啮合。本申请具有无需浪费较多人力资源,较为节省人力以及裁切出的PET基材均匀度较好的效果。力以及裁切出的PET基材均匀度较好的效果。力以及裁切出的PET基材均匀度较好的效果。
技术研发人员:陆忠德
受保护的技术使用者:东莞市深丰光电科技有限公司
技术研发日:2020.12.24
技术公布日:2021/9/9