
本实用新型涉及复卷机技术领域,尤其涉及一种复卷机压纸辊调节机构。
背景技术:
复卷机一般用于:云母带、纸张、薄膜的复卷分切、起到一切为二的作用,常用于将宽幅的卷材分切、更为后续的再次分切起到了重要的作用、是一种用于纸类、云母带、薄膜专用设备。由于纸张的厚度不同,需要对压纸辊的厚度进行调节,但是现有的复卷机调节不方便。
技术实现要素:
本实用新型的目的是为了解决现有技术中存在的不方便调节的缺点,而提出的一种复卷机压纸辊调节机构。
为了实现上述目的,本实用新型采用了如下技术方案:
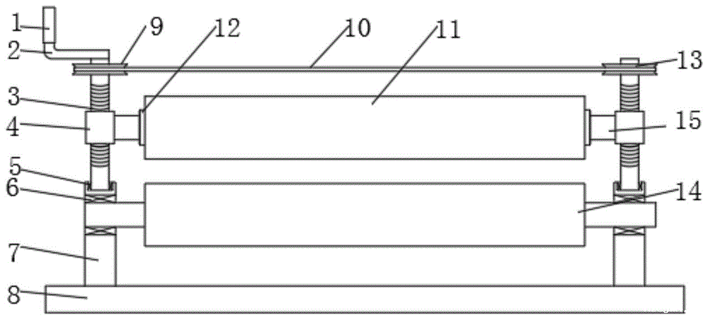
设计一种复卷机压纸辊调节机构,包括底板,所述底板上端两个均垂直固定焊接有侧板,所述侧板中部位置均固定连接有第二轴承,所述第二轴承的内轴面固定连接有走纸辊,两个所述侧板上端中部位置固定连接有第一轴承,所述第一轴承的内轴面固定连接有转轴,所述转轴上设置有外螺纹,所述外螺纹上螺纹连接有螺纹套,两个所述螺纹套相对内侧均焊接有连接柱,所述连接柱另一端固定连接有第三轴承,所述第三轴承的外轴面与压纸辊固定连接,其中一个所述转轴上端固定连接有摇把,两个所述转轴之间设置有传动机构。
优选的,所述传动机构包括与其中一个所述转轴上固定连接的主动轮,另一个所述转轴上固定连接有从动轮,所述从动轮与主动轮之间套设有皮带。
优选的,所述摇把上端位置通过胶水固定连接有把握套。
优选的,所述把握套包括弹性层,所述弹性层外圈固定连接有防氧化层。
优选的,所述第一轴承、第二轴承与第三轴承均为深沟球轴承。
本实用新型提出的一种复卷机压纸辊调节机构,有益效果在于:通过螺纹套、转轴、第一轴承、传动机构的设计,便于对压纸辊的高度进行调节,从而调节压纸辊与压纸辊之间的距离,以便不同厚度的纸进行通过,从而将通过的纸进行限位压平,操作简单,使用方便的特点。
附图说明
图1为本实用新型提出的一种复卷机压纸辊调节机构的结构示意图;
图2为本实用新型提出的一种复卷机压纸辊调节机构的俯视图;
图3为本实用新型提出的一种复卷机压纸辊调节机构中把握套的结构示意图。
图中:把握套1、摇把2、转轴3、螺纹套4、第一轴承5、第二轴承6、侧板7、底板8、主动轮9、皮带10、压纸辊11、第三轴承12、从动轮13、走纸辊14、连接柱15、防氧化层16、弹性层17。
具体实施方式
下面将结合本实用新型实施例中的附图,对本实用新型实施例中的技术方案进行清楚、完整地描述,显然,所描述的实施例仅仅是本实用新型一部分实施例,而不是全部的实施例。
实施例1
参照图1-2,一种复卷机压纸辊调节机构,包括底板8,底板8上端两个均垂直固定焊接有侧板7,侧板7中部位置均固定连接有第二轴承6,第二轴承6的内轴面固定连接有走纸辊14,将走纸辊14通过联轴器其与电机的输出轴进行连接,从而带动走纸辊14进行转动,带动走纸辊14上的纸进行移动。
两个侧板7上端中部位置固定连接有第一轴承5,第一轴承5的内轴面固定连接有转轴3,转轴3上设置有外螺纹,外螺纹上螺纹连接有螺纹套4,两个螺纹套4相对内侧均焊接有连接柱15,连接柱15另一端固定连接有第三轴承12,第三轴承12的外轴面与压纸辊11固定连接,其中一个转轴3上端固定连接有摇把2,两个转轴3之间设置有传动机构,第一轴承5、第二轴承6与第三轴承12均为深沟球轴承,通过转动摇把2,在传动机构的带动下,将带动两个转轴3进行同时转动,从而带动螺纹套4在转轴3上进行移动,从而对压纸辊11高度进行调节,以便对不同厚度的纸进行通过限位压平,操作简单,使用方便。
传动机构包括与其中一个转轴3上固定连接的主动轮9,另一个转轴3上固定连接有从动轮13,从动轮13与主动轮9之间套设有皮带10,通过主动轮9进行转动,在皮带10的带动下,将带动从动轮13进行转动。
实施例2
参照图3,作为本实用新型的另一优选实施例,与实施例1的区别在于,摇把2上端位置通过胶水固定连接有把握套1,把握套1包括弹性层17,弹性层17为橡胶材料制成,弹性层17外圈固定连接有防氧化层16,防氧化层16为聚丁烯制成,弹性层17的设计,增强了摇把的弹性,有利于把握时的舒适度,防氧化层16的设计,起到防止氧化的作用,有利于延长握套1的使用寿命。
以上所述,仅为本实用新型较佳的具体实施方式,但本实用新型的保护范围并不局限于此,任何熟悉本技术领域的技术人员在本实用新型揭露的技术范围内,根据本实用新型的技术方案及其实用新型构思加以等同替换或改变,都应涵盖在本实用新型的保护范围之内。
技术特征:
1.一种复卷机压纸辊调节机构,包括底板(8),所述底板(8)上端两个均垂直固定焊接有侧板(7),所述侧板(7)中部位置均固定连接有第二轴承(6),所述第二轴承(6)的内轴面固定连接有走纸辊(14),其特征在于,两个所述侧板(7)上端中部位置固定连接有第一轴承(5),所述第一轴承(5)的内轴面固定连接有转轴(3),所述转轴(3)上设置有外螺纹,所述外螺纹上螺纹连接有螺纹套(4),两个所述螺纹套(4)相对内侧均焊接有连接柱(15),所述连接柱(15)另一端固定连接有第三轴承(12),所述第三轴承(12)的外轴面与压纸辊(11)固定连接,其中一个所述转轴(3)上端固定连接有摇把(2),两个所述转轴(3)之间设置有传动机构。
2.根据权利要求1所述的一种复卷机压纸辊调节机构,其特征在于,所述传动机构包括与其中一个所述转轴(3)上固定连接的主动轮(9),另一个所述转轴(3)上固定连接有从动轮(13),所述从动轮(13)与主动轮(9)之间套设有皮带(10)。
3.根据权利要求1所述的一种复卷机压纸辊调节机构,其特征在于,所述摇把(2)上端位置通过胶水固定连接有把握套(1)。
4.根据权利要求3所述的一种复卷机压纸辊调节机构,其特征在于,所述把握套(1)包括弹性层(17),所述弹性层(17)外圈固定连接有防氧化层(16)。
5.根据权利要求1所述的一种复卷机压纸辊调节机构,其特征在于,所述第一轴承(5)、第二轴承(6)与第三轴承(12)均为深沟球轴承。
技术总结
本实用新型涉及复卷机技术领域,尤其是一种复卷机压纸辊调节机构,包括底板,所述底板上端两个均垂直固定焊接有侧板,所述侧板中部位置均固定连接有第二轴承,所述第二轴承的内轴面固定连接有走纸辊,两个所述侧板上端中部位置固定连接有第一轴承,所述第一轴承的内轴面固定连接有转轴,所述转轴上设置有外螺纹,所述外螺纹上螺纹连接有螺纹套,两个所述螺纹套相对内侧均焊接有连接柱,所述连接柱另一端固定连接有第三轴承,所述第三轴承的外轴面与压纸辊固定连接,其中一个所述转轴上端固定连接有摇把,两个所述转轴之间设置有传动机构。本实用新型具有便于对压纸辊的高度进行调节,操作简单,使用方便的特点。
技术研发人员:汪冬燕;王伟伟
受保护的技术使用者:杭州普润特装饰材料有限公司
技术研发日:2019.09.08
技术公布日:2020.05.19