
本实用新型属于机械加工领域,具体涉及一种铝箔或铜箔的分切装置。
背景技术:
金属箔(铝箔或铜箔)广泛地用于电池制造领域,其中需要将成卷的金属箔分切成合适的尺寸以满足各种需求。目前金属箔的分切主要有圆刀分切、激光分切和犁刀(平刀)等技术。
圆刀分切也叫碟刀分切,上刀下刀全部为圆形。下刀有刀槽,上刀掺入下刀1~2mm,上下刀有速度差,相对滚动将铝箔分切开来,但由于有刀槽,且刀刃掺入分切过程,材料会变形,无法克服“裙边”或“荷叶边”问题。
激光分切的断面平展,无“荷叶边”或“裙边”问题,但是微观上材料切割出会有烧伤的金属氧化物,即氧化铝或铜的氧化物,影响电池或电容器极片的性能。
犁刀又称平刀,分切时材料边缘无“荷叶边”或“裙边”问题,也无烧伤产生的氧化物,是铜箔和铝箔分切较理想的一种方式;但是现有的分切机中刀片与材料分切点是固定的,长时间使用中刀片发热容易变钝,导致材料边缘经常有毛刺产生,而且刀片寿命极短,通常连续工作数小时就需要更换一只刀片,降低了生产效率。
申请号为201520047952.9的中国专利“用于分切机的刀片移动划切机构”公开了一种用于分切机的刀片移动划切机构,采用伺服电机控制进刀量,不断的改变刀片对金属箔的分切切刀点,减少了刀片发热量和磨损,增加了刀片使用寿命,但是其在应用中存在的问题是采用伺服电机来控制刀片移动,除非刀片无限长,切点沿着一个方向前进,否则电机在带动移动刀座等较重部件由正转切换至反转时需要有一个时间过程,也就是刀片在回程中必然会出现一个固定死点,由于金属箔是以每分钟数百米的线速度进料切割,会造成该死点处的发热和磨损,降低切割金属箔的质量。
技术实现要素:
本实用新型采用不间歇往复运转机构实现了刀片的连续往复移动,在分切中不存在死点或者死点的时间很短,有效降低了刀片的静态切割磨损,同时采用带有自锁的切深调节机构将刀片调节至合适位置并压紧在金属箔上,使得刀刃切割点始终处于最佳工作位置上,确保了分切精度和金属箔的质量。
本实用新型技术方案如下:
一种金属箔分切装置,包括刀片、刀槽辊、往复移动机构和切深调节机构;刀槽辊高速旋转,带动其上的金属箔从放料轮上放卷,金属箔被刀片切割后,分别收卷在第一收卷轮和第二收卷轮上;所述的刀槽辊上设置有凹槽,刀片的刀刃嵌入在凹槽内;所述的往复移动机构实现刀片沿刀刃方向的往复运动,所述的切深调节机构实现刀刃与金属箔之间距离的调节。
上述金属箔分切装置中,往复移动机构包括电机、偏心轮、导杆、弹簧、刀架板,导杆的前端与刀架板固联,导杆的后端紧贴在偏心轮的轮沿上,刀片通过刀片架设置在刀架板上,所述的电机带动偏心轮转动,推动导杆克服弹簧的压力运动,带动刀片沿刀刃方向往复运动。
上述金属箔分切装置中,切深调节机构包括设置在刀架板上的蜗轮和蜗杆,刀片架固定在蜗轮的输出轴上;所述的蜗杆转动引起蜗轮同步转动,引起刀片架绕刀架卡轴转动,实现切深调节。
上述金属箔分切装置中,蜗轮的输出轴为方型横截面的刀架卡轴,与刀片架尾端设置的方槽相匹配。
上述金属箔分切装置中,蜗杆的前端设置有手轮。
上述金属箔分切装置中,金属箔为铝箔或铜箔。
上述金属箔分切装置中,刀槽辊上的凹槽深度约3-4mm,刀片伸进凹槽15内部1-2mm。
上述金属箔分切装置中,电机和偏心轮每分钟一转。
本实用新型的有益技术效果如下:
一、本实用新型采用偏心轮连杆机构实现了刀片在横向方向上的不间断往复运动,在金属箔分切中不存在死点或者死点的时间很短,有效降低了刀片的静态切割磨损,确保了切割质量。
二、本实用新型采用蜗轮蜗杆为核心部件的切深调节机构,实现了刀片在纵向方向上也就是切割深度方向的位置调节以及压紧,将刀片的刀刃固定在刀槽辊以及金属箔合适的位置上,并利用蜗轮蜗杆的自锁功能进行限位,确保了分切精度和质量。
三、本实用新型的刀片架依靠架体上的方槽固定在蜗轮轴的方轴上,当手轮转动,引起螺杆转动,使得蜗轮同步转动,引起蜗轮轴上的方轴转动及卡在方轴上的刀片架转动,方便地实现了刀片与金属箔之间的距离调节,并具有稳定可靠的作用。
四、本实用新型采用陶瓷制成的刀片代替常见的金属刀片,具有耐磨、耐高温,进一步提高了刀片寿命。
附图说明
图1为本实用新型分切装置的组成结构示意图;
图2为本实用新型刀片和刀片架结构示意图;
图3为本实用新型刀槽辊的结构示意图;
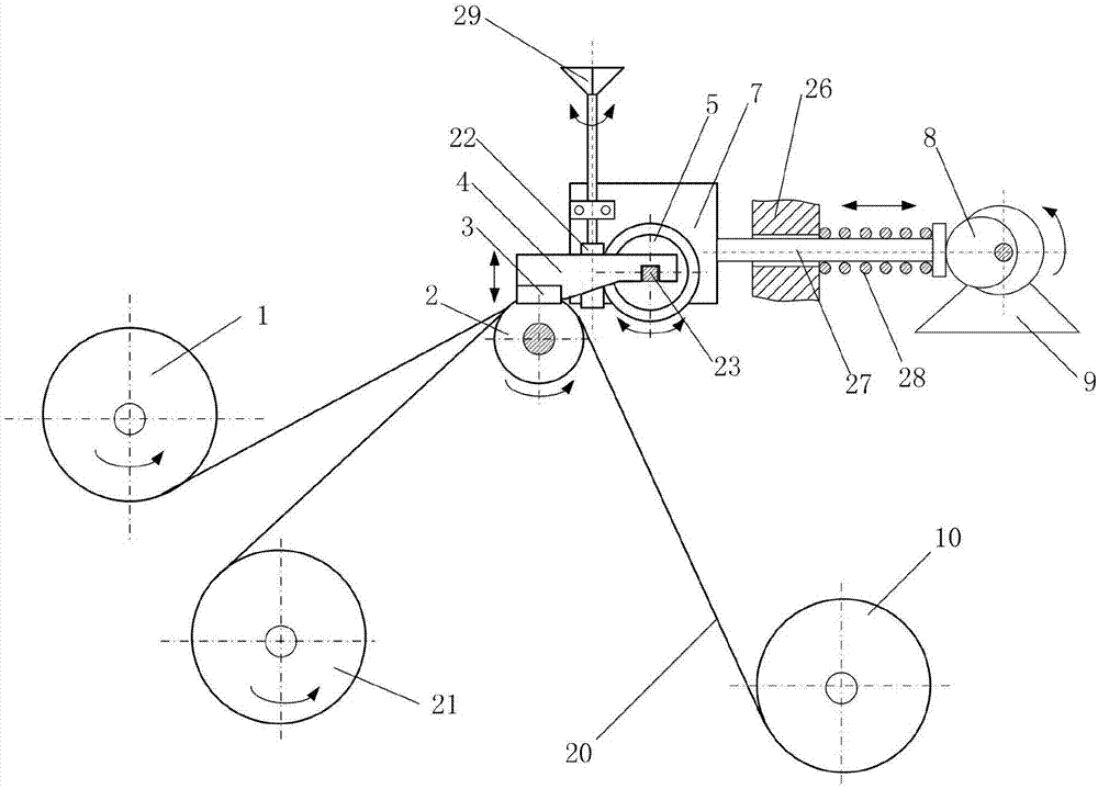
附图标记如下:1—第一收卷轮;2—刀槽辊;3—刀片;4—刀片架;5—蜗轮;7—刀架板;8—偏心轮;9—电机;10—放卷轮;15—凹槽;20—金属箔;21—第二收卷轮,22—蜗杆;23—刀架卡轴;26—机架;27—导杆;28—弹簧;29—手轮,30—方槽。
具体实施方式
如图1-3所示,刀槽辊2在动力驱动下恒定速度转动,带动金属箔20从放料轮10上放卷。刀片3压贴在刀槽辊2的凹槽15内部,金属箔20被刀片3分切成两部分,分别收卷在第一收卷轮1和第二收卷轮21上。
刀片3安装于刀片架4上,刀片架4上设置有方槽30,该方槽30正好与蜗轮5上的方形刀架卡轴23相匹配。蜗杆22固定在刀架板7上,蜗杆22的前端为手轮29,转动手轮29,使得蜗杆22随之转动,引起蜗轮5同步转动,蜗轮5的输出轴即刀架卡轴23也随之转动,则刀片架4绕刀架卡轴23转动,引起刀片3和金属箔20之间的距离变化,起到调节切割深度的作用。图2中刀架卡轴23的横截面为方轴结构,与刀片架4尾端设置的方槽30相匹配,具有可靠稳定的效果。
图3中刀槽辊2上设置有凹槽15,其深度约3-4mm,通常切割时刀片进入凹槽15内部1-2mm。由于蜗杆蜗轮的自锁作用,切割中可保持刀片3的位置不变。
为了解决传统分切机刀片分切点固定不动导致刀片容易烧蚀磨损的问题,本实用新型采用了往复移动机构使得刀片切割中沿刀刃方向不间断往复运动。
图1中电机9转动,带动偏心轮8同步转动,导杆27的前端与刀架板7固为一体,导杆27的后端紧贴在偏心轮8边沿上,偏心轮8转动推动导杆27克服弹簧28的压力往复运动,而刀片架4、蜗轮5、蜗杆22和手轮29均设置在刀架板7,实现了刀片3沿刀刃方向的不间断往复运动。采用这种偏心轮顶杆结构产生这种不间断的往复运动使得刀片在分切中不存在死点或者死点的时间很短,大大减小了刀片的发热和磨损,延长了寿命,确保了产品的质量。
具体实施中,电机9每分钟1转,使刀片3水平方向每分钟一次往返运动。刀片分切铝箔或铜箔时,刀刃口因来回运动一分钟一次,使刀刃口不发热,保持锋利状态,分切的铝箔或铜箔刀口边缘光滑无烧伤无裙边,解决了目前国内铝箔材料厂及电池电容器企业生产中的难以克服的迫切问题。
进一步地,刀片采用陶瓷制成,比普通金属刀片的寿命提高50倍以上,进一步提高了耐磨性及切割产品的质量。

技术特征:
1.一种金属箔分切装置,其特征在于:包括刀片(3)、刀槽辊(2)、往复移动机构和切深调节机构;刀槽辊(2)高速旋转,带动其上的金属箔(20)从放料轮(10)上放卷,金属箔(20)被刀片(3)切割后,分别收卷在第一收卷轮(1)和第二收卷轮(21)上;所述的刀槽辊(2)上设置有凹槽(15),刀片(3)的刀刃嵌入在凹槽(15)内;所述的往复移动机构实现刀片(3)沿刀刃方向的往复运动,所述的切深调节机构实现刀刃与金属箔(20)之间距离的调节。
2.根据权利要求1所述的金属箔分切装置,其特征在于:所述的往复移动机构包括电机(9)、偏心轮(8)、导杆(27)、弹簧(28)、刀架板(7),导杆(27)的前端与刀架板(7)固联,导杆(27)的后端紧贴在偏心轮(8)的轮沿上,刀片(3)通过刀片架(4)设置在刀架板(7)上,所述的电机(9)带动偏心轮(8)转动,推动导杆(27)克服弹簧(28)的压力运动,带动刀片(3)沿刀刃方向往复运动。
3.根据权利要求2所述的金属箔分切装置,其特征在于:所述的切深调节机构包括设置在刀架板(7)上的蜗轮(5)和蜗杆(22),刀片架(4)固定在蜗轮(5)的输出轴上;所述的蜗杆(22)转动引起蜗轮(5)同步转动,引起刀片架(4)绕刀架卡轴(23)转动,实现切深调节。
4.根据权利要求3所述的金属箔分切装置,其特征在于:所述的蜗轮(5)的输出轴为方型横截面的刀架卡轴(23),与刀片架(4)尾端设置的方槽(30)相匹配。
5.根据权利要求3所述的金属箔分切装置,其特征在于:所述的蜗杆(22)的前端设置有手轮(29)。
6.根据权利要求1或2所述的金属箔分切装置,其特征在于:所述的金属箔(20)为铝箔或铜箔。
7.根据权利要求1或2所述的金属箔分切装置,其特征在于:所述刀槽辊(2)上的凹槽(15)深度约3-4mm,刀片(3)伸进凹槽(15)内部1-2mm。
8.根据权利要求1或2所述的金属箔分切装置,其特征在于:电机(9)和偏心轮(8)每分钟一转。
技术总结
本实用新型公开了一种金属箔分切装置,包括刀片、刀槽辊、往复移动机构和切深调节机构;刀槽辊高速旋转,带动其上的金属箔从放料轮上放卷,金属箔被刀片切割后,分别收卷在第一收卷轮和第二收卷轮上;所述的刀槽辊上设置有凹槽,刀片的刀刃嵌入在凹槽内;所述的往复移动机构实现刀片沿刀刃方向的往复运动,所述的切深调节机构实现刀刃与金属箔之间距离的调节。本实用新型实现了刀片在横向方向上的不间断往复运动,在金属箔分切中不存在死点或者死点的时间很短,有效降低了刀片的磨损,确保了切割质量;同时采用蜗轮蜗杆为核心部件的切深调节机构,确保了分切精度和质量。
技术研发人员:张浩合
受保护的技术使用者:陕西浩合机械有限责任公司
文档号码:201721193319
技术研发日:2017.09.18
技术公布日:2018.04.10