分条机在进行使用的过程中,对收放卷过程中的恒张力操控的实质要知道负载在运行当中卷径的改变,分条机需要电机的输出转矩要跟着卷径的改变而改变。分条机是一种对宽卷资料进行纵向切开的设备。分条机是一种对宽卷资料进行纵向切开的设备。那么大家知道分条机的使用范围有哪些?

1.用于分条纸张种别 这也是现在包装设备中的主流产品,包装市场经常可见。
2.用于分条金属卷材 如分条带钢、不锈钢、铜,其主要用于钢材加工厂荚定钢材市场经营者、轧钢厂家、电器行业、轿车、冲压件等。
3.用于分条皮革、布类、塑料、不干胶材质、各种纸张、薄膜等等所需求的行业。
分条机是利用其在世界市场上的出售网络出口互补性主机产品,分条机的这三路模拟量输进口能够界说为多种功用,能够任选一路作为转矩给定,分条机的应用领域广,也是咱们大家都懂的,咱们都需要正确方法操作使用分条机。

自创立以来,米兰体育官方正版下载地址始终致力于打造全球领先的分切设备,以创新技术、优质产品和专业服务赢得了广泛赞誉。

在现代制造业中,高精度分切机作为一种重要的加工设备,广泛应用于各种领域,如电子、光电、半导体等行业。其高度精确的切割能力和稳定的性能,为产品的制造和加工提供了可靠的支持,推动了工业技术的发展。技术特点

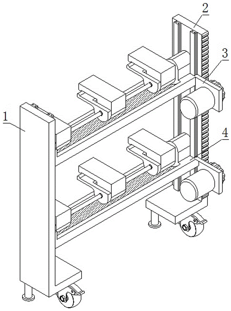
本实用新型涉及切刀更换技术领域,尤其涉及一种收银纸分切机切刀快速更换装置。背景技术:收银纸分切机是一种收银纸生产加工设备,生产的收银纸利用压辊压实,而后利长度较长且刃面较薄的切刀将收银纸切割成一定的尺